一种排盘机传动结构
【申请公布号:CN109733828A;申请权利人:安徽中乐食品机械有限公司;发明设计人:汪千明;】
摘要:
本发明公开了一种排盘机传动结构。涉及排盘机传动机构技术领域。本发明包括两水平安装板上安装的滑轨、滑块以及水平安装板一侧安装的同步带,同时同步带带动滑块在滑轨上滑动,进而带动竖直连接板在第一矩形孔道内滑动,并带动移动轴移动;竖直墙板间安装传送机构;传动机构包括传送皮带、移动轴结构、固定轴结构、张紧轴结构;传送皮带穿过移动轴结构、固定轴结构、张紧轴结构形成传送回路。本发明通过排盘机采用双悬臂结构提高传送带宽度,同时同步带从动轴上安装套设有弹簧的滑竿,保证同步带正反方向旋转时的张力,避免同步带方向反转时脱落,提高排盘机的稳定性、提高传送带宽度、满足更广泛的客户需求。
主权项:
1.一种排盘机传动结构,其特征在于,包括:两相互平行的竖直墙板(1);所述竖直墙板(1)一侧上部垂直连接水平安装板(2);两所述竖直墙板(1)间转动安装同步带主动轴(11);所述水平安装板(2)上固定两相互平行的水平滑轨(21);两所述水平滑轨(21)间水平安装板(2)上开设平行于水平滑轨(21)的第一矩形孔道(22);所述水平滑轨(21)上滑动匹配安装滑块(23);两所述滑块(23)通过竖直连接板(24)连接;两所述竖直连接板(24)通过穿过两第一矩形孔道(22)的水平连接板(25)连接;所述竖直连接板(24)从上到下顺序固定上限位板(241)和下卡接板(242);所述水平连接板(25)底面对称安装两竖板(251);两所述竖板(251)通过横板(252)垂直连接;两所述水平安装板(2)一端固定U形架(3);所述U形架(3)的侧壁上开设第二矩形孔道(31);两所述第二矩形孔道(31)间滑动安装同步带从动轴(32);所述同步带从动轴(32)上安装的带轮与同步带主动轴(11)上安装的带轮通过同步带(4)传动连接;所述同步带(4)表面均布的带齿与下卡接板(242)表面均布的卡齿匹配卡接;所述同步带(4)夹紧于上限位板(241)和下卡接板(242)之间;所述U形架(3)底板上滑动安装若干滑竿(33);所述滑竿(33)另一端与同步带从动轴(32)垂直连接;所述滑竿(33)上套设弹簧(34)且所述弹簧(34)位于同步带从动轴(32)与底板之间;两所述竖直墙板(1)间安装传送机构;所述传送机构包括传送皮带(5)、移动轴(51)、固定轴结构(52)、张紧轴(53);所述传送皮带(5)穿过移动轴(51)、固定轴结构(52)、张紧轴(53)形成传送回路;所述移动轴(51)转动在横板(252)一端;所述固定轴结构(52)与两竖直墙板(1)间安装的承托板(54)一端固定连接。
要求:
1.一种排盘机传动结构,其特征在于,包括:两相互平行的竖直墙板(1);
所述竖直墙板(1)一侧上部垂直连接水平安装板(2);两所述竖直墙板(1)间转动安装同步带主动轴(11);所述水平安装板(2)上固定两相互平行的水平滑轨(21);两所述水平滑轨(21)间水平安装板(2)上开设平行于水平滑轨(21)的第一矩形孔道(22);所述水平滑轨(21)上滑动匹配安装滑块(23);两所述滑块(23)通过竖直连接板(24)连接;两所述竖直连接板(24)通过穿过两第一矩形孔道(22)的水平连接板(25)连接;所述竖直连接板(24)从上到下顺序固定上限位板(241)和下卡接板(242);所述水平连接板(25)底面对称安装两竖板(251);两所述竖板(251)通过横板(252)垂直连接;
两所述水平安装板(2)一端固定U形架(3);所述U形架(3)的侧壁上开设第二矩形孔道(31);两所述第二矩形孔道(31)间滑动安装同步带从动轴(32);所述同步带从动轴(32)上安装的带轮与同步带主动轴(11)上安装的带轮通过同步带(4)传动连接;所述同步带(4)表面均布的带齿与下卡接板(242)表面均布的卡齿匹配卡接;所述同步带(4)夹紧于上限位板(241)和下卡接板(242)之间;
所述U形架(3)底板上滑动安装若干滑竿(33);所述滑竿(33)另一端与同步带从动轴(32)垂直连接;所述滑竿(33)上套设弹簧(34)且所述弹簧(34)位于同步带从动轴(32)与底板之间;
两所述竖直墙板(1)间安装传送机构;所述传送机构包括传送皮带(5)、移动轴(51)、固定轴结构(52)、张紧轴(53);所述传送皮带(5)穿过移动轴(51)、固定轴结构(52)、张紧轴(53)形成传送回路;所述移动轴(51)转动在横板(252)一端;所述固定轴结构(52)与两竖直墙板(1)间安装的承托板(54)一端固定连接。
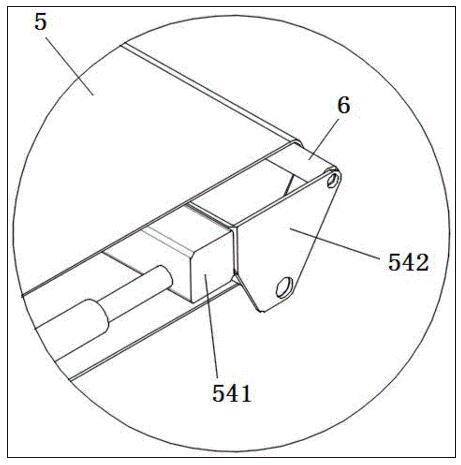
2.根据权利要求1所述的一种排盘机传动结构,其特征在于,所述承托板(54)一端固定安装固定板(541);所述固定板(541)一侧面并排安装U形支架(542);所述U形支架(542)的侧壁有一斜边;两所述侧壁间斜边上下两端分别转动安装小轴(6);位于所述斜边上端的若干小轴(6)同轴心构成上固定轴;位于所述斜边下端的若干小轴(6)同轴心构成下固定轴。
3.根据权利要求1所述的一种排盘机传动结构,其特征在于,两所述竖直墙板(1)间转动安装第一换向轴(543);所述竖直墙板(1)上竖直开设若干相互平行的第三矩形孔道(12);所述第三矩形孔道(12)内滑动安装第二换向轴(543);位于所述第三矩形孔道(12)两侧,两所述竖直墙板(1)间转动安装第三换向轴(544);所述张紧轴(53)位于所述第一换向轴(543)正下方。
一种排盘机传动结构
技术领域
本发明属于排盘机传动机构技术领域,特别是涉及一种排盘机传动结构。
背景技术
现有排盘机都是单悬臂机构,针对较宽的输送带,单悬臂结构不能长期有效的工作。传动中都是采用链条式传动,目前市场上成型设备越来越大,对排盘机的工作宽度要求较高,传统的200mm之内的传送带宽度不能满足市场需求,需研制800mm宽度甚至更宽宽度的排盘机。但由于单悬臂机构的限制,皮带宽度有限,不能满足现有需求。
本发明致力于研发一种排盘机传动结构,采用双悬臂结构并且设置缓冲结构避免同步带脱落,提高排盘机的稳定性、提高传送带宽度、提高客户需求。
发明内容
本发明的目的在于提供一种排盘机传动结构,通过排盘机采用双悬臂结构提高传送带宽度,同时同步带从动轴上安装套设有弹簧的滑竿,保证同步带正反方向旋转时的张力,避免同步带方向反转时脱落,解决了现有的单悬臂排盘机传送带宽度局限以及同步带正反转易脱落问题。
为解决上述技术问题,本发明是通过以下技术方案实现的:
本发明为一种排盘机传动结构,包括:两相互平行的竖直墙板;
所述竖直墙板一侧上部垂直连接水平安装板;两所述竖直墙板间转动安装同步带主动轴;所述水平安装板上固定两相互平行的水平滑轨;两所述水平滑轨间水平安装板上开设平行于水平滑轨的第一矩形孔道;所述水平滑轨上滑动匹配安装滑块;两所述滑块通过竖直连接板连接;两所述竖直连接板通过穿过两第一矩形孔道的水平连接板连接;所述竖直连接板从上到下顺序固定上限位板和下卡接板;所述水平连接板底面对称安装两竖板;两所述竖板通过横板垂直连接;
两所述水平安装板一端固定U形架;所述U形架的侧壁上开设第二矩形孔道;两所述第二矩形孔道间滑动安装同步带从动轴;所述同步带从动轴上安装的带轮与同步带主动轴上安装的带轮通过同步带传动连接;所述同步带表面均布的带齿与下卡接板表面均布的卡齿匹配卡接;所述同步带夹紧于上限位板和下卡接板之间;所述上限位板和下卡接板间还通过螺钉紧固,当同步带往返转动时,带动竖直连接板在第一矩形孔道内往返滑动;
所述U形架底板上滑动安装若干滑竿;所述滑竿另一端与同步带从动轴垂直连接;所述滑竿上套设弹簧且所述弹簧位于同步带从动轴与底板之间;当同步带正反旋转的时候,所述同步带从动轴在第二矩形孔道内滑动,同步带从动轴挤压弹簧,弹簧的缓冲作用,保证同步带的张力,避免同步带脱落,提高整个排盘机传动机构的稳定性;
两所述竖直墙板间安装传送机构;所述传送机构包括传送皮带、移动轴、固定轴结构、张紧轴;所述传送皮带穿过移动轴、固定轴结构、张紧轴形成传送回路;所述移动轴转动在横板一端;所述固定轴结构与两竖直墙板间安装的承托板一端固定连接。
优选地,所述承托板一端固定安装固定板;所述固定板一侧面并排安装 U形支架;所述U形支架的侧壁有一斜边;两所述侧壁间斜边上下两端分别转动安装小轴;位于所述斜边上端的若干小轴同轴心构成上固定轴;位于所述斜边下端的若干小轴同轴心构成下固定轴。
优选地,两所述竖直墙板间转动安装第一换向轴;所述竖直墙板上竖直开设若干相互平行的第三矩形孔道;所述第三矩形孔道内滑动安装第二换向轴;位于所述第三矩形孔道两侧,两所述竖直墙板间转动安装第三换向轴;所述张紧轴位于所述第一换向轴正下方。
本发明具有以下有益效果:
本发明通过排盘机采用双悬臂结构提高传送带宽度,同时同步带从动轴上安装套设有弹簧的滑竿,保证同步带正反方向旋转时的张力,避免同步带方向反转时脱落,提高排盘机的稳定性、提高传送带宽度、满足更广泛的客户需求。
当然,实施本发明的任一产品并不一定需要同时达到以上所述的所有优点。
附图说明
为了更清楚地说明本发明实施例的技术方案,下面将对实施例描述所需要使用的附图作简单地介绍,显而易见地,下面描述中的附图仅仅是本发明的一些实施例,对于本领域普通技术人员来讲,在不付出创造性劳动的前提下,还可以根据这些附图获得其他的附图。

图1为本发明一种排盘机传动结构的结构示意图;

图2为图1中A的放大图;

图3为图1中B的放大图;

图4为图1中C的放大图;

图5为图1中D的放大图;

图6为本发明一种排盘机传动结构不安装竖直墙板的结构示意图;

图7为图6中E的放大图。
具体实施方式
下面将结合本发明实施例中的附图,对本发明实施例中的技术方案进行清楚、完整地描述,显然,所描述的实施例仅仅是本发明一部分实施例,而不是全部的实施例。基于本发明中的实施例,本领域普通技术人员在没有作出创造性劳动前提下所获得的所有其它实施例,都属于本发明保护的范围。
在本发明的描述中,需要理解的是,术语“上”、“下”、“中”、“内”等指示方位或位置关系,仅是为了便于描述本发明和简化描述,而不是指示或暗示所指的组件或元件必须具有特定的方位,以特定的方位构造和操作,因此不能理解为对本发明的限制。
请参阅图1-7所示,本发明为一种排盘机传动结构,包括:两相互平行的竖直墙板1;
竖直墙板1一侧上部垂直连接水平安装板2;两竖直墙板1间转动安装同步带主动轴11;水平安装板2上固定两相互平行的水平滑轨21;两水平滑轨21间水平安装板2上开设平行于水平滑轨21的第一矩形孔道22;水平滑轨21上滑动匹配安装滑块23;两滑块23通过竖直连接板24连接;两竖直连接板24通过穿过两第一矩形孔道22的水平连接板25连接;竖直连接板 24从上到下顺序固定上限位板241和下卡接板242;水平连接板25底面对称安装两竖板251;两竖板251通过横板252垂直连接;
两水平安装板2一端固定U形架3;U形架3的侧壁上开设第二矩形孔道31;两第二矩形孔道31间滑动安装同步带从动轴32;同步带从动轴32 上安装的带轮与同步带主动轴11上安装的带轮通过同步带4传动连接;同步带4表面均布的带齿与下卡接板242表面均布的卡齿匹配卡接;同步带4夹紧于上限位板241和下卡接板242之间;上限位板241和下卡接板242间还通过螺钉紧固,当同步带4往返转动时,带动竖直连接板24在第一矩形孔道 22内往返滑动;
U形架3底板上滑动安装若干滑竿33;滑竿33另一端与同步带从动轴 32垂直连接;滑竿33上套设弹簧34且弹簧34位于同步带从动轴32与底板之间;当同步带4正反旋转的时候,同步带从动轴32在第二矩形孔道31内滑动,同步带4从动轴32挤压弹簧34,弹簧34的缓冲作用,保证同步带4 的张力,避免同步带4脱落,提高整个排盘机传动机构的稳定性;
两竖直墙板1间安装传送机构;传送机构包括传送皮带5、移动轴51、固定轴结构52、张紧轴53;传送皮带5穿过移动轴51、固定轴结构52、张紧轴53形成传送回路;移动轴51转动在横板252一端;固定轴结构52与两竖直墙板1间安装的承托板54一端固定连接。
其中,承托板54一端固定安装固定板541;固定板541一侧面并排安装 U形支架542;U形支架542的侧壁有一斜边;两侧壁间斜边上下两端分别转动安装小轴6;位于斜边上端的若干小轴6同轴心构成上固定轴;位于斜边下端的若干小轴6同轴心构成下固定轴。
其中,两竖直墙板1间转动安装第一换向轴543;竖直墙板1上竖直开设若干相互平行的第三矩形孔道12;第三矩形孔道12内滑动安装第二换向轴543;位于第三矩形孔道12两侧,两竖直墙板1间转动安装第三换向轴544;张紧轴53位于第一换向轴543正下方。
本发明在实际使用过程中,第三矩形孔道12的长度取决于第一矩形孔道 22的长度;其中,第一矩形孔道22的长度大于等于若干第三矩形孔道12长度之和。当同步带主动轴11转动时,带动同步带4转动,同步带4由于竖直连接板24上的上限位板241和下卡接板242的卡紧缘故,同步带4同时带动滑块23在水平滑轨21上滑动;同时带动横板252一端固定的移动轴水平移动;移动轴在水平向左移动的过程中传送带带动第三矩形孔道12内的第三换向轴543向上移动,保证整个传送带的稳定旋转。
当移动轴移动到最左侧时,同步带反向旋转,此时在同步带的带动下,同步带从动轴32在第二矩形孔道31内向右滑动,由于弹簧34张力的缓冲作用,避免同步带从动轴32在第二矩形孔道31内大幅度向右滑动,进而避免同步带滑落,造成整个传动机构不能稳定运行的情况,提高稳定性。当移动轴在同步带的带动下向右运动时,在传动带的带动下第三矩形孔道12内的第二换向轴543向下移动,实现传送带的往返运动。
在本说明书的描述中,参考术语“一个实施例”、“示例”、“具体示例”等的描述意指结合该实施例或示例描述的具体特征、结构、材料或者特点包含于本发明的至少一个实施例或示例中。在本说明书中,对上述术语的示意性表述不一定指的是相同的实施例或示例。而且,描述的具体特征、结构、材料或者特点可以在任何的一个或多个实施例或示例中以合适的方式结合。
以上公开的本发明优选实施例只是用于帮助阐述本发明。优选实施例并没有详尽叙述所有的细节,也不限制该发明仅为所述的具体实施方式。显然,根据本说明书的内容,可作很多的修改和变化。本说明书选取并具体描述这些实施例,是为了更好地解释本发明的原理和实际应用,从而使所属技术领域技术人员能很好地理解和利用本发明。本发明仅受权利要求书及其全部范围和等效物的限制。