应用案例
您当前的位置:产品应用
一种使折叠纸币展平的装置
一种使折叠纸币展平的装置
摘要:
本发明公开了一种使折叠纸币展平的装置,能够基于两同步带相互摩擦而使折叠纸币展平和多级差数搓辊除皱的装置,解决公交公司无法大量处理折叠纸币的问题,利用机械化使折叠纸币展平除皱整理,便于后续结合现有比较成熟的验钞整理技术进行钱币的分类、整理及清点,从而大大提高公交公司处理折叠纸币的效率,成本减低。本发明提供的一种使折叠纸币展平的装置,包括:投币组件、展平组件和出币组件;投币组件具有投币入口,设置于展平组件起始端的上方,用于为展平组件提供纸币;出币组件设置于展平组件的末端;展平组件包括上下设置的两条同步带,两条同步带相互接触,且转速不同。
主权项:
一种使折叠纸币展平的装置,其特征在于,包括:投币组件、展平组件和出币组件;所述投币组件具有投币入口,设置于所述展平组件起始端的上方,用于为所述展平组件提供纸币;所述出币组件设置于所述展平组件的末端;所述展平组件包括上下设置的两条同步带,所述两条同步带相互接触,且转速不同。
1.一种使折叠纸币展平的装置,其特征在于,包括:
投币组件、展平组件和出币组件;
所述投币组件具有投币入口,设置于所述展平组件起始端的上方,用于 为所述展平组件提供纸币;
所述出币组件设置于所述展平组件的末端;
所述展平组件包括上下设置的两条同步带,所述两条同步带相互接触, 且转速不同。
2.根据权利要求1所述的使折叠纸币展平的装置,其特征在于,
所述投币组件还包括限流滚轮,所述限流滚轮设置在轮座上,并位于所 述投币入口下方,所述滚轮径向开口,与所述投币入口对应;
所述滚轮还包括多数个隔板,所述隔板沿旋转轴心径向等分排列,所述 多数个隔板与轮壁围成多数个腔体。
3.根据权利要求2所述的使折叠纸币展平的装置,其特征在于,
两块隔板之间封口;
所述多数个腔体间隔封口。
4.根据权利要求2或3所述的使折叠纸币展平的装置,其特征在于,
所述投币入口设有检测器,用于检测是否有纸币投入,当有纸币投入时, 向控制器发送确认信号,再由控制器控制所述限流滚轮转动。
5.根据权利要求1所述的使折叠纸币展平的装置,其特征在于,
所述投币组件还包括投币通道,所述投币通道截面为矩形;
所述矩形的宽度不大于一元纸币的宽度;
所述通道中设有振动筛,所述振动筛一端固定,另一端能够绕轴摆动;
摆动角度在0°到90°之间。
6.根据权利要求5所述的使折叠纸币展平的装置,其特征在于,
所述振动筛与舵机连接,所述舵机安装在所述投币通道内,能够驱动所 述振动筛起振。
7.根据权利要求5所述的使折叠纸币展平的装置,其特征在于,
所述投币通道上端的横截面,大于下端的横截面。
8.根据权利要求1所述的使折叠纸币展平的装置,其特征在于,
所述出币组件包括出币通道和多组搓辊;
所述出币通道位于所述多组搓辊之间;
所述搓辊由上下交错设置的两个辊筒组成,且所述两个辊筒相互接触。
9.根据权利要求8所述的使折叠纸币展平的装置,其特征在于,
所述多组搓辊的转速递增。
10.根据权利要求1所述的使折叠纸币展平的装置,其特征在于,
所述出币组件与验钞机、收集盒和/或点钞机连接。
一种使折叠纸币展平的装置
技术领域
本发明涉及机械自动化领域,尤其涉及一种使折叠纸币展平的装置。
背景技术
近年来,各种钱币的分类、整理及清点的技术的发展日新月异,尤其是 硬币的分离和清点技术已经相当成熟,但在折叠纸币的展平整理方面的技术 还处于初级阶段。例如目前的公交公司,他们每天要对大量的折叠纸币进行 展平整理,而当前还没有一种相应的装置进行机械化整理,大都是靠人手进 行展平,这也使处理、分类、整理及清点纸币的效率低下,同时使雇佣成本 也比较高。
发明内容
本发明提供了一种使折叠纸币展平的装置,能够基于两同步带相互摩擦 而使折叠纸币展平和多级差数搓辊除皱的装置,解决公交公司无法大量处理 折叠纸币的问题,利用机械化使折叠纸币展平除皱整理,便于后续结合现有 比较成熟的验钞整理技术进行钱币的分类、整理及清点,从而大大提高公交 公司处理折叠纸币的效率,成本减低。
本发明提供的一种使折叠纸币展平的装置,包括:
投币组件、展平组件和出币组件;
投币组件具有投币入口,设置于展平组件起始端的上方,用于为展平组 件提供纸币;
出币组件设置于展平组件的末端;
展平组件包括上下设置的两条同步带,两条同步带相互接触,且转速不 同。
可选的,
投币组件还包括限流滚轮,限流滚轮设置在轮座上,并位于投币入口下 方,滚轮径向开口,与投币入口对应;
滚轮还包括多数个隔板,隔板沿旋转轴心径向等分排列,多数个隔板与 轮壁围成多数个腔体。
可选的,
两块隔板之间封口;
多数个腔体间隔封口。
可选的,
投币入口设有检测器,用于检测是否有纸币投入,当有纸币投入时,向 控制器发送确认信号,再由控制器控制所述限流滚轮转动。
可选的,
投币组件还包括投币通道,投币通道截面为矩形;
矩形的宽度不大于一元纸币的宽度;
通道中设有振动筛,振动筛一端固定,另一端能够绕轴摆动;
摆动角度在0°到90°之间。
可选的,
振动筛与舵机连接,舵机安装在投币通道内,能够驱动振动筛起振。
可选的,
通道上端的横截面,大于下端的横截面。
可选的,
出币组件包括出币通道和多组搓辊;
出币通道位于多组搓辊之间;
搓辊由上下交错设置的两个辊筒组成,且两个辊筒相互接触。
可选的,
多组搓辊的转速递增。
可选的,
出币组件与验钞机、收集盒和/或点钞机连接。
从以上技术方案可以看出,本发明实施例具有以下优点:
本发明中的
一种使折叠纸币展平的装置,包括:
投币组件、展平组件和出币组件;
投币组件具有投币入口,设置于展平组件起始端的上方,用于为展平组 件提供纸币;出币组件设置于展平组件的末端;展平组件包括上下设置的两 条同步带,两条同步带相互接触,且转速不同。纸币通过投币组件进入展平 组件,由于该装置上下两条同步带的速度不同,形成速度差,当纸币到达该 展平组件的前端时会被卷进两条同步带之间,借助摩擦力进行搓展,从而实 现将折叠的纸币展平的效果。
具体实施方式
本发明提供了一种使折叠纸币展平的装置,能够基于两同步带相互摩擦 而使折叠纸币展平和多级差数搓辊除皱的装置,解决公交公司无法大量处理 折叠纸币的问题,利用机械化使折叠纸币展平除皱整理,便于后续结合现有 比较成熟的验钞整理技术进行钱币的分类、整理及清点,从而大大提高公交 公司处理折叠纸币的效率,成本减低。
为了使本技术领域的人员更好地理解本发明方案,下面结合附1-图4和 具体实施方式对本发明作进一步的详细说明。
下面对本发明提供的一种使折叠纸币展平的装置第一实施例进行说明, 本发明中的使折叠纸币展平的装置具体包括:
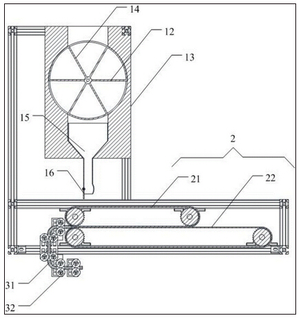
投币组件1、展平组件2和出币组件3;
投币组件1具有投币入口11,设置于展平组件2起始端的上方,用于为 展平组件2提供纸币;
出币组件3设置于展平组件2的末端;
展平组件2包括上下设置的两条同步带21和22,两条同步带相互接触, 且转速不同。
本实施例中,纸币通过投币组件1进入展平组件2,由于展平组件2具有 的上下两条同步带的速度不同,形成速度差,当纸币到达该展平组件2的前 端时,会被卷进两条同步,21和22之间,借助摩擦力进行搓展,从而实现将 折叠的纸币展平的效果。
本发明提供的一种使折叠纸币展平的装置第二实施例与第一实施例不同 之处在于:
投币组件1还包括限流滚轮12,限流滚轮12设置在轮座13上,并位于 投币入口11下方,滚轮径向开口,与投币入口11对应;
滚轮还包括多数个隔板14,隔板14沿旋转轴心径向等分排列,多数个隔 板14与轮壁围成多数个腔体。
下面以一个应用场景对上述各个部件之间的运作关系进行描述:
将折叠的纸币倒进投币入口11,投币入口11处可以设置红外传感器或者 超声波传感器,当感应到有纸币进入时,向PLC发送确认信号,PLC控制步 进电机带动限流滚轮12转动,该限流滚轮12可以由隔板14六等分,隔板14 与轮壁围成腔体,纸币从投币入口11直接落入该腔体内。随限流滚轮12转 动,当限流滚轮12对纸币的摩擦力小于纸币的重量时,纸币掉落。该限流滚 轮延长了纸币的下落时间,从而实现了限制了进入展平组件的纸币的数量。
需要说明的是,六个腔体中,可以有三个开口三个闭口间隔分布。折叠 的纸币被分成一份一份投入限流滚轮12,进一步实现了限流的功能。
本发明提供的一种使折叠纸币展平的装置第三实施例与第二实施例不同 在于:
投币组件还包括投币通道15,投币通道15截面为矩形;该矩形的宽度不 大于一元纸币的宽度;需要说明的是,该装置的处理对象主要是对公交车上 的纸币。由于公交车内的纸币最小面值为1元钱,因此以一元钱为标准。
若根据需要,该实施例也可以根据处理纸币面值的不同设置不同宽度的 通道。在此不作具体限定,凡是通过通道宽度限制纸币状态的方案均在本发 明的保护范围内。
投币通道15中设有振动筛16,振动筛16一端固定,另一端能够绕轴摆 动;摆动角度在0°到90°之间。
下面以一个应用场景对上述各个部件之间的运作关系进行描述:
折叠的纸币进入投币通道15后,由于投币通道15的宽度所限制,纸币 进入投币通道15后无法水平旋转。此时,舵机带动振动筛16起振,折叠的 纸币在振动下反复调整空间位置状态。其重心逐渐降低,最后使纸币的折痕 方向一致。此时,舵机控制振动筛16做90°摆动,振动筛16相当于开关的 作用,纸币没有振动筛16的支撑纷纷下落。
需要说明的是,展平组件2的两条同步带21和22的运动方向与下落后 的纸币的折痕方向垂直。从而使纸币更容易进入两个同步带之间,进一步提 高了展平步骤效率。
需要说明的是,该投币通道15还可以设置成漏斗状,即上端的横截面大 于下端的横截面。这种结构更容易使纸币下落后保持状态一致。
本发明提供的一种使折叠纸币展平的装置第四实施例与第三实施例不同 在于:
出币组件3包括出币通道31和多组搓辊32;
出币通道31位于多组搓辊32之间;
搓辊32由上下交错设置的两个辊筒组成,且两个辊筒相互接触。
纸币从展平组件2进入出币通道31,在多组搓辊32的作用下,达到拉伸 除皱的目的。最后纸币从折叠,折皱状态变成平整状态。其中多组搓辊的转 速可以逐级递增,进一步增强搓展效果。
出币组件3还可以与验钞机、收集盒和/或点钞机连接。从而实现纸币整 理的机械自动化。
所属领域的技术人员可以清楚地了解到,为描述的方便和简洁,上述描 述的系统的具体工作过程,可以参考前述方法实施例中的对应过程,在此不 再赘述。在本申请所提供的几个实施例中,应该理解到,所揭露的系统可以 通过其它的方式实现。
以上实施例仅用以说明本发明的技术方案,而非对其限制;尽管参照前 述实施例对本发明进行了详细的说明,本领域的普通技术人员应当理解:其 依然可以对前述各实施例所记载的技术方案进行修改,或者对其中部分技术 特征进行等同替换;而这些修改或者替换,并不使相应技术方案的本质脱离 本发明各实施例技术方案的精神和范围。
摘要:
本发明公开了一种使折叠纸币展平的装置,能够基于两同步带相互摩擦而使折叠纸币展平和多级差数搓辊除皱的装置,解决公交公司无法大量处理折叠纸币的问题,利用机械化使折叠纸币展平除皱整理,便于后续结合现有比较成熟的验钞整理技术进行钱币的分类、整理及清点,从而大大提高公交公司处理折叠纸币的效率,成本减低。本发明提供的一种使折叠纸币展平的装置,包括:投币组件、展平组件和出币组件;投币组件具有投币入口,设置于展平组件起始端的上方,用于为展平组件提供纸币;出币组件设置于展平组件的末端;展平组件包括上下设置的两条同步带,两条同步带相互接触,且转速不同。
主权项:
一种使折叠纸币展平的装置,其特征在于,包括:投币组件、展平组件和出币组件;所述投币组件具有投币入口,设置于所述展平组件起始端的上方,用于为所述展平组件提供纸币;所述出币组件设置于所述展平组件的末端;所述展平组件包括上下设置的两条同步带,所述两条同步带相互接触,且转速不同。
1.一种使折叠纸币展平的装置,其特征在于,包括:
投币组件、展平组件和出币组件;
所述投币组件具有投币入口,设置于所述展平组件起始端的上方,用于 为所述展平组件提供纸币;
所述出币组件设置于所述展平组件的末端;
所述展平组件包括上下设置的两条同步带,所述两条同步带相互接触, 且转速不同。
2.根据权利要求1所述的使折叠纸币展平的装置,其特征在于,
所述投币组件还包括限流滚轮,所述限流滚轮设置在轮座上,并位于所 述投币入口下方,所述滚轮径向开口,与所述投币入口对应;
所述滚轮还包括多数个隔板,所述隔板沿旋转轴心径向等分排列,所述 多数个隔板与轮壁围成多数个腔体。
3.根据权利要求2所述的使折叠纸币展平的装置,其特征在于,
两块隔板之间封口;
所述多数个腔体间隔封口。
4.根据权利要求2或3所述的使折叠纸币展平的装置,其特征在于,
所述投币入口设有检测器,用于检测是否有纸币投入,当有纸币投入时, 向控制器发送确认信号,再由控制器控制所述限流滚轮转动。
5.根据权利要求1所述的使折叠纸币展平的装置,其特征在于,
所述投币组件还包括投币通道,所述投币通道截面为矩形;
所述矩形的宽度不大于一元纸币的宽度;
所述通道中设有振动筛,所述振动筛一端固定,另一端能够绕轴摆动;
摆动角度在0°到90°之间。
6.根据权利要求5所述的使折叠纸币展平的装置,其特征在于,
所述振动筛与舵机连接,所述舵机安装在所述投币通道内,能够驱动所 述振动筛起振。
7.根据权利要求5所述的使折叠纸币展平的装置,其特征在于,
所述投币通道上端的横截面,大于下端的横截面。
8.根据权利要求1所述的使折叠纸币展平的装置,其特征在于,
所述出币组件包括出币通道和多组搓辊;
所述出币通道位于所述多组搓辊之间;
所述搓辊由上下交错设置的两个辊筒组成,且所述两个辊筒相互接触。
9.根据权利要求8所述的使折叠纸币展平的装置,其特征在于,
所述多组搓辊的转速递增。
10.根据权利要求1所述的使折叠纸币展平的装置,其特征在于,
所述出币组件与验钞机、收集盒和/或点钞机连接。
一种使折叠纸币展平的装置
技术领域
本发明涉及机械自动化领域,尤其涉及一种使折叠纸币展平的装置。
背景技术
近年来,各种钱币的分类、整理及清点的技术的发展日新月异,尤其是 硬币的分离和清点技术已经相当成熟,但在折叠纸币的展平整理方面的技术 还处于初级阶段。例如目前的公交公司,他们每天要对大量的折叠纸币进行 展平整理,而当前还没有一种相应的装置进行机械化整理,大都是靠人手进 行展平,这也使处理、分类、整理及清点纸币的效率低下,同时使雇佣成本 也比较高。
发明内容
本发明提供了一种使折叠纸币展平的装置,能够基于两同步带相互摩擦 而使折叠纸币展平和多级差数搓辊除皱的装置,解决公交公司无法大量处理 折叠纸币的问题,利用机械化使折叠纸币展平除皱整理,便于后续结合现有 比较成熟的验钞整理技术进行钱币的分类、整理及清点,从而大大提高公交 公司处理折叠纸币的效率,成本减低。
本发明提供的一种使折叠纸币展平的装置,包括:
投币组件、展平组件和出币组件;
投币组件具有投币入口,设置于展平组件起始端的上方,用于为展平组 件提供纸币;
出币组件设置于展平组件的末端;
展平组件包括上下设置的两条同步带,两条同步带相互接触,且转速不 同。
可选的,
投币组件还包括限流滚轮,限流滚轮设置在轮座上,并位于投币入口下 方,滚轮径向开口,与投币入口对应;
滚轮还包括多数个隔板,隔板沿旋转轴心径向等分排列,多数个隔板与 轮壁围成多数个腔体。
可选的,
两块隔板之间封口;
多数个腔体间隔封口。
可选的,
投币入口设有检测器,用于检测是否有纸币投入,当有纸币投入时,向 控制器发送确认信号,再由控制器控制所述限流滚轮转动。
可选的,
投币组件还包括投币通道,投币通道截面为矩形;
矩形的宽度不大于一元纸币的宽度;
通道中设有振动筛,振动筛一端固定,另一端能够绕轴摆动;
摆动角度在0°到90°之间。
可选的,
振动筛与舵机连接,舵机安装在投币通道内,能够驱动振动筛起振。
可选的,
通道上端的横截面,大于下端的横截面。
可选的,
出币组件包括出币通道和多组搓辊;
出币通道位于多组搓辊之间;
搓辊由上下交错设置的两个辊筒组成,且两个辊筒相互接触。
可选的,
多组搓辊的转速递增。
可选的,
出币组件与验钞机、收集盒和/或点钞机连接。
从以上技术方案可以看出,本发明实施例具有以下优点:
本发明中的
一种使折叠纸币展平的装置,包括:
投币组件、展平组件和出币组件;
投币组件具有投币入口,设置于展平组件起始端的上方,用于为展平组 件提供纸币;出币组件设置于展平组件的末端;展平组件包括上下设置的两 条同步带,两条同步带相互接触,且转速不同。纸币通过投币组件进入展平 组件,由于该装置上下两条同步带的速度不同,形成速度差,当纸币到达该 展平组件的前端时会被卷进两条同步带之间,借助摩擦力进行搓展,从而实 现将折叠的纸币展平的效果。
附图说明
图1为本发明中一种使折叠纸币展平的装置实施例的结构图;
图2为图1的主视图;
图3为本发明中一种使折叠纸币展平的装置实施例的投币组件结构图;
具体实施方式
本发明提供了一种使折叠纸币展平的装置,能够基于两同步带相互摩擦 而使折叠纸币展平和多级差数搓辊除皱的装置,解决公交公司无法大量处理 折叠纸币的问题,利用机械化使折叠纸币展平除皱整理,便于后续结合现有 比较成熟的验钞整理技术进行钱币的分类、整理及清点,从而大大提高公交 公司处理折叠纸币的效率,成本减低。
为了使本技术领域的人员更好地理解本发明方案,下面结合附1-图4和 具体实施方式对本发明作进一步的详细说明。
下面对本发明提供的一种使折叠纸币展平的装置第一实施例进行说明, 本发明中的使折叠纸币展平的装置具体包括:
投币组件1、展平组件2和出币组件3;
投币组件1具有投币入口11,设置于展平组件2起始端的上方,用于为 展平组件2提供纸币;
出币组件3设置于展平组件2的末端;
展平组件2包括上下设置的两条同步带21和22,两条同步带相互接触, 且转速不同。
本实施例中,纸币通过投币组件1进入展平组件2,由于展平组件2具有 的上下两条同步带的速度不同,形成速度差,当纸币到达该展平组件2的前 端时,会被卷进两条同步,21和22之间,借助摩擦力进行搓展,从而实现将 折叠的纸币展平的效果。
本发明提供的一种使折叠纸币展平的装置第二实施例与第一实施例不同 之处在于:
投币组件1还包括限流滚轮12,限流滚轮12设置在轮座13上,并位于 投币入口11下方,滚轮径向开口,与投币入口11对应;
滚轮还包括多数个隔板14,隔板14沿旋转轴心径向等分排列,多数个隔 板14与轮壁围成多数个腔体。
下面以一个应用场景对上述各个部件之间的运作关系进行描述:
将折叠的纸币倒进投币入口11,投币入口11处可以设置红外传感器或者 超声波传感器,当感应到有纸币进入时,向PLC发送确认信号,PLC控制步 进电机带动限流滚轮12转动,该限流滚轮12可以由隔板14六等分,隔板14 与轮壁围成腔体,纸币从投币入口11直接落入该腔体内。随限流滚轮12转 动,当限流滚轮12对纸币的摩擦力小于纸币的重量时,纸币掉落。该限流滚 轮延长了纸币的下落时间,从而实现了限制了进入展平组件的纸币的数量。
需要说明的是,六个腔体中,可以有三个开口三个闭口间隔分布。折叠 的纸币被分成一份一份投入限流滚轮12,进一步实现了限流的功能。
本发明提供的一种使折叠纸币展平的装置第三实施例与第二实施例不同 在于:
投币组件还包括投币通道15,投币通道15截面为矩形;该矩形的宽度不 大于一元纸币的宽度;需要说明的是,该装置的处理对象主要是对公交车上 的纸币。由于公交车内的纸币最小面值为1元钱,因此以一元钱为标准。
若根据需要,该实施例也可以根据处理纸币面值的不同设置不同宽度的 通道。在此不作具体限定,凡是通过通道宽度限制纸币状态的方案均在本发 明的保护范围内。
投币通道15中设有振动筛16,振动筛16一端固定,另一端能够绕轴摆 动;摆动角度在0°到90°之间。
下面以一个应用场景对上述各个部件之间的运作关系进行描述:
折叠的纸币进入投币通道15后,由于投币通道15的宽度所限制,纸币 进入投币通道15后无法水平旋转。此时,舵机带动振动筛16起振,折叠的 纸币在振动下反复调整空间位置状态。其重心逐渐降低,最后使纸币的折痕 方向一致。此时,舵机控制振动筛16做90°摆动,振动筛16相当于开关的 作用,纸币没有振动筛16的支撑纷纷下落。
需要说明的是,展平组件2的两条同步带21和22的运动方向与下落后 的纸币的折痕方向垂直。从而使纸币更容易进入两个同步带之间,进一步提 高了展平步骤效率。
需要说明的是,该投币通道15还可以设置成漏斗状,即上端的横截面大 于下端的横截面。这种结构更容易使纸币下落后保持状态一致。
本发明提供的一种使折叠纸币展平的装置第四实施例与第三实施例不同 在于:
出币组件3包括出币通道31和多组搓辊32;
出币通道31位于多组搓辊32之间;
搓辊32由上下交错设置的两个辊筒组成,且两个辊筒相互接触。
纸币从展平组件2进入出币通道31,在多组搓辊32的作用下,达到拉伸 除皱的目的。最后纸币从折叠,折皱状态变成平整状态。其中多组搓辊的转 速可以逐级递增,进一步增强搓展效果。
出币组件3还可以与验钞机、收集盒和/或点钞机连接。从而实现纸币整 理的机械自动化。
所属领域的技术人员可以清楚地了解到,为描述的方便和简洁,上述描 述的系统的具体工作过程,可以参考前述方法实施例中的对应过程,在此不 再赘述。在本申请所提供的几个实施例中,应该理解到,所揭露的系统可以 通过其它的方式实现。
以上实施例仅用以说明本发明的技术方案,而非对其限制;尽管参照前 述实施例对本发明进行了详细的说明,本领域的普通技术人员应当理解:其 依然可以对前述各实施例所记载的技术方案进行修改,或者对其中部分技术 特征进行等同替换;而这些修改或者替换,并不使相应技术方案的本质脱离 本发明各实施例技术方案的精神和范围。
