应用案例
您当前的位置:产品应用
一种SLA3D打印机的双导轨皮带传送装置
一种SLA3D打印机的双导轨皮带传送装置
【授权公告号: CN206633421U ;申请权利人:深圳市金石三维打印科技有限公司;发明设计人:江泽星; 】
摘要:
本实用新型关于一种SLA3D打印机的双导轨皮带传送装置,通对称设置有两个导轨安装板,并在导轨安装板上设置直线导轨和滑块,同时设置伺服电机通过同步带驱动连接两光杆,两光杆分别驱动两导轨安装板上的传动皮带,再通过传动皮带连接皮带夹头驱动滑块移动,所以即使在不通电的情况,然可以根据工作的需求进行手动调试和维护,能大大提高工作效率,且有效提高运行的稳定性;同时结构更为简单,使用方便,有效节约成本。
主权项:
一种SLA3D打印机的双导轨皮带传送装置,其特征在于:包括两对称设置的导轨安装板、伺服电机、两光杆,所述伺服电机通过固定架设置在两导轨安装板间的前端,导轨安装板表面设置有直线导轨,直线导轨表面套接有滑块,伺服电机的机轴连接有主动轮,固定架上设置有两轴承座,两轴承座间设置有第一传动轮,主动轮和第一传动轮间通过同步带连接,所述光杆分别插接在两轴承座的两端与第一传动轮连接,导轨安装板的前后两端设置有轴承座,轴承座上设有第二传动轮,第二传动轮间套接有传动皮带,光杆的另一端插接在轴承座上与第二传动轮连接,传动皮带的表面固定设置有皮带夹头,皮带夹头与滑块固定连接。
1.一种SLA3D打印机的双导轨皮带传送装置,其特征在于:包括两对称设置的导轨安装板、伺服电机、两光杆,所述伺服电机通过固定架设置在两导轨安装板间的前端,导轨安装板表面设置有直线导轨,直线导轨表面套接有滑块,伺服电机的机轴连接有主动轮,固定架上设置有两轴承座,两轴承座间设置有第一传动轮,主动轮和第一传动轮间通过同步带连接,所述光杆分别插接在两轴承座的两端与第一传动轮连接,导轨安装板的前后两端设置有轴承座,轴承座上设有第二传动轮,第二传动轮间套接有传动皮带,光杆的另一端插接在轴承座上与第二传动轮连接,传动皮带的表面固定设置有皮带夹头,皮带夹头与滑块固定连接。
2.根据权利要求1所述的一种SLA3D打印机的双导轨皮带传送装置,其特征在于:还包括限位传感器,所述限位传感器设置在导轨安装板上轴承座的一侧,并与皮带夹头相接触。
一种SLA3D打印机的双导轨皮带传送装置
技术领域
本实用新型涉及皮带传送装置领域,尤指一种SLA3D打印机的双导轨皮带传送装置。
背景技术
3D打印(3DP)即快速成型技术的一种,它是一种以数字模型文件为基础,运用粉末状金属或塑料等可粘合材料,通过X Y Z轴逐层打印的方式来构造物体的技术。而现技术中,3D打印机中所使用的传送方式一般为单导轨丝杆传送或双导轨丝杆传送,单/双导轨丝杆传送需要通电的情况下才能进行调试与维护,操作不方便,造价成本也比较高,同时传动过程不稳定。
实用新型内容
为解决上述问题,本实用新型提供一种设有可不需要通电即可进行调试与维护,成本相对较低的,传输稳定的SLA3D打印机的双导轨皮带传送装置。
为实现上述目的,本实用新型采用的技术方案是:一种SLA3D打印机的双导轨皮带传送装置,其特征在于:包括两对称设置的导轨安装板、伺服电机、两光杆,所述伺服电机通过固定架设置在两导轨安装板间的前端,导轨安装板表面设置有直线导轨,直线导轨表面套接有滑块,伺服电机的机轴连接有主动轮,固定架上设置有两轴承座,两轴承座间设置有第一传动轮,主动轮和第一传动轮间通过同步带连接,所述光杆分别插接在两轴承座的两端与第一传动轮连接,导轨安装板的前后两端设置有轴承座,轴承座上设有第二传动轮,第二传动轮间套接有传动皮带,光杆的另一端插接在轴承座上与第二传动轮连接,传动皮带的表面固定设置有皮带夹头,皮带夹头与滑块固定连接。
具体地,还包括限位传感器,所述限位传感器设置在导轨安装板上轴承座的一侧,并与皮带夹头相接触。
本实用新型的有益效果在于:本实用新型通对称设置有两个导轨安装板,并在导轨安装板上设置直线导轨和滑块,同时设置伺服电机通过同步带驱动连接两光杆,两光杆分别驱动两导轨安装板上的传动皮带,再通过传动皮带连接皮带夹头驱动滑块移动,所以即使在不通电的情况,然可以根据工作的需求进行手动调试和维护,能大大提高工作效率,且有效提高运行的稳定性;同时结构更为简单,使用方便,有效节约成本。
附图说明

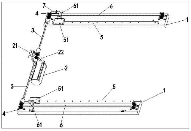
图1 是一种SLA3D打印机的双导轨皮带传送装置的结构图。
附图标号说明:1-导轨安装板;2-伺服电机;21-固定架;22-同步带;3-光杆;4-轴承座;5-直线导轨;51-滑块;6-传动皮带;61-皮带夹头;7-限位传感器。
具体实施方式
请参阅图1所示,一种SLA3D打印机的双导轨皮带传送装置,包括两对称设置的导轨安装板1、伺服电机2、两光杆3,所述伺服电机2通过固定架21设置在两导轨安装板1间的前端,导轨安装板1表面设置有直线导轨4,直线导轨5表面套接有滑块51,伺服电机2的机轴连接有主动轮,固定架21上设置有两轴承座4,两轴承座4间设置有第一传动轮,主动轮和第一传动轮间通过同步带22连接,所述光杆3分别插接在两轴承座4的两端与第一传动轮连接,导轨安装板1的前后两端设置有轴承座4,轴承座4上设有第二传动轮,第二传动轮间套接有传动皮带6,光杆3的另一端插接在轴承座4上与第二传动轮连接,传动皮带6的表面固定设置有皮带夹头61,皮带夹头61与滑块51固定连接。
相较于现有的技术,本实用新型通对称设置有两个导轨安装板1,并在导轨安装板1上设置直线导轨5和滑块51,同时设置伺服电机2通过同步带21驱动连接两光杆3,两光杆3分别驱动两导轨安装板1上的传动皮带6,再通过传动皮带6连接皮带夹头61驱动滑块51移动,所以即使在不通电的情况,然可以根据工作的需求进行手动调试和维护,能大大提高工作效率,且有效提高运行的稳定性;同时结构更为简单,使用方便,有效节约成本。
具体地,还包括限位传感器7,所述限位传感器7设置在导轨安装板1上轴承座4的一侧,并与皮带夹头61相接触。采用上述方案,通过设置有限位传感器7,且与皮带夹头61相接触,当皮带夹头61驱动滑块51移动至与限位传感器7相抵,则可通过限位传感器7控制伺服电机2停止运作,限制滑块51行程。
以上实施方式仅仅是对本实用新型的优选实施方式进行描述,并非对本实用新型的范围进行限定,在不脱离本实用新型设计精神的前提下,本领域普通工程技术人员对本实用新型的技术方案作出的各种变形和改进,均应落入本实用新型的权利要求书确定的保护范围内。
【授权公告号: CN206633421U ;申请权利人:深圳市金石三维打印科技有限公司;发明设计人:江泽星; 】
摘要:
本实用新型关于一种SLA3D打印机的双导轨皮带传送装置,通对称设置有两个导轨安装板,并在导轨安装板上设置直线导轨和滑块,同时设置伺服电机通过同步带驱动连接两光杆,两光杆分别驱动两导轨安装板上的传动皮带,再通过传动皮带连接皮带夹头驱动滑块移动,所以即使在不通电的情况,然可以根据工作的需求进行手动调试和维护,能大大提高工作效率,且有效提高运行的稳定性;同时结构更为简单,使用方便,有效节约成本。
主权项:
一种SLA3D打印机的双导轨皮带传送装置,其特征在于:包括两对称设置的导轨安装板、伺服电机、两光杆,所述伺服电机通过固定架设置在两导轨安装板间的前端,导轨安装板表面设置有直线导轨,直线导轨表面套接有滑块,伺服电机的机轴连接有主动轮,固定架上设置有两轴承座,两轴承座间设置有第一传动轮,主动轮和第一传动轮间通过同步带连接,所述光杆分别插接在两轴承座的两端与第一传动轮连接,导轨安装板的前后两端设置有轴承座,轴承座上设有第二传动轮,第二传动轮间套接有传动皮带,光杆的另一端插接在轴承座上与第二传动轮连接,传动皮带的表面固定设置有皮带夹头,皮带夹头与滑块固定连接。
1.一种SLA3D打印机的双导轨皮带传送装置,其特征在于:包括两对称设置的导轨安装板、伺服电机、两光杆,所述伺服电机通过固定架设置在两导轨安装板间的前端,导轨安装板表面设置有直线导轨,直线导轨表面套接有滑块,伺服电机的机轴连接有主动轮,固定架上设置有两轴承座,两轴承座间设置有第一传动轮,主动轮和第一传动轮间通过同步带连接,所述光杆分别插接在两轴承座的两端与第一传动轮连接,导轨安装板的前后两端设置有轴承座,轴承座上设有第二传动轮,第二传动轮间套接有传动皮带,光杆的另一端插接在轴承座上与第二传动轮连接,传动皮带的表面固定设置有皮带夹头,皮带夹头与滑块固定连接。
2.根据权利要求1所述的一种SLA3D打印机的双导轨皮带传送装置,其特征在于:还包括限位传感器,所述限位传感器设置在导轨安装板上轴承座的一侧,并与皮带夹头相接触。
一种SLA3D打印机的双导轨皮带传送装置
技术领域
本实用新型涉及皮带传送装置领域,尤指一种SLA3D打印机的双导轨皮带传送装置。
背景技术
3D打印(3DP)即快速成型技术的一种,它是一种以数字模型文件为基础,运用粉末状金属或塑料等可粘合材料,通过X Y Z轴逐层打印的方式来构造物体的技术。而现技术中,3D打印机中所使用的传送方式一般为单导轨丝杆传送或双导轨丝杆传送,单/双导轨丝杆传送需要通电的情况下才能进行调试与维护,操作不方便,造价成本也比较高,同时传动过程不稳定。
实用新型内容
为解决上述问题,本实用新型提供一种设有可不需要通电即可进行调试与维护,成本相对较低的,传输稳定的SLA3D打印机的双导轨皮带传送装置。
为实现上述目的,本实用新型采用的技术方案是:一种SLA3D打印机的双导轨皮带传送装置,其特征在于:包括两对称设置的导轨安装板、伺服电机、两光杆,所述伺服电机通过固定架设置在两导轨安装板间的前端,导轨安装板表面设置有直线导轨,直线导轨表面套接有滑块,伺服电机的机轴连接有主动轮,固定架上设置有两轴承座,两轴承座间设置有第一传动轮,主动轮和第一传动轮间通过同步带连接,所述光杆分别插接在两轴承座的两端与第一传动轮连接,导轨安装板的前后两端设置有轴承座,轴承座上设有第二传动轮,第二传动轮间套接有传动皮带,光杆的另一端插接在轴承座上与第二传动轮连接,传动皮带的表面固定设置有皮带夹头,皮带夹头与滑块固定连接。
具体地,还包括限位传感器,所述限位传感器设置在导轨安装板上轴承座的一侧,并与皮带夹头相接触。
本实用新型的有益效果在于:本实用新型通对称设置有两个导轨安装板,并在导轨安装板上设置直线导轨和滑块,同时设置伺服电机通过同步带驱动连接两光杆,两光杆分别驱动两导轨安装板上的传动皮带,再通过传动皮带连接皮带夹头驱动滑块移动,所以即使在不通电的情况,然可以根据工作的需求进行手动调试和维护,能大大提高工作效率,且有效提高运行的稳定性;同时结构更为简单,使用方便,有效节约成本。
附图说明

图1 是一种SLA3D打印机的双导轨皮带传送装置的结构图。
附图标号说明:1-导轨安装板;2-伺服电机;21-固定架;22-同步带;3-光杆;4-轴承座;5-直线导轨;51-滑块;6-传动皮带;61-皮带夹头;7-限位传感器。
具体实施方式
请参阅图1所示,一种SLA3D打印机的双导轨皮带传送装置,包括两对称设置的导轨安装板1、伺服电机2、两光杆3,所述伺服电机2通过固定架21设置在两导轨安装板1间的前端,导轨安装板1表面设置有直线导轨4,直线导轨5表面套接有滑块51,伺服电机2的机轴连接有主动轮,固定架21上设置有两轴承座4,两轴承座4间设置有第一传动轮,主动轮和第一传动轮间通过同步带22连接,所述光杆3分别插接在两轴承座4的两端与第一传动轮连接,导轨安装板1的前后两端设置有轴承座4,轴承座4上设有第二传动轮,第二传动轮间套接有传动皮带6,光杆3的另一端插接在轴承座4上与第二传动轮连接,传动皮带6的表面固定设置有皮带夹头61,皮带夹头61与滑块51固定连接。
相较于现有的技术,本实用新型通对称设置有两个导轨安装板1,并在导轨安装板1上设置直线导轨5和滑块51,同时设置伺服电机2通过同步带21驱动连接两光杆3,两光杆3分别驱动两导轨安装板1上的传动皮带6,再通过传动皮带6连接皮带夹头61驱动滑块51移动,所以即使在不通电的情况,然可以根据工作的需求进行手动调试和维护,能大大提高工作效率,且有效提高运行的稳定性;同时结构更为简单,使用方便,有效节约成本。
具体地,还包括限位传感器7,所述限位传感器7设置在导轨安装板1上轴承座4的一侧,并与皮带夹头61相接触。采用上述方案,通过设置有限位传感器7,且与皮带夹头61相接触,当皮带夹头61驱动滑块51移动至与限位传感器7相抵,则可通过限位传感器7控制伺服电机2停止运作,限制滑块51行程。
以上实施方式仅仅是对本实用新型的优选实施方式进行描述,并非对本实用新型的范围进行限定,在不脱离本实用新型设计精神的前提下,本领域普通工程技术人员对本实用新型的技术方案作出的各种变形和改进,均应落入本实用新型的权利要求书确定的保护范围内。
