应用案例
您当前的位置:产品应用
一种无接触点数机
一种无接触点数机
【申请公布号:CN107423807A;申请权利人:上海隆跃实业有限公司; 发明设计人: 高敏明;】
摘要:
本发明公开了一种检测纸张形状媒体的无接触点数机,其包括光电探头、气泵出气管、控制箱、马达、同步带、点数模块、放料盘、计数器、机架、马达同步带轮、从动同步带轮、导轨、马达支架;本发明由于采用压缩气体吹散被点媒体并且使其分散,因而此点数机使用范围更加广泛,适合多种大小的纸张形状被点数的媒体;本发明实现了检测装置与被点数的媒体无接触计数,不损伤被点数的媒体,并且本身使用寿命更长;本发明的从动同步带轮可以移动左右安装位置,解决了同步带的长时间使用后需要张紧的问题;本发明的点数窗口为可以调节点数范围的活动窗,因此具有更广泛的点数范围。
主权项:
一种无接触点数机,其特征在于:其包括光电探头(1)、气泵出气管(2)、控制箱(3)、马达(4)、同步带(5)、点数模块(6)、放料盘(7)、计数器(8)、机架(9)、马达同步带轮(10)、从动同步带轮(11)、导轨(12)、马达支架(13);所述机架(9)设置有隔断面板(91),所述隔断面板(91)上设置有点数窗口(911);所述控制箱(3)安装在隔断面板(91)前部右侧;所述放料盘(7)安装在隔断面板(91)前部,并且位于点数窗口(911)下方;所述马达(4)安装在马达支架(13)上,马达支架(13)安装在隔断面板(91)后部;所述计数器(8)安装在隔断面板(91)上部;所述马达同步带轮(10)安装在马达(4)的轴端上,所述同步带(5)安装在马达同步带轮(10)与从动同步带轮(11)上;所述导轨(12)安装在隔断面板(91)后部,并且位于点数窗口(911)下方;所述点数模块(6)安装在导轨(12)上并且与同步带(5)相连;所述光电探头(1)、气泵出气管(2)穿过点数模块(6)并且位于点数窗口(911)之内。
要求:
1.一种无接触点数机,其特征在于:其包括光电探头(1)、气泵出气管(2)、控制箱(3)、马达(4)、同步带(5)、点数模块(6)、放料盘(7)、计数器(8)、机架(9)、马达同步带轮(10)、从动同步带轮(11)、导轨(12)、马达支架(13);
所述机架(9)设置有隔断面板(91),所述隔断面板(91)上设置有点数窗口(911);所述控制箱(3)安装在隔断面板(91)前部右侧;所述放料盘(7)安装在隔断面板(91)前部,并且位于点数窗口(911)下方;所述马达(4)安装在马达支架(13)上,马达支架(13)安装在隔断面板(91)后部;所述计数器(8)安装在隔断面板(91)上部;
所述马达同步带轮(10)安装在马达(4)的轴端上,所述同步带(5)安装在马达同步带轮(10)与从动同步带轮(11)上;所述导轨(12)安装在隔断面板(91)后部,并且位于点数窗口(911)下方;所述点数模块(6)安装在导轨(12)上并且与同步带(5)相连;所述光电探头(1)、气泵出气管(2)穿过点数模块(6)并且位于点数窗口(911)之内。
2. 根据权利要求1所述的一种无接触点数机,其特征在于:所述点数窗口(911)为可以调节点数范围的活动窗。
3. 根据权利要求1所述的一种无接触点数机,其特征在于:所述气泵出气管(2)末端设置有出气喷嘴(21),出气喷嘴(21)形状符合伯努利方程。
4. 根据权利要求1所述的一种无接触点数机,其特征在于:所述马达(4)为伺服马达。
5. 根据权利要求4所述的一种无接触点数机,其特征在于:所述从动同步带轮(11)安装在隔断面板(91)上,并且安装位置可以左右移动。
一种无接触点数机
技术领域
本发明涉及检测纸张形状媒体的点数机,尤其涉及一种无接触点数机。
背景技术
目前市面上存在的检测纸张形状媒体的点数机大致分为三种:
第一种为货币的点数机,此类点数机局限于纸张的大小、厚度和材质。使用范围太狭窄。
第二种是以称重的方式来判断数量,此方法精度上存在很大的误差。
第三种是以分页的方式,通过把被点媒体一张张分流,然后靠光电和计数器的方式进行点数,此方法速度上比较慢,并且直接接触被点媒体,可能导致媒体损坏。
发明内容
本发明针对上述现有技术的不足,提供了用以检测纸张形状媒体的一种无接触点数机,采用光电和压缩空气、马达、同步带等的配合,实现了无接触不损坏被点媒体的精确点数。
为解决现有技术中存在的问题,采用的具体技术方案是:
一种无接触点数机,其包括光电探头、气泵出气管、控制箱、马达、同步带、点数模块、放料盘、计数器、机架、马达同步带轮、从动同步带轮、导轨、马达支架;
所述机架设置有隔断面板,所述隔断面板上设置有点数窗口;所述控制箱安装在隔断面板前部右侧;所述放料盘安装在隔断面板前部,并且位于点数窗口下方;所述马达安装在马达支架上,马达支架安装在隔断面板后部;所述计数器安装在隔断面板上部;
所述马达同步带轮安装在马达的轴端上,所述同步带安装在马达同步带轮与从动同步带轮上;所述导轨安装在隔断面板后部,并且位于点数窗口下方;所述点数模块安装在导轨上并且与同步带相连;所述光电探头、气泵出气管穿过点数模块并且位于点数窗口范围之内。
优选的技术方案,所述点数窗口为可以调节点数范围的活动窗。
进一步优选的技术方案,所述气泵出气管末端设置有出气喷嘴,出气喷嘴形状符合伯努利方程。
进一步优选的技术方案,所述马达为伺服马达。
再进一步优选的技术方案,所述从动同步带轮安装在隔断面板上,并且安装位置可以左右移动。
一种无接触点数机的实施过程为:
本点数机通过控制箱进行控制,在放料盘上放置被点媒体,通过马达和同步带带动点数模块使之快速的在被点媒体间移动,完成初始状态的检测;当被点媒体放置,并且初始检测完毕后,外接压缩空气通过气泵出气管经过出气喷嘴喷射出空气,使被点媒体均匀分散,同时光电探头工作,点数模块匀速移动,从而精确的分散和读取媒体,以达到精确点数的目的。
通过采用上述方案,本发明的一种无接触点数机与现有技术相比,其技术效果在于:
1. 本发明与目前市面上的三种点数机相比,由于采用压缩气体吹散被点媒体并且使其分散,因而此点数机使用范围更加广泛,适合多种大小的纸张形状被点数的媒体。
2. 本发明实现了检测装置与被点数的媒体无接触计数,不损伤被点数的媒体,并且本身使用寿命更长。
3. 本发明的从动同步带轮可以移动左右安装位置,解决了同步带的长时间使用后需要张紧的问题。
4. 本发明的点数窗口为可以调节点数范围的活动窗,因此具有更广泛的点数范围。
附图说明

图1为本发明一种无接触点数机的整体轴侧结构示意图;

图2为本发明一种无接触点数机的整体右视图结构示意图;

图3为本发明一种无接触点数机的整体前视图结构示意图;

图4为本发明一种无接触点数机的整体后视图结构示意图。
具体实施方式
为使本发明的目的、技术方案和优点更加清楚明了,下面结合具体实例并参照附图,对本发明进一步详细说明。应该理解,这些描述只是示例性的,而并非要限制本发明的范围。此外,在以下说明中,省略了对公知结构和技术的描述,以避免不必要地混淆本发明的概念。
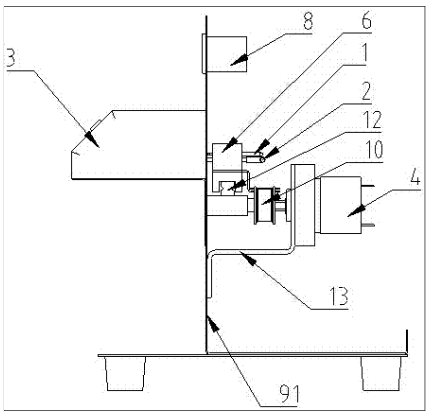
如图1、图2、图3、图4所示:一种无接触点数机,其包括光电探头1、气泵出气管2、控制箱3、马达4、同步带5、点数模块6、放料盘7、计数器8、机架9、马达同步带轮10、从动同步带轮11、导轨12、马达支架13;
所述机架9设置有隔断面板91,所述隔断面板91上设置有点数窗口911;所述控制箱3安装在隔断面板91前部右侧;所述放料盘7安装在隔断面板91前部,并且位于点数窗口911下方;所述马达4安装在马达支架13上,马达支架13安装在隔断面板91后部;所述计数器8安装在隔断面板(91)上部;
所述马达同步带轮10安装在马达4的轴端上,所述同步带5安装在马达同步带轮10与从动同步带轮11上;所述导轨12安装在隔断面板91后部,并且位于点数窗口911下方;所述点数模块6安装在导轨12上并且与同步带5相连;所述光电探头1、气泵出气管2穿过点数模块6并且位于点数窗口911范围之内;
所述点数窗口911为可以调节点数范围的活动窗;
所述气泵出气管2末端设置有出气喷嘴21,出气喷嘴21形状符合伯努利方程;
所述马达4为伺服马达;
所述从动同步带轮11安装在隔断面板91上,并且可以移动左右安装位置。
如图1、图2、图3、图4所示:
本点数机通过控制箱3进行控制,在放料盘7上放置被点媒体,通过马达4和同步带5带动点数模块6使之快速的在被点媒体间移动,完成初始状态的检测;当被点媒体放置,并且初始检测完毕后,外接压缩空气通过气泵出气管2经过出气喷嘴21喷射出空气,使被点媒体均匀分散,同时光电探头1工作,点数模块6匀速移动,从而精确的分散和读取媒体,以达到精确点数的目的。
以上所述仅为本发明的较佳实施例而已,并不用以限制本发明的保护范围,凡在本发明的精神和原则之内,所作的任何修改、等同替换、均包含在本发明的保护范围之内。
【申请公布号:CN107423807A;申请权利人:上海隆跃实业有限公司; 发明设计人: 高敏明;】
摘要:
本发明公开了一种检测纸张形状媒体的无接触点数机,其包括光电探头、气泵出气管、控制箱、马达、同步带、点数模块、放料盘、计数器、机架、马达同步带轮、从动同步带轮、导轨、马达支架;本发明由于采用压缩气体吹散被点媒体并且使其分散,因而此点数机使用范围更加广泛,适合多种大小的纸张形状被点数的媒体;本发明实现了检测装置与被点数的媒体无接触计数,不损伤被点数的媒体,并且本身使用寿命更长;本发明的从动同步带轮可以移动左右安装位置,解决了同步带的长时间使用后需要张紧的问题;本发明的点数窗口为可以调节点数范围的活动窗,因此具有更广泛的点数范围。
主权项:
一种无接触点数机,其特征在于:其包括光电探头(1)、气泵出气管(2)、控制箱(3)、马达(4)、同步带(5)、点数模块(6)、放料盘(7)、计数器(8)、机架(9)、马达同步带轮(10)、从动同步带轮(11)、导轨(12)、马达支架(13);所述机架(9)设置有隔断面板(91),所述隔断面板(91)上设置有点数窗口(911);所述控制箱(3)安装在隔断面板(91)前部右侧;所述放料盘(7)安装在隔断面板(91)前部,并且位于点数窗口(911)下方;所述马达(4)安装在马达支架(13)上,马达支架(13)安装在隔断面板(91)后部;所述计数器(8)安装在隔断面板(91)上部;所述马达同步带轮(10)安装在马达(4)的轴端上,所述同步带(5)安装在马达同步带轮(10)与从动同步带轮(11)上;所述导轨(12)安装在隔断面板(91)后部,并且位于点数窗口(911)下方;所述点数模块(6)安装在导轨(12)上并且与同步带(5)相连;所述光电探头(1)、气泵出气管(2)穿过点数模块(6)并且位于点数窗口(911)之内。
要求:
1.一种无接触点数机,其特征在于:其包括光电探头(1)、气泵出气管(2)、控制箱(3)、马达(4)、同步带(5)、点数模块(6)、放料盘(7)、计数器(8)、机架(9)、马达同步带轮(10)、从动同步带轮(11)、导轨(12)、马达支架(13);
所述机架(9)设置有隔断面板(91),所述隔断面板(91)上设置有点数窗口(911);所述控制箱(3)安装在隔断面板(91)前部右侧;所述放料盘(7)安装在隔断面板(91)前部,并且位于点数窗口(911)下方;所述马达(4)安装在马达支架(13)上,马达支架(13)安装在隔断面板(91)后部;所述计数器(8)安装在隔断面板(91)上部;
所述马达同步带轮(10)安装在马达(4)的轴端上,所述同步带(5)安装在马达同步带轮(10)与从动同步带轮(11)上;所述导轨(12)安装在隔断面板(91)后部,并且位于点数窗口(911)下方;所述点数模块(6)安装在导轨(12)上并且与同步带(5)相连;所述光电探头(1)、气泵出气管(2)穿过点数模块(6)并且位于点数窗口(911)之内。
2. 根据权利要求1所述的一种无接触点数机,其特征在于:所述点数窗口(911)为可以调节点数范围的活动窗。
3. 根据权利要求1所述的一种无接触点数机,其特征在于:所述气泵出气管(2)末端设置有出气喷嘴(21),出气喷嘴(21)形状符合伯努利方程。
4. 根据权利要求1所述的一种无接触点数机,其特征在于:所述马达(4)为伺服马达。
5. 根据权利要求4所述的一种无接触点数机,其特征在于:所述从动同步带轮(11)安装在隔断面板(91)上,并且安装位置可以左右移动。
一种无接触点数机
技术领域
本发明涉及检测纸张形状媒体的点数机,尤其涉及一种无接触点数机。
背景技术
目前市面上存在的检测纸张形状媒体的点数机大致分为三种:
第一种为货币的点数机,此类点数机局限于纸张的大小、厚度和材质。使用范围太狭窄。
第二种是以称重的方式来判断数量,此方法精度上存在很大的误差。
第三种是以分页的方式,通过把被点媒体一张张分流,然后靠光电和计数器的方式进行点数,此方法速度上比较慢,并且直接接触被点媒体,可能导致媒体损坏。
发明内容
本发明针对上述现有技术的不足,提供了用以检测纸张形状媒体的一种无接触点数机,采用光电和压缩空气、马达、同步带等的配合,实现了无接触不损坏被点媒体的精确点数。
为解决现有技术中存在的问题,采用的具体技术方案是:
一种无接触点数机,其包括光电探头、气泵出气管、控制箱、马达、同步带、点数模块、放料盘、计数器、机架、马达同步带轮、从动同步带轮、导轨、马达支架;
所述机架设置有隔断面板,所述隔断面板上设置有点数窗口;所述控制箱安装在隔断面板前部右侧;所述放料盘安装在隔断面板前部,并且位于点数窗口下方;所述马达安装在马达支架上,马达支架安装在隔断面板后部;所述计数器安装在隔断面板上部;
所述马达同步带轮安装在马达的轴端上,所述同步带安装在马达同步带轮与从动同步带轮上;所述导轨安装在隔断面板后部,并且位于点数窗口下方;所述点数模块安装在导轨上并且与同步带相连;所述光电探头、气泵出气管穿过点数模块并且位于点数窗口范围之内。
优选的技术方案,所述点数窗口为可以调节点数范围的活动窗。
进一步优选的技术方案,所述气泵出气管末端设置有出气喷嘴,出气喷嘴形状符合伯努利方程。
进一步优选的技术方案,所述马达为伺服马达。
再进一步优选的技术方案,所述从动同步带轮安装在隔断面板上,并且安装位置可以左右移动。
一种无接触点数机的实施过程为:
本点数机通过控制箱进行控制,在放料盘上放置被点媒体,通过马达和同步带带动点数模块使之快速的在被点媒体间移动,完成初始状态的检测;当被点媒体放置,并且初始检测完毕后,外接压缩空气通过气泵出气管经过出气喷嘴喷射出空气,使被点媒体均匀分散,同时光电探头工作,点数模块匀速移动,从而精确的分散和读取媒体,以达到精确点数的目的。
通过采用上述方案,本发明的一种无接触点数机与现有技术相比,其技术效果在于:
1. 本发明与目前市面上的三种点数机相比,由于采用压缩气体吹散被点媒体并且使其分散,因而此点数机使用范围更加广泛,适合多种大小的纸张形状被点数的媒体。
2. 本发明实现了检测装置与被点数的媒体无接触计数,不损伤被点数的媒体,并且本身使用寿命更长。
3. 本发明的从动同步带轮可以移动左右安装位置,解决了同步带的长时间使用后需要张紧的问题。
4. 本发明的点数窗口为可以调节点数范围的活动窗,因此具有更广泛的点数范围。
附图说明

图1为本发明一种无接触点数机的整体轴侧结构示意图;

图2为本发明一种无接触点数机的整体右视图结构示意图;

图3为本发明一种无接触点数机的整体前视图结构示意图;

图4为本发明一种无接触点数机的整体后视图结构示意图。
具体实施方式
为使本发明的目的、技术方案和优点更加清楚明了,下面结合具体实例并参照附图,对本发明进一步详细说明。应该理解,这些描述只是示例性的,而并非要限制本发明的范围。此外,在以下说明中,省略了对公知结构和技术的描述,以避免不必要地混淆本发明的概念。
如图1、图2、图3、图4所示:一种无接触点数机,其包括光电探头1、气泵出气管2、控制箱3、马达4、同步带5、点数模块6、放料盘7、计数器8、机架9、马达同步带轮10、从动同步带轮11、导轨12、马达支架13;
所述机架9设置有隔断面板91,所述隔断面板91上设置有点数窗口911;所述控制箱3安装在隔断面板91前部右侧;所述放料盘7安装在隔断面板91前部,并且位于点数窗口911下方;所述马达4安装在马达支架13上,马达支架13安装在隔断面板91后部;所述计数器8安装在隔断面板(91)上部;
所述马达同步带轮10安装在马达4的轴端上,所述同步带5安装在马达同步带轮10与从动同步带轮11上;所述导轨12安装在隔断面板91后部,并且位于点数窗口911下方;所述点数模块6安装在导轨12上并且与同步带5相连;所述光电探头1、气泵出气管2穿过点数模块6并且位于点数窗口911范围之内;
所述点数窗口911为可以调节点数范围的活动窗;
所述气泵出气管2末端设置有出气喷嘴21,出气喷嘴21形状符合伯努利方程;
所述马达4为伺服马达;
所述从动同步带轮11安装在隔断面板91上,并且可以移动左右安装位置。
如图1、图2、图3、图4所示:
本点数机通过控制箱3进行控制,在放料盘7上放置被点媒体,通过马达4和同步带5带动点数模块6使之快速的在被点媒体间移动,完成初始状态的检测;当被点媒体放置,并且初始检测完毕后,外接压缩空气通过气泵出气管2经过出气喷嘴21喷射出空气,使被点媒体均匀分散,同时光电探头1工作,点数模块6匀速移动,从而精确的分散和读取媒体,以达到精确点数的目的。
以上所述仅为本发明的较佳实施例而已,并不用以限制本发明的保护范围,凡在本发明的精神和原则之内,所作的任何修改、等同替换、均包含在本发明的保护范围之内。
