应用案例
					您当前的位置:产品应用
				
							一种卷绕机冷铆垫负薄机构						
	
						
							一种卷绕机冷铆垫负薄机构
【授权公告号:CN206689314U ;申请权利人:青岛海泰盛电子科技有限公司;发明设计人: 李龙俊; 郑海军;】
摘要:
本实用新型公开了一种卷绕机冷铆垫负薄机构,包括滑块,所述滑块上表面设有连接杆,所述连接杆上活动连接有连杆,所述连杆后表面上设有主齿轮,所述连杆通过主驱动曲轴与主齿轮相连接,所述主齿轮一侧设有减速齿轮,所述减速齿轮后表面连接有同步带轮,所述同步带轮一侧设有伺服电机。本实用新型的有益效果是,在效率方面可以提高,品质方面可以使铆合的时间可控、铆合的力量可控,并且可以根据需要设定,在传动方式上,不需要很传动机构,只需要简单并且节省空间即可。
主权项:
一种卷绕机冷铆垫负薄机构,包括滑块(1),其特征在于,所述滑块(1)上表面设有连接杆(2),所述连接杆(2)上活动连接有连杆(3),所述连杆(3)后表面上设有主齿轮(4),所述连杆(3)通过主驱动曲轴(5)与主齿轮(4)相连接,所述主齿轮(4)一侧设有减速齿轮(6),所述减速齿轮(6)后表面连接有同步带轮(7),所述同步带轮(7)一侧设有伺服电机(8)。
要求:
1.一种卷绕机冷铆垫负薄机构,包括滑块(1),其特征在于,所述滑块(1)上表面设有连接杆(2),所述连接杆(2)上活动连接有连杆(3),所述连杆(3)后表面上设有主齿轮(4),所述连杆(3)通过主驱动曲轴(5)与主齿轮(4)相连接,所述主齿轮(4)一侧设有减速齿轮(6),所述减速齿轮(6)后表面连接有同步带轮(7),所述同步带轮(7)一侧设有伺服电机(8)。
2.根据权利要求1所述的一种卷绕机冷铆垫负薄机构,其特征在于,所述主齿轮(4)与减速齿轮(6)之间相互啮合。
3.根据权利要求1所述的一种卷绕机冷铆垫负薄机构,其特征在于,所述滑块(1)与连接杆(2)的连接关系为活动连接。
4.根据权利要求1所述的一种卷绕机冷铆垫负薄机构,其特征在于,所述伺服电机(8)通过皮带(9)与同步带轮(7)相连接。
5.根据权利要求1所述的一种卷绕机冷铆垫负薄机构,其特征在于,所述伺服电机(8)每分钟可转16~20圈且卷纸可缠绕30~32个。
一种卷绕机冷铆垫负薄机构
技术领域
本实用新型涉及电容器和锂电池生产行业领域,特别是一种卷绕机冷铆垫负薄机构。
背景技术
卷绕机是化纤纺丝联合机组中的一种主要单元机;系指熔体纺丝时,用以使加工中所得到的初生纤维(包括长丝或短纤维丝束等)给予进一步的补充加工,并使之形成一定卷装形式的专用机械,在现有的技术中,铆接方式为冷铆,传动方式为机械杠杆结构,现有设备速度: 16~20π设备 18~20个/每分钟,但是生产速度慢,效率低,铆合的稳定性欠缺,一个产品循环的时间固定,不可调整,在保证品质的稳定性前提下,可以提高效率,根据设备的需要,可以随意设定时间和延长冷铆铆合的时间,同时与现有高速设备进行合理的搭配对接,为了解决这一问题,因此,设计一种卷绕机冷铆垫负薄机构很有必要。
实用新型内容
本实用新型的目的是为了解决上述问题,设计了一种卷绕机冷铆垫负薄机构。
实现上述目的本实用新型的技术方案为,一种卷绕机冷铆垫负薄机构,包括滑块,所述滑块上表面设有连接杆,所述连接杆上活动连接有连杆,所述连杆后表面上设有主齿轮,所述连杆通过主驱动曲轴与主齿轮相连接,所述主齿轮一侧设有减速齿轮,所述减速齿轮后表面连接有同步带轮,所述同步带轮一侧设有伺服电机。
所述主齿轮与减速齿轮之间相互啮合。
所述滑块与连接杆的连接关系为活动连接。
所述伺服电机通过皮带与同步带轮相连接。
所述伺服电机每分钟可转16~20圈且卷纸可缠绕30~32个。
利用本实用新型的技术方案制作的一种卷绕机冷铆垫负薄机构,本装置在效率方面可以提高,品质方面可以使铆合的时间可控、铆合的力量可控,并且可以根据需要设定,在传动方式上,不需要很传动机构,只需要简单并且节省空间即可。
附图说明

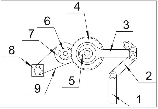
图1是本实用新型所述一种卷绕机冷铆垫负薄机构的结构示意图;
图中,1、滑块;2、连接杆;3、连杆;4、主齿轮;5、主驱动曲轴;6、减速齿轮;7、同步带轮;8、伺服电机;9、皮带。
具体实施方式
下面结合附图对本实用新型进行具体描述,如图1所示,一种卷绕机冷铆垫负薄机构,包括滑块(1),所述滑块(1)上表面设有连接杆(2),所述连接杆(2)上活动连接有连杆(3),所述连杆(3)后表面上设有主齿轮(4),所述连杆(3)通过主驱动曲轴(5)与主齿轮(4)相连接,所述主齿轮(4)一侧设有减速齿轮(6),所述减速齿轮(6)后表面连接有同步带轮(7),所述同步带轮(7)一侧设有伺服电机(8);所述主齿轮(4)与减速齿轮(6)之间相互啮合;所述滑块(1)与连接杆(2)的连接关系为活动连接;所述伺服电机(8)通过皮带(9)与同步带轮(7)相连接;所述伺服电机(8)每分钟可转16~20圈且卷纸可缠绕30~32个。
本实施方案的特点为,利用伺服电机和控制器设定可调的原理,将机械动作冷铆改为电气控制,伺服电机转动,通过皮带带动同步带轮转动,同步带轮前表面连接的减速齿轮也会在伺服电机的作用下转动,减速齿轮转动之后,带动与减速齿轮相互啮合的主齿轮转动,并且减速齿轮会根据装置的运动情况,进行调节主齿轮的转动速度,主齿轮通过主驱动曲轴与连杆相互连接,连杆通过连接杆与滑块之间活动连接,可以随时调节,本装置在效率方面可以提高,品质方面可以使铆合的时间可控、铆合的力量可控,并且可以根据需要设定,在传动方式上,不需要很传动机构,只需要简单并且节省空间即可。
在本实施方案中,包括滑块,滑块上表面设有连接杆,连接杆上活动连接有连杆,连杆后表面上设有主齿轮,连杆通过主驱动曲轴与主齿轮相连接,主齿轮一侧设有减速齿轮,减速齿轮后表面连接有同步带轮,同步带轮一侧设有伺服电机;主齿轮与减速齿轮之间相互啮合;滑块与连接杆的连接关系为活动连接;伺服电机通过皮带与同步带轮相连接;所述伺服电机每分钟可转16~20圈且卷纸可缠绕30~32个,在装置空闲处安装可编程的控制器和1台驱动器,以MAM-200的控制器为例,将该型号控制器的输出端通过导线与伺服电机的输入端相连接,本领域人员通过控制器编程后,完全可控制各个电器件的工作顺序,具体工作原理如下:通电后,操作型号为西门子200PLCCPU224XP的可编程的控制器,伺服电机转动,通过皮带带动同步带轮转动,同步带轮前表面连接的减速齿轮也会在伺服电机的作用下转动,减速齿轮转动之后,带动与减速齿轮相互啮合的主齿轮转动,并且减速齿轮会根据装置的运动情况,进行调节主齿轮的转动速度,主齿轮通过主驱动曲轴与连杆相互连接,连杆通过连接杆与滑块之间活动连接,可以随时调节。
实施案例2:把装置的皮带替换为同步带,其余的与实施案例1相同,也是可以达到同样的效果。
上述技术方案仅体现了本实用新型技术方案的优选技术方案,本技术领域的技术人员对其中某些部分所可能做出的一些变动均体现了本实用新型的原理,属于本实用新型的保护范围之内。
	
						
					【授权公告号:CN206689314U ;申请权利人:青岛海泰盛电子科技有限公司;发明设计人: 李龙俊; 郑海军;】
摘要:
本实用新型公开了一种卷绕机冷铆垫负薄机构,包括滑块,所述滑块上表面设有连接杆,所述连接杆上活动连接有连杆,所述连杆后表面上设有主齿轮,所述连杆通过主驱动曲轴与主齿轮相连接,所述主齿轮一侧设有减速齿轮,所述减速齿轮后表面连接有同步带轮,所述同步带轮一侧设有伺服电机。本实用新型的有益效果是,在效率方面可以提高,品质方面可以使铆合的时间可控、铆合的力量可控,并且可以根据需要设定,在传动方式上,不需要很传动机构,只需要简单并且节省空间即可。
主权项:
一种卷绕机冷铆垫负薄机构,包括滑块(1),其特征在于,所述滑块(1)上表面设有连接杆(2),所述连接杆(2)上活动连接有连杆(3),所述连杆(3)后表面上设有主齿轮(4),所述连杆(3)通过主驱动曲轴(5)与主齿轮(4)相连接,所述主齿轮(4)一侧设有减速齿轮(6),所述减速齿轮(6)后表面连接有同步带轮(7),所述同步带轮(7)一侧设有伺服电机(8)。
要求:
1.一种卷绕机冷铆垫负薄机构,包括滑块(1),其特征在于,所述滑块(1)上表面设有连接杆(2),所述连接杆(2)上活动连接有连杆(3),所述连杆(3)后表面上设有主齿轮(4),所述连杆(3)通过主驱动曲轴(5)与主齿轮(4)相连接,所述主齿轮(4)一侧设有减速齿轮(6),所述减速齿轮(6)后表面连接有同步带轮(7),所述同步带轮(7)一侧设有伺服电机(8)。
2.根据权利要求1所述的一种卷绕机冷铆垫负薄机构,其特征在于,所述主齿轮(4)与减速齿轮(6)之间相互啮合。
3.根据权利要求1所述的一种卷绕机冷铆垫负薄机构,其特征在于,所述滑块(1)与连接杆(2)的连接关系为活动连接。
4.根据权利要求1所述的一种卷绕机冷铆垫负薄机构,其特征在于,所述伺服电机(8)通过皮带(9)与同步带轮(7)相连接。
5.根据权利要求1所述的一种卷绕机冷铆垫负薄机构,其特征在于,所述伺服电机(8)每分钟可转16~20圈且卷纸可缠绕30~32个。
一种卷绕机冷铆垫负薄机构
技术领域
本实用新型涉及电容器和锂电池生产行业领域,特别是一种卷绕机冷铆垫负薄机构。
背景技术
卷绕机是化纤纺丝联合机组中的一种主要单元机;系指熔体纺丝时,用以使加工中所得到的初生纤维(包括长丝或短纤维丝束等)给予进一步的补充加工,并使之形成一定卷装形式的专用机械,在现有的技术中,铆接方式为冷铆,传动方式为机械杠杆结构,现有设备速度: 16~20π设备 18~20个/每分钟,但是生产速度慢,效率低,铆合的稳定性欠缺,一个产品循环的时间固定,不可调整,在保证品质的稳定性前提下,可以提高效率,根据设备的需要,可以随意设定时间和延长冷铆铆合的时间,同时与现有高速设备进行合理的搭配对接,为了解决这一问题,因此,设计一种卷绕机冷铆垫负薄机构很有必要。
实用新型内容
本实用新型的目的是为了解决上述问题,设计了一种卷绕机冷铆垫负薄机构。
实现上述目的本实用新型的技术方案为,一种卷绕机冷铆垫负薄机构,包括滑块,所述滑块上表面设有连接杆,所述连接杆上活动连接有连杆,所述连杆后表面上设有主齿轮,所述连杆通过主驱动曲轴与主齿轮相连接,所述主齿轮一侧设有减速齿轮,所述减速齿轮后表面连接有同步带轮,所述同步带轮一侧设有伺服电机。
所述主齿轮与减速齿轮之间相互啮合。
所述滑块与连接杆的连接关系为活动连接。
所述伺服电机通过皮带与同步带轮相连接。
所述伺服电机每分钟可转16~20圈且卷纸可缠绕30~32个。
利用本实用新型的技术方案制作的一种卷绕机冷铆垫负薄机构,本装置在效率方面可以提高,品质方面可以使铆合的时间可控、铆合的力量可控,并且可以根据需要设定,在传动方式上,不需要很传动机构,只需要简单并且节省空间即可。
附图说明

图1是本实用新型所述一种卷绕机冷铆垫负薄机构的结构示意图;
图中,1、滑块;2、连接杆;3、连杆;4、主齿轮;5、主驱动曲轴;6、减速齿轮;7、同步带轮;8、伺服电机;9、皮带。
具体实施方式
下面结合附图对本实用新型进行具体描述,如图1所示,一种卷绕机冷铆垫负薄机构,包括滑块(1),所述滑块(1)上表面设有连接杆(2),所述连接杆(2)上活动连接有连杆(3),所述连杆(3)后表面上设有主齿轮(4),所述连杆(3)通过主驱动曲轴(5)与主齿轮(4)相连接,所述主齿轮(4)一侧设有减速齿轮(6),所述减速齿轮(6)后表面连接有同步带轮(7),所述同步带轮(7)一侧设有伺服电机(8);所述主齿轮(4)与减速齿轮(6)之间相互啮合;所述滑块(1)与连接杆(2)的连接关系为活动连接;所述伺服电机(8)通过皮带(9)与同步带轮(7)相连接;所述伺服电机(8)每分钟可转16~20圈且卷纸可缠绕30~32个。
本实施方案的特点为,利用伺服电机和控制器设定可调的原理,将机械动作冷铆改为电气控制,伺服电机转动,通过皮带带动同步带轮转动,同步带轮前表面连接的减速齿轮也会在伺服电机的作用下转动,减速齿轮转动之后,带动与减速齿轮相互啮合的主齿轮转动,并且减速齿轮会根据装置的运动情况,进行调节主齿轮的转动速度,主齿轮通过主驱动曲轴与连杆相互连接,连杆通过连接杆与滑块之间活动连接,可以随时调节,本装置在效率方面可以提高,品质方面可以使铆合的时间可控、铆合的力量可控,并且可以根据需要设定,在传动方式上,不需要很传动机构,只需要简单并且节省空间即可。
在本实施方案中,包括滑块,滑块上表面设有连接杆,连接杆上活动连接有连杆,连杆后表面上设有主齿轮,连杆通过主驱动曲轴与主齿轮相连接,主齿轮一侧设有减速齿轮,减速齿轮后表面连接有同步带轮,同步带轮一侧设有伺服电机;主齿轮与减速齿轮之间相互啮合;滑块与连接杆的连接关系为活动连接;伺服电机通过皮带与同步带轮相连接;所述伺服电机每分钟可转16~20圈且卷纸可缠绕30~32个,在装置空闲处安装可编程的控制器和1台驱动器,以MAM-200的控制器为例,将该型号控制器的输出端通过导线与伺服电机的输入端相连接,本领域人员通过控制器编程后,完全可控制各个电器件的工作顺序,具体工作原理如下:通电后,操作型号为西门子200PLCCPU224XP的可编程的控制器,伺服电机转动,通过皮带带动同步带轮转动,同步带轮前表面连接的减速齿轮也会在伺服电机的作用下转动,减速齿轮转动之后,带动与减速齿轮相互啮合的主齿轮转动,并且减速齿轮会根据装置的运动情况,进行调节主齿轮的转动速度,主齿轮通过主驱动曲轴与连杆相互连接,连杆通过连接杆与滑块之间活动连接,可以随时调节。
实施案例2:把装置的皮带替换为同步带,其余的与实施案例1相同,也是可以达到同样的效果。
上述技术方案仅体现了本实用新型技术方案的优选技术方案,本技术领域的技术人员对其中某些部分所可能做出的一些变动均体现了本实用新型的原理,属于本实用新型的保护范围之内。

