应用案例
您当前的位置:产品应用
一种用于自动裁布机的可脱布式针板组件
一种用于自动裁布机的可脱布式针板组件
【申请公布号:CN107571320A;申请权利人:中国船舶重工集团公司第七0五研究所;发明设计人: 梁敏; 窦渭江; 李教练; 白岚;】
摘要:
本发明提供了一种用于自动裁布机的可脱布式针板组件,涉及纺织设备领域,所述可脱布式针板组件包括挂布组件和脱布组件,针板通过针板连接板均匀设置在同步带上,同步带张紧在两个同步带轮上,同步带轮驱动同步带运动,脱布带位于布料和针板之间,和布料一起挂入针板后随同步带行进,布料和脱布带被脱布支撑导向脱离针板,脱布带经过脱针支撑后经导向支撑回转至同步带,脱布带张紧在脱针支撑、导向支撑和两个同步带轮之间;本发明可有效避免裁剪的较长布头挂断针板上的挂针,提高生产效率;针板同步带组件保证布料的卷边能挂在针板上,为纵切提供保证;对卷边的布料进行纵向裁剪,效率高且裁断精度更高,大大节省人工成本,提高裁剪质量。
主权项:
一种用于自动裁布机的可脱布式针板组件,其特征在于:所述用于自动裁布机的可脱布式针板组件包括两个挂布组件和两个脱布组件,挂布组件和脱布组件分别位于布料的两侧,所述挂布组件包括一个针板同步带组件和至少一个毛轮,针板同步带组件包括若干个针板和针板连接板以及一个同步带和两个同步带轮,所述针板通过针板连接板均匀设置在同步带上,相邻的两个针板之间存有间隙,所述同步带张紧在两个同步带轮上,同步带轮驱动同步带运动,布料从其中一个同步带轮一侧进入挂布组件,从另一个同步带轮一侧脱离挂布组件;所述脱布组件包括脱布带和脱布支撑,脱布带位于布料和针板之间,和布料一起挂入针板后随同步带行进,压布辊安装在同步带上方,保证布料和脱布带压紧在针板上;所述的脱布支撑为轴线平行于同步带轮的柱体,安装在布料脱离挂布组件一侧的同步带轮上方,位于脱布带和同步带之间,布料和脱布带在经过压布辊后被脱布支撑导向脱离针板,脱布带经过脱针支撑后经导向支撑回转至同步带,脱布带张紧在脱针支撑、导向支撑和两个同步带轮之间;所述毛轮位于同步带的上方,将挂入针板的待裁布料和脱布带
要求:
1.一种用于自动裁布机的可脱布式针板组件,其特征在于:
所述用于自动裁布机的可脱布式针板组件包括两个挂布组件和两个脱布组件,挂布组件和脱布组件分别位于布料的两侧,所述挂布组件包括一个针板同步带组件和至少一个毛轮,针板同步带组件包括若干个针板和针板连接板以及一个同步带和两个同步带轮,所述针板通过针板连接板均匀设置在同步带上,相邻的两个针板之间存有间隙,所述同步带张紧在两个同步带轮上,同步带轮驱动同步带运动,布料从其中一个同步带轮一侧进入挂布组件,从另一个同步带轮一侧脱离挂布组件;
所述脱布组件包括脱布带和脱布支撑,脱布带位于布料和针板之间,和布料一起挂入针板后随同步带行进,压布辊安装在同步带上方,保证布料和脱布带压紧在针板上;所述的脱布支撑为轴线平行于同步带轮的柱体,安装在布料脱离挂布组件一侧的同步带轮上方,位于脱布带和同步带之间,布料和脱布带在经过压布辊后被脱布支撑导向脱离针板,脱布带经过脱针支撑后经导向支撑回转至同步带,脱布带张紧在脱针支撑、导向支撑和两个同步带轮之间;
所述毛轮位于同步带的上方,将挂入针板的待裁布料和脱布带压入针板。
2.根据权利要求1所述的一种用于自动裁布机的可脱布式针板组件,其特征在于:所述毛轮的数量为两个,先后安装在布料行进的方向上。
3.根据权利要求1所述的一种用于自动裁布机的可脱布式针板组件,其特征在于:所述脱布带为纯棉帆布带,厚度为1mm,宽度为15mm。
4.根据权利要求1所述的一种用于自动裁布机的可脱布式针板组件,其特征在于:
所述针板同步带组件中同步带上均匀设有若干个凸台,相邻两个凸台之间存有间隙,每个凸台上埋有金属螺纹孔,针板连接板通过螺钉固定在凸台上,针板通过螺栓固定在针板连接板上。
一种用于自动裁布机的可脱布式针板组件
技术领域
本发明涉及纺织设备领域,尤其是一种可脱布式针板组件。
背景技术
纺织业和服装行业在加工过程中经常会遇到弹性大的布料,这些布料经常会出现严重卷边。以绒毯为例,当前其裁断方法主要是使用人工进行裁断,卷边严重且弹性大的布料由工人纯手工使用剪刀进行;其次较容易裁断的,由工人将布料手工拉出,平整的堆叠成若干层,然后手动推动电剪刀完成裁断工作,其裁断效率和裁断精度低下。
针对上述问题,市场上出现一些了自动化裁断设备,主要有如下几种:
第一种:使用一排夹子夹住布头,使用电机拖动至需要的长度进行裁断。该方法只能完成布料的纬向裁断,无法满足径向裁断的需求。
第二种:通过拉布辊的旋转将布料拉出所需裁断的长度,然后使用激光对其进行纬向裁断,径向裁断简单的使用裁刀进行。该方法可同时完成对布料的径向纬向裁断,但是该方法无法完成对卷边布料的裁边工作,且由于使用激光裁断,导致一些化纤材料裁断后,出现明显的烧痕。
第三种:在布料定型机上增加裁剪功能,定型机主要是经过对布料加热、加湿及烘干使布料平整,最后通过增加的裁剪功能实现布匹边沿裁剪,但是设备工序复杂、价格高昂,不利于大范围推广。
市场上目前的设备不能满足对弹性大且卷边严重的布料进行高效、高质量进行裁剪。
对卷边布料进行裁边遇到的困难主要是:裁剪边沿时必须使布料径向保持张力,一般采用针板将布料挂住,然后用纵切刀进行裁边,但是裁下的布头会挂在针板上,如果布头在一个同步带运动周期内没有去除,会导致下一周期布边挂不上,更严重的是如果布头比较长,在同步带圆周运动范围内,会挂断针板上的挂针,或增加同步带牵引力,伺服驱动系统过载保护,导致停机。
发明内容
为了克服现有技术的不足,本发明提供一种用于自动裁布机的可脱布式针板组件,可脱布式针板组件可以保证将裁减掉的布头从针板上带出,避免针板上的挂针断裂,提高裁剪效率,而且对布料的边沿实现定宽度或定边沿宽度裁剪,不仅效率高,系统的稳定可靠性提高,而且裁断精度更高,大大节省人工成本。
本发明解决上述问题的技术方案是所述用于自动裁布机的可脱布式针板组件包括两个挂布组件和两个脱布组件,挂布组件和脱布组件分别位于布料的两侧,所述挂布组件包括一个针板同步带组件和至少一个毛轮,针板同步带组件包括若干个针板和针板连接板以及一个同步带和两个同步带轮,所述针板通过针板连接板均匀设置在同步带上,相邻的两个针板之间存有间隙,所述同步带张紧在两个同步带轮上,同步带轮驱动同步带运动,布料从其中一个同步带轮一侧进入挂布组件,从另一个同步带轮一侧脱离挂布组件;
所述脱布组件包括脱布带和脱布支撑,脱布带位于布料和针板之间,和布料一起挂入针板后随同步带行进,压布辊安装在同步带上方,保证布料和脱布带压紧在针板上;所述的脱布支撑为轴线平行于同步带轮的柱体,安装在布料脱离挂布组件一侧的同步带轮上方,位于脱布带和同步带之间,布料和脱布带在经过压布辊后被脱布支撑导向脱离针板,脱布带经过脱针支撑后经导向支撑回转至同步带,脱布带张紧在脱针支撑、导向支撑和两个同步带轮之间;
所述毛轮位于同步带的上方,将挂入针板的待裁布料和脱布带压入针板。
所述毛轮的数量为两个,先后安装在布料行进的方向上。
所述脱布带为纯棉帆布带,厚度为1mm,宽度为15mm。
所述针板同步带组件中同步带上均匀设有若干个凸台,相邻两个凸台之间存有间隙,每个凸台上埋有金属螺纹孔,针板连接板通过螺钉固定在凸台上,针板通过螺栓固定在针板连接板上。
本发明的有益效果在于可脱布式针板组件可有效避免裁剪的较长布头挂断针板上的挂针,提高生产效率;独特的针板同步带组件设计,保证布料的卷边能挂在针板上,为纵切提供保证;对卷边的布料进行纵向裁剪,不仅效率高,而且裁断精度更高,大大节省人工成本,提高裁剪质量,本发明成本低,性价比高,适于推广。
附图说明

图1是本发明可脱布式针板组件的结构图。

图2是本发明针板同步带组件的主视图。

图3是本发明针板同步带组件俯视图。

图4是本发明图2中A处的放大图。

图5是本发明针板与针板连接板的俯视图。

图6是本发明纠偏纵切装置结构图。

图7是本发明自动裁布机整体结构图。
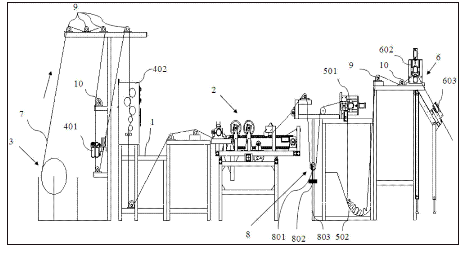
其中:1-机架;2-纠偏纵切装置;201-支撑架;2031-伺服电机;2033-第一转轴;2034-第二转轴;2035-滚轮;204-追边纠偏装置;2041-四指拨边器;2042-布边追踪传感器;205-针板同步带组件;2052-针板;2053-同步带;2054-同步带轮;2055-针板连接板;2061-毛轮;207-纵切刀组件;2081-脱布带;2082-上支撑;2083-压布辊;2084-脱针支撑;2085-右导向支撑;2086-张紧脱布支撑;2087-左导向支撑;3-放布装置;401-吸边器;402-红外对中装置;501-连续牵引出布装置;502-落布槽;6-横切装置;602-间歇牵引出布装置;603-横切刀组件;7-待裁布料;8-张力保持装置;801-张力调整辊;802-张力调整辊配重;803-导向光轴;9-导布辊;10-开幅辊。
具体实施方式
下面结合附图和实施例对本发明进一步说明。
如图7所示,一种自动裁布机,包括机架、放布装置、张力纠偏装置、纠偏纵切装置、张力保持装置、蓄布装置和横切装置。
待裁布料放入放布装置后,通过导向辊将待裁布料展开,再经过张力纠偏装置调整布料张力并纠偏,待裁布料进入纠偏纵切装置追边纠偏后进行纵切,裁去待裁布料的两侧毛边,裁毛边后的布料进入张力保持装置保持张紧,布料再经过蓄布装置后进入横切装置按照所需长度进行横切。
所述放布装置为一个放布辊,用来缠绕布料。
所述张力纠偏装置包括第一纠偏装置和第二纠偏装置,其中第一纠偏装置采用吸边器,第二纠偏装置采用红外对中装置;
本发明所述的用于自动裁布机的纠偏纵切装置数量为两个,分别位于布料的两侧,按照布料行进方向纠偏纵切装置依次包括追边纠偏装置、追边控制调节系统、挂布组件、脱布组件和纵切刀组件;
如图6所示,所述追边纠偏装置包括四指剥边器和布边追踪传感器,四指剥边器固定于支撑底座上,布边追踪传感器置于四指剥边器上方,布料在四指剥边器与布边追踪传感器之间行进,四指剥边器将布料的卷边展开,布边追踪传感器控制伺服电机运动,检测布料边缘的定位;
所述的追边控制调节系统包括控制器、伺服驱动器、伺服电机和丝杠副,当布料在四指剥边器上行进,布边追踪传感器检测布料边缘有偏移时,控制器根据布边追踪传感器的反馈信号控制伺服驱动器,伺服驱动器控制伺服电机,从而驱动丝杠副的丝杠转动,丝杠副的丝杠螺母上方通过第一转轴连接第一滑块,第一滑块在第一滑轨上滑动调节;
布料脱离追边控制调节系统的一侧的支撑架下方设置有第二转轴与支撑架连接,第二转轴的下端设有第二滑块,第二滑块与第二滑轨相配合,第二滑轨上设有挡块,挡块对第二滑块进行限位,在布料裁剪前,分别调节两个第二转轴在第二滑轨上滑动直至满足所裁剪布料的宽度,并固定挡块。
四指剥边器所在位置的支撑底座下方设有滚轮,用于支撑追边纠偏装置;
所述纵切刀组件中电机连接纵切刀固定于支撑架上,支撑架横于布料上方,布料行进至纵切刀组件时,纵切刀对布料按照所需宽度进行纵向裁边。
如图1-图5所示,所述挂布组件包括一个针板同步带组件和至少一个毛轮,针板同步带组件包括若干个针板和针板连接板以及一个同步带和两个同步带轮,所述针板通过针板连接板均匀设置在同步带上,相邻的两个针板之间存有间隙,所述同步带张紧在两个同步带轮上,同步带轮驱动同步带运动,布料从其中一个同步带轮一侧进入挂布组件,从另一个同步带轮一侧脱离挂布组件;
所述脱布组件包括脱布带和脱布支撑,脱布带位于布料和针板之间,和布料一起挂入针板后随同步带行进,压布辊安装在同步带上方,保证布料和脱布带压紧在针板上;所述的脱布支撑为轴线平行于同步带轮的柱体,安装在布料脱离挂布组件一侧的同步带轮上方,位于脱布带和同步带之间,布料和脱布带在经过压布辊后被脱布支撑导向脱离针板,脱布带经过脱针支撑后经导向支撑回转至同步带,脱布带张紧在脱针支撑、导向支撑和两个同步带轮之间;
所述毛轮位于同步带的上方,将挂入针板的待裁布料和脱布带压入针板。
当布边追踪传感器检测布料边缘有偏移时,控制器根据布边追踪传感器的反馈信号控制伺服驱动器,伺服驱动器控制伺服电机,从而驱动丝杠副的丝杠转动,第一滑块在第一滑轨上滑动调节,带动整个追边纠偏装置、挂布组件、脱布组件和纵切刀组件同步横向移动,从而使布边以所要求的精度挂在同步带轮的针板上。
所述张力保持装置保持纵切刀组件和横切装置之间的待裁布料进行张紧,张力保持装置包括张力调整辊、张力调整辊配重和导向光轴,张力调整辊通过直线轴承安装在导向光轴上,张力调整辊配重悬挂在张力调整辊的两端。
所述蓄布装置包括连续牵引出布装置和落布槽,连续牵引出布装置对连续牵引出布装置和针板之间的布料提供张力,落布槽设置在连续牵引出布装置和横切装置之间,用于存储待裁布料。
所述横切装置包括开幅辊、间歇牵引出布装置和横切刀组件,布料经过开幅辊后,行进至间歇牵引出布装置,并将落布槽中的待裁布料拉出设定的长度,横切刀组件将待裁布料进行横向裁剪。
【申请公布号:CN107571320A;申请权利人:中国船舶重工集团公司第七0五研究所;发明设计人: 梁敏; 窦渭江; 李教练; 白岚;】
摘要:
本发明提供了一种用于自动裁布机的可脱布式针板组件,涉及纺织设备领域,所述可脱布式针板组件包括挂布组件和脱布组件,针板通过针板连接板均匀设置在同步带上,同步带张紧在两个同步带轮上,同步带轮驱动同步带运动,脱布带位于布料和针板之间,和布料一起挂入针板后随同步带行进,布料和脱布带被脱布支撑导向脱离针板,脱布带经过脱针支撑后经导向支撑回转至同步带,脱布带张紧在脱针支撑、导向支撑和两个同步带轮之间;本发明可有效避免裁剪的较长布头挂断针板上的挂针,提高生产效率;针板同步带组件保证布料的卷边能挂在针板上,为纵切提供保证;对卷边的布料进行纵向裁剪,效率高且裁断精度更高,大大节省人工成本,提高裁剪质量。
主权项:
一种用于自动裁布机的可脱布式针板组件,其特征在于:所述用于自动裁布机的可脱布式针板组件包括两个挂布组件和两个脱布组件,挂布组件和脱布组件分别位于布料的两侧,所述挂布组件包括一个针板同步带组件和至少一个毛轮,针板同步带组件包括若干个针板和针板连接板以及一个同步带和两个同步带轮,所述针板通过针板连接板均匀设置在同步带上,相邻的两个针板之间存有间隙,所述同步带张紧在两个同步带轮上,同步带轮驱动同步带运动,布料从其中一个同步带轮一侧进入挂布组件,从另一个同步带轮一侧脱离挂布组件;所述脱布组件包括脱布带和脱布支撑,脱布带位于布料和针板之间,和布料一起挂入针板后随同步带行进,压布辊安装在同步带上方,保证布料和脱布带压紧在针板上;所述的脱布支撑为轴线平行于同步带轮的柱体,安装在布料脱离挂布组件一侧的同步带轮上方,位于脱布带和同步带之间,布料和脱布带在经过压布辊后被脱布支撑导向脱离针板,脱布带经过脱针支撑后经导向支撑回转至同步带,脱布带张紧在脱针支撑、导向支撑和两个同步带轮之间;所述毛轮位于同步带的上方,将挂入针板的待裁布料和脱布带
要求:
1.一种用于自动裁布机的可脱布式针板组件,其特征在于:
所述用于自动裁布机的可脱布式针板组件包括两个挂布组件和两个脱布组件,挂布组件和脱布组件分别位于布料的两侧,所述挂布组件包括一个针板同步带组件和至少一个毛轮,针板同步带组件包括若干个针板和针板连接板以及一个同步带和两个同步带轮,所述针板通过针板连接板均匀设置在同步带上,相邻的两个针板之间存有间隙,所述同步带张紧在两个同步带轮上,同步带轮驱动同步带运动,布料从其中一个同步带轮一侧进入挂布组件,从另一个同步带轮一侧脱离挂布组件;
所述脱布组件包括脱布带和脱布支撑,脱布带位于布料和针板之间,和布料一起挂入针板后随同步带行进,压布辊安装在同步带上方,保证布料和脱布带压紧在针板上;所述的脱布支撑为轴线平行于同步带轮的柱体,安装在布料脱离挂布组件一侧的同步带轮上方,位于脱布带和同步带之间,布料和脱布带在经过压布辊后被脱布支撑导向脱离针板,脱布带经过脱针支撑后经导向支撑回转至同步带,脱布带张紧在脱针支撑、导向支撑和两个同步带轮之间;
所述毛轮位于同步带的上方,将挂入针板的待裁布料和脱布带压入针板。
2.根据权利要求1所述的一种用于自动裁布机的可脱布式针板组件,其特征在于:所述毛轮的数量为两个,先后安装在布料行进的方向上。
3.根据权利要求1所述的一种用于自动裁布机的可脱布式针板组件,其特征在于:所述脱布带为纯棉帆布带,厚度为1mm,宽度为15mm。
4.根据权利要求1所述的一种用于自动裁布机的可脱布式针板组件,其特征在于:
所述针板同步带组件中同步带上均匀设有若干个凸台,相邻两个凸台之间存有间隙,每个凸台上埋有金属螺纹孔,针板连接板通过螺钉固定在凸台上,针板通过螺栓固定在针板连接板上。
一种用于自动裁布机的可脱布式针板组件
技术领域
本发明涉及纺织设备领域,尤其是一种可脱布式针板组件。
背景技术
纺织业和服装行业在加工过程中经常会遇到弹性大的布料,这些布料经常会出现严重卷边。以绒毯为例,当前其裁断方法主要是使用人工进行裁断,卷边严重且弹性大的布料由工人纯手工使用剪刀进行;其次较容易裁断的,由工人将布料手工拉出,平整的堆叠成若干层,然后手动推动电剪刀完成裁断工作,其裁断效率和裁断精度低下。
针对上述问题,市场上出现一些了自动化裁断设备,主要有如下几种:
第一种:使用一排夹子夹住布头,使用电机拖动至需要的长度进行裁断。该方法只能完成布料的纬向裁断,无法满足径向裁断的需求。
第二种:通过拉布辊的旋转将布料拉出所需裁断的长度,然后使用激光对其进行纬向裁断,径向裁断简单的使用裁刀进行。该方法可同时完成对布料的径向纬向裁断,但是该方法无法完成对卷边布料的裁边工作,且由于使用激光裁断,导致一些化纤材料裁断后,出现明显的烧痕。
第三种:在布料定型机上增加裁剪功能,定型机主要是经过对布料加热、加湿及烘干使布料平整,最后通过增加的裁剪功能实现布匹边沿裁剪,但是设备工序复杂、价格高昂,不利于大范围推广。
市场上目前的设备不能满足对弹性大且卷边严重的布料进行高效、高质量进行裁剪。
对卷边布料进行裁边遇到的困难主要是:裁剪边沿时必须使布料径向保持张力,一般采用针板将布料挂住,然后用纵切刀进行裁边,但是裁下的布头会挂在针板上,如果布头在一个同步带运动周期内没有去除,会导致下一周期布边挂不上,更严重的是如果布头比较长,在同步带圆周运动范围内,会挂断针板上的挂针,或增加同步带牵引力,伺服驱动系统过载保护,导致停机。
发明内容
为了克服现有技术的不足,本发明提供一种用于自动裁布机的可脱布式针板组件,可脱布式针板组件可以保证将裁减掉的布头从针板上带出,避免针板上的挂针断裂,提高裁剪效率,而且对布料的边沿实现定宽度或定边沿宽度裁剪,不仅效率高,系统的稳定可靠性提高,而且裁断精度更高,大大节省人工成本。
本发明解决上述问题的技术方案是所述用于自动裁布机的可脱布式针板组件包括两个挂布组件和两个脱布组件,挂布组件和脱布组件分别位于布料的两侧,所述挂布组件包括一个针板同步带组件和至少一个毛轮,针板同步带组件包括若干个针板和针板连接板以及一个同步带和两个同步带轮,所述针板通过针板连接板均匀设置在同步带上,相邻的两个针板之间存有间隙,所述同步带张紧在两个同步带轮上,同步带轮驱动同步带运动,布料从其中一个同步带轮一侧进入挂布组件,从另一个同步带轮一侧脱离挂布组件;
所述脱布组件包括脱布带和脱布支撑,脱布带位于布料和针板之间,和布料一起挂入针板后随同步带行进,压布辊安装在同步带上方,保证布料和脱布带压紧在针板上;所述的脱布支撑为轴线平行于同步带轮的柱体,安装在布料脱离挂布组件一侧的同步带轮上方,位于脱布带和同步带之间,布料和脱布带在经过压布辊后被脱布支撑导向脱离针板,脱布带经过脱针支撑后经导向支撑回转至同步带,脱布带张紧在脱针支撑、导向支撑和两个同步带轮之间;
所述毛轮位于同步带的上方,将挂入针板的待裁布料和脱布带压入针板。
所述毛轮的数量为两个,先后安装在布料行进的方向上。
所述脱布带为纯棉帆布带,厚度为1mm,宽度为15mm。
所述针板同步带组件中同步带上均匀设有若干个凸台,相邻两个凸台之间存有间隙,每个凸台上埋有金属螺纹孔,针板连接板通过螺钉固定在凸台上,针板通过螺栓固定在针板连接板上。
本发明的有益效果在于可脱布式针板组件可有效避免裁剪的较长布头挂断针板上的挂针,提高生产效率;独特的针板同步带组件设计,保证布料的卷边能挂在针板上,为纵切提供保证;对卷边的布料进行纵向裁剪,不仅效率高,而且裁断精度更高,大大节省人工成本,提高裁剪质量,本发明成本低,性价比高,适于推广。
附图说明

图1是本发明可脱布式针板组件的结构图。

图2是本发明针板同步带组件的主视图。

图3是本发明针板同步带组件俯视图。

图4是本发明图2中A处的放大图。

图5是本发明针板与针板连接板的俯视图。

图6是本发明纠偏纵切装置结构图。

图7是本发明自动裁布机整体结构图。
其中:1-机架;2-纠偏纵切装置;201-支撑架;2031-伺服电机;2033-第一转轴;2034-第二转轴;2035-滚轮;204-追边纠偏装置;2041-四指拨边器;2042-布边追踪传感器;205-针板同步带组件;2052-针板;2053-同步带;2054-同步带轮;2055-针板连接板;2061-毛轮;207-纵切刀组件;2081-脱布带;2082-上支撑;2083-压布辊;2084-脱针支撑;2085-右导向支撑;2086-张紧脱布支撑;2087-左导向支撑;3-放布装置;401-吸边器;402-红外对中装置;501-连续牵引出布装置;502-落布槽;6-横切装置;602-间歇牵引出布装置;603-横切刀组件;7-待裁布料;8-张力保持装置;801-张力调整辊;802-张力调整辊配重;803-导向光轴;9-导布辊;10-开幅辊。
具体实施方式
下面结合附图和实施例对本发明进一步说明。
如图7所示,一种自动裁布机,包括机架、放布装置、张力纠偏装置、纠偏纵切装置、张力保持装置、蓄布装置和横切装置。
待裁布料放入放布装置后,通过导向辊将待裁布料展开,再经过张力纠偏装置调整布料张力并纠偏,待裁布料进入纠偏纵切装置追边纠偏后进行纵切,裁去待裁布料的两侧毛边,裁毛边后的布料进入张力保持装置保持张紧,布料再经过蓄布装置后进入横切装置按照所需长度进行横切。
所述放布装置为一个放布辊,用来缠绕布料。
所述张力纠偏装置包括第一纠偏装置和第二纠偏装置,其中第一纠偏装置采用吸边器,第二纠偏装置采用红外对中装置;
本发明所述的用于自动裁布机的纠偏纵切装置数量为两个,分别位于布料的两侧,按照布料行进方向纠偏纵切装置依次包括追边纠偏装置、追边控制调节系统、挂布组件、脱布组件和纵切刀组件;
如图6所示,所述追边纠偏装置包括四指剥边器和布边追踪传感器,四指剥边器固定于支撑底座上,布边追踪传感器置于四指剥边器上方,布料在四指剥边器与布边追踪传感器之间行进,四指剥边器将布料的卷边展开,布边追踪传感器控制伺服电机运动,检测布料边缘的定位;
所述的追边控制调节系统包括控制器、伺服驱动器、伺服电机和丝杠副,当布料在四指剥边器上行进,布边追踪传感器检测布料边缘有偏移时,控制器根据布边追踪传感器的反馈信号控制伺服驱动器,伺服驱动器控制伺服电机,从而驱动丝杠副的丝杠转动,丝杠副的丝杠螺母上方通过第一转轴连接第一滑块,第一滑块在第一滑轨上滑动调节;
布料脱离追边控制调节系统的一侧的支撑架下方设置有第二转轴与支撑架连接,第二转轴的下端设有第二滑块,第二滑块与第二滑轨相配合,第二滑轨上设有挡块,挡块对第二滑块进行限位,在布料裁剪前,分别调节两个第二转轴在第二滑轨上滑动直至满足所裁剪布料的宽度,并固定挡块。
四指剥边器所在位置的支撑底座下方设有滚轮,用于支撑追边纠偏装置;
所述纵切刀组件中电机连接纵切刀固定于支撑架上,支撑架横于布料上方,布料行进至纵切刀组件时,纵切刀对布料按照所需宽度进行纵向裁边。
如图1-图5所示,所述挂布组件包括一个针板同步带组件和至少一个毛轮,针板同步带组件包括若干个针板和针板连接板以及一个同步带和两个同步带轮,所述针板通过针板连接板均匀设置在同步带上,相邻的两个针板之间存有间隙,所述同步带张紧在两个同步带轮上,同步带轮驱动同步带运动,布料从其中一个同步带轮一侧进入挂布组件,从另一个同步带轮一侧脱离挂布组件;
所述脱布组件包括脱布带和脱布支撑,脱布带位于布料和针板之间,和布料一起挂入针板后随同步带行进,压布辊安装在同步带上方,保证布料和脱布带压紧在针板上;所述的脱布支撑为轴线平行于同步带轮的柱体,安装在布料脱离挂布组件一侧的同步带轮上方,位于脱布带和同步带之间,布料和脱布带在经过压布辊后被脱布支撑导向脱离针板,脱布带经过脱针支撑后经导向支撑回转至同步带,脱布带张紧在脱针支撑、导向支撑和两个同步带轮之间;
所述毛轮位于同步带的上方,将挂入针板的待裁布料和脱布带压入针板。
当布边追踪传感器检测布料边缘有偏移时,控制器根据布边追踪传感器的反馈信号控制伺服驱动器,伺服驱动器控制伺服电机,从而驱动丝杠副的丝杠转动,第一滑块在第一滑轨上滑动调节,带动整个追边纠偏装置、挂布组件、脱布组件和纵切刀组件同步横向移动,从而使布边以所要求的精度挂在同步带轮的针板上。
所述张力保持装置保持纵切刀组件和横切装置之间的待裁布料进行张紧,张力保持装置包括张力调整辊、张力调整辊配重和导向光轴,张力调整辊通过直线轴承安装在导向光轴上,张力调整辊配重悬挂在张力调整辊的两端。
所述蓄布装置包括连续牵引出布装置和落布槽,连续牵引出布装置对连续牵引出布装置和针板之间的布料提供张力,落布槽设置在连续牵引出布装置和横切装置之间,用于存储待裁布料。
所述横切装置包括开幅辊、间歇牵引出布装置和横切刀组件,布料经过开幅辊后,行进至间歇牵引出布装置,并将落布槽中的待裁布料拉出设定的长度,横切刀组件将待裁布料进行横向裁剪。
