应用案例
您当前的位置:产品应用
一种印刷机
一种印刷机
【授权公告号:CN207173009U;申请权利人:广东皓达科技有限公司;发明设计人:古泽恩;】
摘要:
本实用新型公开了一种印刷机,包括色标传感器、框架、印刷装置和直线导轨机构,所述框架的顶端安装有直线导轨机构看,且框架顶部的两侧均安装有齿条,两侧齿条之间的上方安装有第一涡轮减速机,所述框架的底端安装有传动轴,且传动轴的两端均安装有齿轮,所述传动轴的一端安装有伺服马达,且伺服马达与传动轴之间安装有第一涡轮减速机,所述第二涡轮减速机的输出端通过同步带与同步轮连接。本实用新型通过色标传感器,使得机器能自动追踪上一次的印刷图案,自动找到位置,能过伺服马达配合色标传感器加上齿轮齿条的传动准确的进行多次定位,能让多种颜色的产品能够生产,便于使用。
主权项:
一种印刷机,包括色标传感器(1)、框架(4)、印刷装置(11)和直线导轨机构(33),其特征在于:所述框架(4)的顶端安装有直线导轨机构(33),且框架(4)顶部的两侧均安装有齿条(5),两侧齿条(5)之间的上方安装有第一涡轮减速机(3),所述框架(4)的底端安装有传动轴(20),且传动轴(20)的两端均安装有齿轮(32),所述传动轴(20)的一端安装有伺服马达(2),且伺服马达(2)与传动轴(20)之间安装有第一涡轮减速机(3),所述齿轮(32)与齿条(5)连接,所述框架(4)顶端的一端安装有定位杆(6),且定位杆(6)上安装有色标传感器(1),所述定位杆(6)的两端均通过连接杆与直线导轨机构(33)连接,所述直线导轨机构(33)一端的一侧安装有第一抬网气缸(16),且直线导轨机构(33)一端的另一侧安装有第二抬网气缸(19),所述第一抬网气缸(16)一侧的直线导轨机构(33)的底端安装有第一离网气缸(13),所述第二抬网气缸(19)一侧的底端安装有第二离网气缸(18),所述第一抬网气缸(16)和第二抬网气缸(19)之间的直线导轨机构(33)的底端安装有固定块(15),所述直线导轨机构(33)底端的一侧均安装有固定螺栓(17),且直线导轨机构(33)一端的外侧安装有后部网架(30),所述直线导轨机构(33)一端的两侧均安装有固定手轮(23),且固定手轮(23)的底端均安装有网架(22),所述直线导轨机构(33)顶端的一侧安装有锁紧压紧螺丝(21),且直线导轨机构(33)顶端的另一侧安装有固定气缸(31),所述直线导轨机构(33)顶端的一侧安装有固定装置(10),所述直线导轨机构(33)另一端的两侧均安装有印刷装置(11),且印刷装置(11)的顶端的内侧均安装有同步轮(7),所述印刷装置(11)顶部的一端安装有第一螺杆(26),且第一螺杆(26)的底端安装有第一气缸(25),所述第一气缸(25)的底端通过固定杆安装有回墨刀(24),所述印刷装置(11)顶部的另一端安装有第二螺杆(27),且第二螺杆(27)的底端安装有第二气缸(28),所述第二气缸(28) 的底端通过固定杆安装有刮墨刀(29),所述直线导轨机构(33)顶端的一端安装有电机(9),且电机(9)的一侧安装有第二涡轮减速机(8),所述第二涡轮减速机(8)的输出端通过同步带(12)与同步轮(7)连接。
要求:
1.一种印刷机,包括色标传感器(1)、框架(4)、印刷装置(11)和直线导轨机构(33),其特征在于:所述框架(4)的顶端安装有直线导轨机构(33),且框架(4)顶部的两侧均安装有齿条(5),两侧齿条(5)之间的上方安装有第一涡轮减速机(3),所述框架(4)的底端安装有传动轴(20),且传动轴(20)的两端均安装有齿轮(32),所述传动轴(20)的一端安装有伺服马达(2),且伺服马达(2)与传动轴(20)之间安装有第一涡轮减速机(3),所述齿轮(32)与齿条(5)连接,所述框架(4)顶端的一端安装有定位杆(6),且定位杆(6)上安装有色标传感器(1),所述定位杆(6)的两端均通过连接杆与直线导轨机构(33)连接,所述直线导轨机构(33)一端的一侧安装有第一抬网气缸(16),且直线导轨机构(33)一端的另一侧安装有第二抬网气缸(19),所述第一抬网气缸(16)一侧的直线导轨机构(33)的底端安装有第一离网气缸(13),所述第二抬网气缸(19)一侧的底端安装有第二离网气缸(18),所述第一抬网气缸(16)和第二抬网气缸(19)之间的直线导轨机构(33)的底端安装有固定块(15),所述直线导轨机构(33)底端的一侧均安装有固定螺栓(17),且直线导轨机构(33)一端的外侧安装有后部网架(30),所述直线导轨机构(33)一端的两侧均安装有固定手轮(23),且固定手轮(23)的底端均安装有网架(22),所述直线导轨机构(33)顶端的一侧安装有锁紧压紧螺丝(21),且直线导轨机构(33)顶端的另一侧安装有固定气缸(31),所述直线导轨机构(33)顶端的一侧安装有固定装置(10),所述直线导轨机构(33)另一端的两侧均安装有印刷装置(11),且印刷装置(11)的顶端的内侧均安装有同步轮(7),所述印刷装置(11)顶部的一端安装有第一螺杆(26),且第一螺杆(26)的底端安装有第一气缸(25),所述第一气缸(25)的底端通过固定杆安装有回墨刀(24),所述印刷装置(11)顶部的另一端安装有第二螺杆(27),且第二螺杆(27)的底端安装有第二气缸(28),所述第二气缸(28) 的底端通过固定杆安装有刮墨刀(29),所述直线导轨机构(33)顶端的一端安装有电机(9),且电机(9)的一侧安装有第二涡轮减速机(8),所述第二涡轮减速机(8)的输出端通过同步带(12)与同步轮(7)连接。
2.根据权利要求1所述的一种印刷机,其特征在于:所述固定块(15)上安装有定位销(14)。
3.根据权利要求1所述的一种印刷机,其特征在于:所述直线导轨机构(33)的两端均安装有照明灯。
4.根据权利要求1所述的一种印刷机,其特征在于:所述固定气缸(31)的输出端设置有橡胶垫。
5.根据权利要求1所述的一种印刷机,其特征在于:所述固定螺栓(17)的表面均匀设置有条纹,且条纹之间相互平行。
一种印刷机
技术领域
本实用新型涉及一种印刷机技术领域,具体为一种印刷机。
背景技术
目前的自动印刷和大型平面印刷无法解决或很难解决大平面的印刷以及高精度定位套色套位印刷,在对位以及重复对位的过程中无法实现高精度其机构均未能突破传统的结构设计,导致其结构复杂,体积庞大,占用空间大,造成空间资源的浪费,也使得总体成本过高,而且在使用过程中会产生较大的噪音,给生产环境带来一定的影响。
实用新型内容
本实用新型的目的在于提供一种印刷机,以解决上述背景技术中提出的问题。
为实现上述目的,本实用新型提供如下技术方案:一种印刷机,包括色标传感器、框架、印刷装置和直线导轨机构,所述框架的顶端安装有直线导轨机构看,且框架顶部的两侧均安装有齿条,两侧齿条之间的上方安装有第一涡轮减速机,所述框架的底端安装有传动轴,且传动轴的两端均安装有齿轮,所述传动轴的一端安装有伺服马达,且伺服马达与传动轴之间安装有第一涡轮减速机,所述齿轮与齿条连接,所述框架顶端的一端安装有定位杆,且定位杆上安装有色标传感器,所述定位杆的两端均通过连接杆与直线导轨机构连接,所述直线导轨机构一端的一侧安装有第一抬网气缸,且直线导轨机构一端的另一侧安装有第二抬网气缸,所述第一抬网气缸一侧的直线导轨机构的底端安装有第一离网气缸,所述第二抬网气缸一侧的底端安装有第二离网气缸,所述第一抬网气缸和第二抬网气缸之间的直线导轨机构的底端安装有固定块,所述直线导轨机构底端的一侧均安装有固定螺栓,且直线导轨机构一端的外侧安装有后部网架,所述直线导轨机构一端的两侧均安装有固定手轮,且固定手轮的底端均安装有网架,所述直线导轨机构顶端的一侧安装有锁紧压紧螺丝,且直线导轨机构顶端的另一侧安装有固定气缸,所述直线导轨机构顶端的一侧安装有固定装置,所述直线导轨机构另一端的两侧均安装有印刷装置,且印刷装置的顶端的内侧均安装有同步轮,所述印刷装置顶部的一端安装有第一螺杆,且第一螺杆的底端安装有第一气缸,所述第一气缸的底端通过固定杆安装有回墨刀,所述印刷装置顶部的另一端安装有第二螺杆,且第二螺杆的底端安装有第二气缸,所述第二气缸的底端通过固定杆安装有刮墨刀,所述直线导轨机构顶端的一端安装有电机,且电机的一侧安装有第二涡轮减速机,所述第二涡轮减速机的输出端通过同步带与同步轮连接。
优选的,所述固定块上安装有定位销。
优选的,所述直线导轨机构的两端均安装有照明灯。
优选的,所述固定气缸的输出端设置有橡胶垫。
优选的,所述固定螺栓的表面均匀设置有条纹,且条纹之间相互平行。
与现有技术相比,本实用新型的有益效果是:该印刷机通过安装有色标传感器,使得机器能自动追踪上一次的印刷图案,自动找到位置,能过伺服马达配合色标传感器加上齿轮齿条的传动准确的进行多次定位,能让多种颜色的产品能够生产,便于使用,同时装置采用龙门式的印刷结构能解决大小平面的印刷套色套位,从而达到高精度高效率自动化生产,且装置不仅节省大量人工劳力,且实现了柔性材料和大平面产品的可自动化生产,利于方泛的推广应用。
附图说明

图1为本实用新型的立体结构示意图;

图2为本实用新型的正视结构示意图;

图3为本实用新型的侧视结构示意图;

图4为本实用新型的框架俯视示意图;
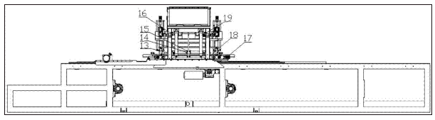
图中:1-色标传感器;2-伺服马达;3-第一涡轮减速机;4-框架; 5-齿条;6-定位杆;7-同步轮;8-第二涡轮减速机;9-电机;10-固定装置;11-印刷装置;12-同步带;13-第一离网气缸;14-定位销;15- 固定块;16-第一抬网气缸;17-固定螺栓;18-第二离网气缸;19-第二抬网气缸;20-传动轴;21-锁紧压紧螺丝;22-网架;23-固定手轮; 24-回墨刀;25-第一气缸;26-第一螺杆;27-第二螺杆;28-第二气缸; 29-刮墨刀;30-后部网架;31-固定气缸;32-齿轮;33-直线导轨机构。
具体实施方式
面将结合本实用新型实施例中的附图,对本实用新型实施例中的技术方案进行清楚、完整地描述,显然,所描述的实施例仅仅是本实用新型一部分实施例,而不是全部的实施例。基于本实用新型中的实施例,本领域普通技术人员在没有做出创造性劳动前提下所获得的所有其他实施例,都属于本实用新型保护的范围。
请参阅图1-4,本实用新型提供的一种实施例:一种印刷机,包括色标传感器1、框架4、印刷装置11和直线导轨机构33,框架4 的顶端安装有直线导轨机构33看,且框架4顶部的两侧均安装有齿条5,两侧齿条5之间的上方安装有第一涡轮减速机3,框架4的底端安装有传动轴20,且传动轴20的两端均安装有齿轮32,传动轴 20的一端安装有伺服马达2,且伺服马达2与传动轴20之间安装有第一涡轮减速机3,齿轮32与齿条5连接,框架4顶端的一端安装有定位杆6,且定位杆6上安装有色标传感器1,定位杆6的两端均通过连接杆与直线导轨机构33连接,直线导轨机构33的两端均安装有照明灯,便于装置在光线较暗的情况下进行工作,直线导轨机构 33一端的一侧安装有第一抬网气缸16,且直线导轨机构33一端的另一侧安装有第二抬网气缸19,第一抬网气缸16一侧的直线导轨机构 33的底端安装有第一离网气缸13,第二抬网气缸19一侧的底端安装有第二离网气缸18,第一抬网气缸16和第二抬网气缸19之间的直线导轨机构33的底端安装有固定块15,固定块15上安装有定位销 14,便于固定固定块15,即使无压缩气供应也不会掉下来,安全可靠的进行洗网作业和更换网板作业,直线导轨机构33底端的一侧均安装有固定螺栓17,固定螺栓17的表面均匀设置有条纹,且条纹之间相互平行,增大摩擦力,便于旋转,且直线导轨机构33一端的外侧安装有后部网架30,直线导轨机构33一端的两侧均安装有固定手轮23,且固定手轮23的底端均安装有网架22,直线导轨机构33顶端的一侧安装有锁紧压紧螺丝21,且直线导轨机构33顶端的另一侧安装有固定气缸31,固定气缸31的输出端设置有橡胶垫,便于夹紧网板,且不会损伤网板,直线导轨机构33顶端的一侧安装有固定装置10,直线导轨机构33另一端的两侧均安装有印刷装置11,且印刷装置11的顶端的内侧均安装有同步轮7,印刷装置11顶部的一端安装有第一螺杆26,且第一螺杆26的底端安装有第一气缸25,第一气缸25的底端通过固定杆安装有回墨刀24,印刷装置11顶部的另一端安装有第二螺杆27,且第二螺杆27的底端安装有第二气缸28,第二气缸28的底端通过固定杆安装有刮墨刀29,直线导轨机构33顶端的一端安装有电机9,电机9可为Y90L-2电机,且电机9的一侧安装有第二涡轮减速机8,第二涡轮减速机8的输出端通过同步带12 与同步轮7连接。
工作原理:使用时,产品通过上一级工序进入本设计的印刷机里,色标传感器1通过伺服马达2驱动蜗轮减速机3带动整个印刷机进行移动,色标传感器1固定于印刷机上跟随移动,自动找到产品上面的定位图案或定位点,进行精确定位,其中蜗轮减速机3的输出端带动传动轴20将动力同步传给传动轴两端的齿轮32齿轮带动固定于印刷机上的齿条5进而达到整台印刷机同步水平移动,之后安装不同的网板时通过打开固定手轮23推动网架22移动以及调节后部网架30从而达到安装不同大小的网板,网板固定通过锁紧压紧螺丝21以及固定气缸31进行固定,刮墨刀29以及回墨刀24通过电机9带动蜗轮减速8将动力通过传动轴输出给同步轮7带动同步带12进行动力输出,刮墨刀29以及回墨刀固定在直线导轨机构上被同步带驱动,速度通过变频器进行无级调速控制,进而做印刷及回墨作业,刮墨刀 29以及回墨刀24的高度调节通过转动调节手柄和第一螺杆26,第二螺杆27带动升降光轴,进而调动刮墨刀29以及回墨刀24,第一气缸25,第二气缸28电磁阀驱动压缩气体输入气缸内部,进而使气缸进行上下活塞运动从而带动刮墨刀29以及回墨刀24作上下动作,配合印刷及回墨作业,在印刷作业时,可以打开离网装置,离网装置通过第一离网气缸18,第二离网气缸13把网板当面顶高,离开印刷的产品,让产品不会粘住网板,当网板堵塞时或更换网板时可打开第一抬网气缸16,第二抬网气缸19,抬网气高会将整个印刷机构单面抬想以上方人手操作,抬起后可定位销14推进固定位,即使无压缩气供应也不会掉下来,安全可靠的进行洗网作业和更换网板作业。
对于本领域技术人员而言,显然本实用新型不限于上述示范性实施例的细节,而且在不背离本实用新型的精神或基本特征的情况下,能够以其他的具体形式实现本实用新型。因此,无论从哪一点来看,均应将实施例看作是示范性的,而且是非限制性的,本实用新型的范围由所附权利要求而不是上述说明限定,因此旨在将落在权利要求的等同要件的含义和范围内的所有变化囊括在本实用新型内。不应将权利要求中的任何附图标记视为限制所涉及的权利要求。
【授权公告号:CN207173009U;申请权利人:广东皓达科技有限公司;发明设计人:古泽恩;】
摘要:
本实用新型公开了一种印刷机,包括色标传感器、框架、印刷装置和直线导轨机构,所述框架的顶端安装有直线导轨机构看,且框架顶部的两侧均安装有齿条,两侧齿条之间的上方安装有第一涡轮减速机,所述框架的底端安装有传动轴,且传动轴的两端均安装有齿轮,所述传动轴的一端安装有伺服马达,且伺服马达与传动轴之间安装有第一涡轮减速机,所述第二涡轮减速机的输出端通过同步带与同步轮连接。本实用新型通过色标传感器,使得机器能自动追踪上一次的印刷图案,自动找到位置,能过伺服马达配合色标传感器加上齿轮齿条的传动准确的进行多次定位,能让多种颜色的产品能够生产,便于使用。
主权项:
一种印刷机,包括色标传感器(1)、框架(4)、印刷装置(11)和直线导轨机构(33),其特征在于:所述框架(4)的顶端安装有直线导轨机构(33),且框架(4)顶部的两侧均安装有齿条(5),两侧齿条(5)之间的上方安装有第一涡轮减速机(3),所述框架(4)的底端安装有传动轴(20),且传动轴(20)的两端均安装有齿轮(32),所述传动轴(20)的一端安装有伺服马达(2),且伺服马达(2)与传动轴(20)之间安装有第一涡轮减速机(3),所述齿轮(32)与齿条(5)连接,所述框架(4)顶端的一端安装有定位杆(6),且定位杆(6)上安装有色标传感器(1),所述定位杆(6)的两端均通过连接杆与直线导轨机构(33)连接,所述直线导轨机构(33)一端的一侧安装有第一抬网气缸(16),且直线导轨机构(33)一端的另一侧安装有第二抬网气缸(19),所述第一抬网气缸(16)一侧的直线导轨机构(33)的底端安装有第一离网气缸(13),所述第二抬网气缸(19)一侧的底端安装有第二离网气缸(18),所述第一抬网气缸(16)和第二抬网气缸(19)之间的直线导轨机构(33)的底端安装有固定块(15),所述直线导轨机构(33)底端的一侧均安装有固定螺栓(17),且直线导轨机构(33)一端的外侧安装有后部网架(30),所述直线导轨机构(33)一端的两侧均安装有固定手轮(23),且固定手轮(23)的底端均安装有网架(22),所述直线导轨机构(33)顶端的一侧安装有锁紧压紧螺丝(21),且直线导轨机构(33)顶端的另一侧安装有固定气缸(31),所述直线导轨机构(33)顶端的一侧安装有固定装置(10),所述直线导轨机构(33)另一端的两侧均安装有印刷装置(11),且印刷装置(11)的顶端的内侧均安装有同步轮(7),所述印刷装置(11)顶部的一端安装有第一螺杆(26),且第一螺杆(26)的底端安装有第一气缸(25),所述第一气缸(25)的底端通过固定杆安装有回墨刀(24),所述印刷装置(11)顶部的另一端安装有第二螺杆(27),且第二螺杆(27)的底端安装有第二气缸(28),所述第二气缸(28) 的底端通过固定杆安装有刮墨刀(29),所述直线导轨机构(33)顶端的一端安装有电机(9),且电机(9)的一侧安装有第二涡轮减速机(8),所述第二涡轮减速机(8)的输出端通过同步带(12)与同步轮(7)连接。
要求:
1.一种印刷机,包括色标传感器(1)、框架(4)、印刷装置(11)和直线导轨机构(33),其特征在于:所述框架(4)的顶端安装有直线导轨机构(33),且框架(4)顶部的两侧均安装有齿条(5),两侧齿条(5)之间的上方安装有第一涡轮减速机(3),所述框架(4)的底端安装有传动轴(20),且传动轴(20)的两端均安装有齿轮(32),所述传动轴(20)的一端安装有伺服马达(2),且伺服马达(2)与传动轴(20)之间安装有第一涡轮减速机(3),所述齿轮(32)与齿条(5)连接,所述框架(4)顶端的一端安装有定位杆(6),且定位杆(6)上安装有色标传感器(1),所述定位杆(6)的两端均通过连接杆与直线导轨机构(33)连接,所述直线导轨机构(33)一端的一侧安装有第一抬网气缸(16),且直线导轨机构(33)一端的另一侧安装有第二抬网气缸(19),所述第一抬网气缸(16)一侧的直线导轨机构(33)的底端安装有第一离网气缸(13),所述第二抬网气缸(19)一侧的底端安装有第二离网气缸(18),所述第一抬网气缸(16)和第二抬网气缸(19)之间的直线导轨机构(33)的底端安装有固定块(15),所述直线导轨机构(33)底端的一侧均安装有固定螺栓(17),且直线导轨机构(33)一端的外侧安装有后部网架(30),所述直线导轨机构(33)一端的两侧均安装有固定手轮(23),且固定手轮(23)的底端均安装有网架(22),所述直线导轨机构(33)顶端的一侧安装有锁紧压紧螺丝(21),且直线导轨机构(33)顶端的另一侧安装有固定气缸(31),所述直线导轨机构(33)顶端的一侧安装有固定装置(10),所述直线导轨机构(33)另一端的两侧均安装有印刷装置(11),且印刷装置(11)的顶端的内侧均安装有同步轮(7),所述印刷装置(11)顶部的一端安装有第一螺杆(26),且第一螺杆(26)的底端安装有第一气缸(25),所述第一气缸(25)的底端通过固定杆安装有回墨刀(24),所述印刷装置(11)顶部的另一端安装有第二螺杆(27),且第二螺杆(27)的底端安装有第二气缸(28),所述第二气缸(28) 的底端通过固定杆安装有刮墨刀(29),所述直线导轨机构(33)顶端的一端安装有电机(9),且电机(9)的一侧安装有第二涡轮减速机(8),所述第二涡轮减速机(8)的输出端通过同步带(12)与同步轮(7)连接。
2.根据权利要求1所述的一种印刷机,其特征在于:所述固定块(15)上安装有定位销(14)。
3.根据权利要求1所述的一种印刷机,其特征在于:所述直线导轨机构(33)的两端均安装有照明灯。
4.根据权利要求1所述的一种印刷机,其特征在于:所述固定气缸(31)的输出端设置有橡胶垫。
5.根据权利要求1所述的一种印刷机,其特征在于:所述固定螺栓(17)的表面均匀设置有条纹,且条纹之间相互平行。
一种印刷机
技术领域
本实用新型涉及一种印刷机技术领域,具体为一种印刷机。
背景技术
目前的自动印刷和大型平面印刷无法解决或很难解决大平面的印刷以及高精度定位套色套位印刷,在对位以及重复对位的过程中无法实现高精度其机构均未能突破传统的结构设计,导致其结构复杂,体积庞大,占用空间大,造成空间资源的浪费,也使得总体成本过高,而且在使用过程中会产生较大的噪音,给生产环境带来一定的影响。
实用新型内容
本实用新型的目的在于提供一种印刷机,以解决上述背景技术中提出的问题。
为实现上述目的,本实用新型提供如下技术方案:一种印刷机,包括色标传感器、框架、印刷装置和直线导轨机构,所述框架的顶端安装有直线导轨机构看,且框架顶部的两侧均安装有齿条,两侧齿条之间的上方安装有第一涡轮减速机,所述框架的底端安装有传动轴,且传动轴的两端均安装有齿轮,所述传动轴的一端安装有伺服马达,且伺服马达与传动轴之间安装有第一涡轮减速机,所述齿轮与齿条连接,所述框架顶端的一端安装有定位杆,且定位杆上安装有色标传感器,所述定位杆的两端均通过连接杆与直线导轨机构连接,所述直线导轨机构一端的一侧安装有第一抬网气缸,且直线导轨机构一端的另一侧安装有第二抬网气缸,所述第一抬网气缸一侧的直线导轨机构的底端安装有第一离网气缸,所述第二抬网气缸一侧的底端安装有第二离网气缸,所述第一抬网气缸和第二抬网气缸之间的直线导轨机构的底端安装有固定块,所述直线导轨机构底端的一侧均安装有固定螺栓,且直线导轨机构一端的外侧安装有后部网架,所述直线导轨机构一端的两侧均安装有固定手轮,且固定手轮的底端均安装有网架,所述直线导轨机构顶端的一侧安装有锁紧压紧螺丝,且直线导轨机构顶端的另一侧安装有固定气缸,所述直线导轨机构顶端的一侧安装有固定装置,所述直线导轨机构另一端的两侧均安装有印刷装置,且印刷装置的顶端的内侧均安装有同步轮,所述印刷装置顶部的一端安装有第一螺杆,且第一螺杆的底端安装有第一气缸,所述第一气缸的底端通过固定杆安装有回墨刀,所述印刷装置顶部的另一端安装有第二螺杆,且第二螺杆的底端安装有第二气缸,所述第二气缸的底端通过固定杆安装有刮墨刀,所述直线导轨机构顶端的一端安装有电机,且电机的一侧安装有第二涡轮减速机,所述第二涡轮减速机的输出端通过同步带与同步轮连接。
优选的,所述固定块上安装有定位销。
优选的,所述直线导轨机构的两端均安装有照明灯。
优选的,所述固定气缸的输出端设置有橡胶垫。
优选的,所述固定螺栓的表面均匀设置有条纹,且条纹之间相互平行。
与现有技术相比,本实用新型的有益效果是:该印刷机通过安装有色标传感器,使得机器能自动追踪上一次的印刷图案,自动找到位置,能过伺服马达配合色标传感器加上齿轮齿条的传动准确的进行多次定位,能让多种颜色的产品能够生产,便于使用,同时装置采用龙门式的印刷结构能解决大小平面的印刷套色套位,从而达到高精度高效率自动化生产,且装置不仅节省大量人工劳力,且实现了柔性材料和大平面产品的可自动化生产,利于方泛的推广应用。
附图说明

图1为本实用新型的立体结构示意图;

图2为本实用新型的正视结构示意图;

图3为本实用新型的侧视结构示意图;

图4为本实用新型的框架俯视示意图;
图中:1-色标传感器;2-伺服马达;3-第一涡轮减速机;4-框架; 5-齿条;6-定位杆;7-同步轮;8-第二涡轮减速机;9-电机;10-固定装置;11-印刷装置;12-同步带;13-第一离网气缸;14-定位销;15- 固定块;16-第一抬网气缸;17-固定螺栓;18-第二离网气缸;19-第二抬网气缸;20-传动轴;21-锁紧压紧螺丝;22-网架;23-固定手轮; 24-回墨刀;25-第一气缸;26-第一螺杆;27-第二螺杆;28-第二气缸; 29-刮墨刀;30-后部网架;31-固定气缸;32-齿轮;33-直线导轨机构。
具体实施方式
面将结合本实用新型实施例中的附图,对本实用新型实施例中的技术方案进行清楚、完整地描述,显然,所描述的实施例仅仅是本实用新型一部分实施例,而不是全部的实施例。基于本实用新型中的实施例,本领域普通技术人员在没有做出创造性劳动前提下所获得的所有其他实施例,都属于本实用新型保护的范围。
请参阅图1-4,本实用新型提供的一种实施例:一种印刷机,包括色标传感器1、框架4、印刷装置11和直线导轨机构33,框架4 的顶端安装有直线导轨机构33看,且框架4顶部的两侧均安装有齿条5,两侧齿条5之间的上方安装有第一涡轮减速机3,框架4的底端安装有传动轴20,且传动轴20的两端均安装有齿轮32,传动轴 20的一端安装有伺服马达2,且伺服马达2与传动轴20之间安装有第一涡轮减速机3,齿轮32与齿条5连接,框架4顶端的一端安装有定位杆6,且定位杆6上安装有色标传感器1,定位杆6的两端均通过连接杆与直线导轨机构33连接,直线导轨机构33的两端均安装有照明灯,便于装置在光线较暗的情况下进行工作,直线导轨机构 33一端的一侧安装有第一抬网气缸16,且直线导轨机构33一端的另一侧安装有第二抬网气缸19,第一抬网气缸16一侧的直线导轨机构 33的底端安装有第一离网气缸13,第二抬网气缸19一侧的底端安装有第二离网气缸18,第一抬网气缸16和第二抬网气缸19之间的直线导轨机构33的底端安装有固定块15,固定块15上安装有定位销 14,便于固定固定块15,即使无压缩气供应也不会掉下来,安全可靠的进行洗网作业和更换网板作业,直线导轨机构33底端的一侧均安装有固定螺栓17,固定螺栓17的表面均匀设置有条纹,且条纹之间相互平行,增大摩擦力,便于旋转,且直线导轨机构33一端的外侧安装有后部网架30,直线导轨机构33一端的两侧均安装有固定手轮23,且固定手轮23的底端均安装有网架22,直线导轨机构33顶端的一侧安装有锁紧压紧螺丝21,且直线导轨机构33顶端的另一侧安装有固定气缸31,固定气缸31的输出端设置有橡胶垫,便于夹紧网板,且不会损伤网板,直线导轨机构33顶端的一侧安装有固定装置10,直线导轨机构33另一端的两侧均安装有印刷装置11,且印刷装置11的顶端的内侧均安装有同步轮7,印刷装置11顶部的一端安装有第一螺杆26,且第一螺杆26的底端安装有第一气缸25,第一气缸25的底端通过固定杆安装有回墨刀24,印刷装置11顶部的另一端安装有第二螺杆27,且第二螺杆27的底端安装有第二气缸28,第二气缸28的底端通过固定杆安装有刮墨刀29,直线导轨机构33顶端的一端安装有电机9,电机9可为Y90L-2电机,且电机9的一侧安装有第二涡轮减速机8,第二涡轮减速机8的输出端通过同步带12 与同步轮7连接。
工作原理:使用时,产品通过上一级工序进入本设计的印刷机里,色标传感器1通过伺服马达2驱动蜗轮减速机3带动整个印刷机进行移动,色标传感器1固定于印刷机上跟随移动,自动找到产品上面的定位图案或定位点,进行精确定位,其中蜗轮减速机3的输出端带动传动轴20将动力同步传给传动轴两端的齿轮32齿轮带动固定于印刷机上的齿条5进而达到整台印刷机同步水平移动,之后安装不同的网板时通过打开固定手轮23推动网架22移动以及调节后部网架30从而达到安装不同大小的网板,网板固定通过锁紧压紧螺丝21以及固定气缸31进行固定,刮墨刀29以及回墨刀24通过电机9带动蜗轮减速8将动力通过传动轴输出给同步轮7带动同步带12进行动力输出,刮墨刀29以及回墨刀固定在直线导轨机构上被同步带驱动,速度通过变频器进行无级调速控制,进而做印刷及回墨作业,刮墨刀 29以及回墨刀24的高度调节通过转动调节手柄和第一螺杆26,第二螺杆27带动升降光轴,进而调动刮墨刀29以及回墨刀24,第一气缸25,第二气缸28电磁阀驱动压缩气体输入气缸内部,进而使气缸进行上下活塞运动从而带动刮墨刀29以及回墨刀24作上下动作,配合印刷及回墨作业,在印刷作业时,可以打开离网装置,离网装置通过第一离网气缸18,第二离网气缸13把网板当面顶高,离开印刷的产品,让产品不会粘住网板,当网板堵塞时或更换网板时可打开第一抬网气缸16,第二抬网气缸19,抬网气高会将整个印刷机构单面抬想以上方人手操作,抬起后可定位销14推进固定位,即使无压缩气供应也不会掉下来,安全可靠的进行洗网作业和更换网板作业。
对于本领域技术人员而言,显然本实用新型不限于上述示范性实施例的细节,而且在不背离本实用新型的精神或基本特征的情况下,能够以其他的具体形式实现本实用新型。因此,无论从哪一点来看,均应将实施例看作是示范性的,而且是非限制性的,本实用新型的范围由所附权利要求而不是上述说明限定,因此旨在将落在权利要求的等同要件的含义和范围内的所有变化囊括在本实用新型内。不应将权利要求中的任何附图标记视为限制所涉及的权利要求。
