应用案例
您当前的位置:产品应用
一种双层纸杯制备装置
一种双层纸杯制备装置
【申请公布号:CN107901499A;申请权利人:安庆市千禧龙包装有限公司;发明设计人:储小应;】
摘要:
本发明公开了一种双层纸杯制备装置,包括机体,所述机体的下端设有行走机构,所述机体的下端右侧设有支撑机构,所述机体上设有电机,所述机体的右侧设有纸杯内套输送装置,所述纸杯内套输送装置内开设有纸杯内套腔,所述纸杯内套腔的两端竖直设有螺纹杆,两个所述螺纹杆的底端均固定套设有同步轮,两个所述同步轮上共同套设有同步带,位于右侧的所述螺纹杆的底端与电机的驱动端连接,所述纸杯内套腔内水平设有支撑板。本发明结构稳定,抗震性能良好,便于移动,由输送管自动输送纸杯内套,且内套输送装置具备间隙固定装置,自动化程度高,可节省工作人员大量的时间和精力,值得推广。
主权项:
一种双层纸杯制备装置,包括机体(1),其特征在于,所述机体(1)的下端设有行走机构(2),所述机体(1)的下端右侧设有支撑机构(4),所述机体(1)上设有电机(6),所述机体(1)的右侧设有纸杯内套输送装置(5),所述纸杯内套输送装置(5)内开设有纸杯内套腔(7),所述纸杯内套腔(7)的两端竖直设有螺纹杆(29),两个所述螺纹杆(29)的底端均固定套设有同步轮,两个所述同步轮上共同套设有同步带,位于右侧的所述螺纹杆(29)的底端与电机(6)的驱动端连接,所述纸杯内套腔(7)内水平设有支撑板(30),所述支撑板(30)的两端均与螺纹杆(29)螺纹连接,所述支撑板(30)上设有多个纸杯内套(8),所述机体(1)上设有微型电机(20),所述微型电机(20)的驱动轴固定套设有第一皮带轮(21),所述微型电机(20)的右侧设有固定架(28),且固定架(28)固定连接在机体(1)上,所述固定架(28)上水平设有滑杆(27),所述滑杆(27)上滑动连接有齿条(26),所述齿条(26)的上端设有扇形齿轮(25),且扇形齿轮(25)转动连接在固定架(28)上,所述扇形齿轮(25)的顶端左侧设有滚轮(24),所述滚轮(24)贴合有凸轮(23),所述凸轮(23)转动连接在固定架(28)上,所述凸轮(23)通过转轴固定套设有第二皮带轮,所述第一皮带轮(21)和第二皮带轮上共同套设有皮带(22),所述机体(1)的上方设有输送管(10),所述输送管(10)通过支架(9)固定在机体(1)上,所述输送管(10)上设有抽气装置,所述输送管(10)右端位于纸杯内套腔(7)的正上方,所述输送管(10)的左端设有三通管,所述三通管的左端滑动连接有限位杆(18),所述限位杆(18)上固定连接有挡板(17),所述挡板(17)与三通管的内壁之间设有多个复位弹簧(19),所述三通管的底端出口处设有第一旋转工位(14),所述第一旋转工位(14)的下方平行设有第二旋转工位(15),所述机体(1)的上端从左至右依次设有纸杯外套输送装置(16)、点胶装置(13)和支撑架(12),所述输送管(10)的下端与支撑架(12)对应的位置固定连接有气缸(11),所述机体(1)上设有控制装置(3),所述控制装置(3)、电机(6)、微型电机(20)、气缸(11)、抽气装置、第一旋转工位(14)和第二旋转工位(15)电连接。
要求:
1.一种双层纸杯制备装置,包括机体(1),其特征在于,所述机体(1)的下端设有行走机构(2),所述机体(1)的下端右侧设有支撑机构(4),所述机体(1)上设有电机(6),所述机体(1)的右侧设有纸杯内套输送装置(5),所述纸杯内套输送装置(5)内开设有纸杯内套腔(7),所述纸杯内套腔(7)的两端竖直设有螺纹杆(29),两个所述螺纹杆(29)的底端均固定套设有同步轮,两个所述同步轮上共同套设有同步带,位于右侧的所述螺纹杆(29)的底端与电机(6)的驱动端连接,所述纸杯内套腔(7)内水平设有支撑板(30),所述支撑板(30)的两端均与螺纹杆(29)螺纹连接,所述支撑板(30)上设有多个纸杯内套(8),所述机体(1)上设有微型电机(20),所述微型电机(20)的驱动轴固定套设有第一皮带轮(21),所述微型电机(20)的右侧设有固定架(28),且固定架(28)固定连接在机体(1)上,所述固定架(28)上水平设有滑杆(27),所述滑杆(27)上滑动连接有齿条(26),所述齿条(26)的上端设有扇形齿轮(25),且扇形齿轮(25)转动连接在固定架(28)上,所述扇形齿轮(25)的顶端左侧设有滚轮(24),所述滚轮(24)贴合有凸轮(23),所述凸轮(23)转动连接在固定架(28)上,所述凸轮(23)通过转轴固定套设有第二皮带轮,所述第一皮带轮(21)和第二皮带轮上共同套设有皮带(22),所述机体(1)的上方设有输送管(10),所述输送管(10)通过支架(9)固定在机体(1)上,所述输送管(10)上设有抽气装置,所述输送管(10)右端位于纸杯内套腔(7)的正上方,所述输送管(10)的左端设有三通管,所述三通管的左端滑动连接有限位杆(18),所述限位杆(18)上固定连接有挡板(17),所述挡板(17)与三通管的内壁之间设有多个复位弹簧(19),所述三通管的底端出口处设有第一旋转工位(14),所述第一旋转工位(14)的下方平行设有第二旋转工位(15),所述机体(1)的上端从左至右依次设有纸杯外套输送装置(16)、点胶装置(13)和支撑架(12),所述输送管(10)的下端与支撑架(12)对应的位置固定连接有气缸(11),所述机体(1)上设有控制装置(3),所述控制装置(3)、电机(6)、微型电机(20)、气缸(11)、抽气装置、第一旋转工位(14)和第二旋转工位(15)电连接。
2.根据权利要求1所述的一种双层纸杯制备装置,其特征在于,所述行走机构(2)由限位柱、弹簧减震器、滚轮架和行走轮四部分构成。
3.根据权利要求2所述的一种双层纸杯制备装置,其特征在于,所述机体(1)的下端滑动连接有多个限位柱,所述限位柱的下端设有滚轮架,所述滚轮架与机体(1)之间设有弹簧减震器,每组所述滚轮架上均转动连接有行走轮,每个所述行走轮上均设有防滑纹。
4.根据权利要求1所述的一种双层纸杯制备装置,其特征在于,所述支撑机构(4)由连接架、丝杆、转盘和支撑脚四部分构成,且连接架采用L型结构。
5.根据权利要求4所述的一种双层纸杯制备装置,其特征在于,所述机体(1)的下端右侧固定连接有连接架,所述连接架上螺纹连接有丝杆,所述丝杆的上端固定连接有转盘,所述丝杆的下端转动连接有支撑脚。
6.根据权利要求1所述的一种双层纸杯制备装置,其特征在于,所述支架(9)通过法兰与输送管(10)连接,且支架(9)的底端与机体(1)焊接。
7.根据权利要求1所述的一种双层纸杯制备装置,其特征在于,所述螺纹杆(29)通过深沟球轴承转动连接在纸杯内套输送装置(5)上。
一种双层纸杯制备装置
技术领域
本发明涉及双层纸杯制备技术领域,尤其涉及一种双层纸杯制备装置。
背景技术
纸杯制备机是生产一次性纸杯的生产线设备,包括送纸单元、杯体成型机、多工位分度转盘、传动机构、杯底安装机构等多个加工部件,以分别实现送纸、杯体成型、脱杯、杯底成型、送底,杯底安装等各个加工工序。现有的这种纸杯制备机,只能用于制备单层的纸杯,而双层纸杯的制备需要首先将已经制得的单层纸杯作为内杯,通过手工在内杯的杯底部位涂上胶黏剂,然后将外层杯体嵌套在内杯外侧,利用涂抹在内杯杯体上的胶黏剂实现内杯与外杯粘合为一体。这种制备方式效率较低,因此需要一种加工效率高的一种双层纸杯制备装置。
发明内容
本发明的目的是为了解决现有技术中加工效率低,入料装置简陋的问题,而提出的一种双层纸杯制备装置。
为了实现上述目的,本发明采用了如下技术方案:
一种双层纸杯制备装置,包括机体,所述机体的下端设有行走机构,所述机体的下端右侧设有支撑机构,所述机体上设有电机,所述机体的右侧设有纸杯内套输送装置,所述纸杯内套输送装置内开设有纸杯内套腔,所述纸杯内套腔的两端竖直设有螺纹杆,两个所述螺纹杆的底端均固定套设有同步轮,两个所述同步轮上共同套设有同步带,位于右侧的所述螺纹杆的底端与电机的驱动端连接,所述纸杯内套腔内水平设有支撑板,所述支撑板的两端均与螺纹杆螺纹连接,所述支撑板上设有多个纸杯内套,所述机体上设有微型电机,所述微型电机的驱动轴固定套设有第一皮带轮,所述微型电机的右侧设有固定架,且固定架固定连接在机体上,所述固定架上水平设有滑杆,所述滑杆上滑动连接有齿条,所述齿条的上端设有扇形齿轮,且扇形齿轮转动连接在固定架上,所述扇形齿轮的顶端左侧设有滚轮,所述滚轮贴合有凸轮,所述凸轮转动连接在固定架上,所述凸轮通过转轴固定套设有第二皮带轮,所述第一皮带轮和第二皮带轮上共同套设有皮带,所述机体的上方设有输送管,所述输送管通过支架固定在机体上,所述输送管上设有抽气装置,所述输送管右端位于纸杯内套腔的正上方,所述输送管的左端设有三通管,所述三通管的左端滑动连接有限位杆,所述限位杆上固定连接有挡板,所述挡板与三通管的内壁之间设有多个复位弹簧,所述三通管的底端出口处设有第一旋转工位,所述第一旋转工位的下方平行设有第二旋转工位,所述机体的上端从左至右依次设有纸杯外套输送装置、点胶装置和支撑架,所述输送管的下端与支撑架对应的位置固定连接有气缸,所述机体上设有控制装置,所述控制装置、电机、微型电机、气缸、抽气装置、第一旋转工位和第二旋转工位电连接。
优选地,所述行走机构由限位柱、弹簧减震器、滚轮架和行走轮四部分构成。
优选地,所述机体的下端滑动连接有多个限位柱,所述限位柱的下端设有滚轮架,所述滚轮架与机体之间设有弹簧减震器,每组所述滚轮架上均转动连接有行走轮,每个所述行走轮上均设有防滑纹。
优选地,所述支撑机构由连接架、丝杆、转盘和支撑脚四部分构成,且连接架采用L型结构。
优选地,所述机体的下端右侧固定连接有连接架,所述连接架上螺纹连接有丝杆,所述丝杆的上端固定连接有转盘,所述丝杆的下端转动连接有支撑脚。
优选地,所述支架通过法兰与输送管连接,且支架的底端与机体焊接。
优选地,所述螺纹杆通过深沟球轴承转动连接在纸杯内套输送装置上
本发明中,采用纸杯外套内点胶的方式与纸杯内套进行贴合,极大的提高了生产效率,打开电机,电机的端带动右侧的螺纹杆转动,右侧的螺纹杆通过同步带和同步轮机构带动左侧的螺纹杆同步转动,并带动与之螺纹连接的支撑板运动,放置在纸杯内套腔内的纸杯内套可逐步上升,从而方便送入输送管内,纸杯内套输送装置的顶端具备间歇固定装置,从而使输送管内一次只能上升一个纸杯内套,打开微型电机,微型电机的驱动轴带动第一皮带轮转动,第一皮带轮转动后通过皮带带动第二皮带轮转动,第二皮带轮带动与之固定连接的凸轮转动,凸轮转动后通过滚轮带动扇形齿轮左右摇摆往复运动,并进而带动与之啮合的齿条左右往复运动,从而可对纸杯内套进行阻隔,纸杯内套由抽气装置抽入输送管中,一直运动到三通管处,碰触到挡板后在复位弹簧的弹力作用下摆正并落入底部的第一旋转工位上,纸杯外套输送装置将预先制好的纸杯外套送入第二旋转工位上,经由点胶装置进行点胶,并运动至支撑架的上方,打开气缸,气缸的活塞杆下压第一旋转工位上的纸杯内套,并将其与纸杯外套贴合。本发明结构稳定,抗震性能良好,便于移动,由输送管自动输送纸杯内套,且内套输送装置具备间隙固定装置,自动化程度高,可节省工作人员大量的时间和精力,值得推广。
附图说明

图1为本发明提出的一种双层纸杯制备装置的结构示意图;

图2为图1中A部分放大结构示意图;

图3为图1中B部分放大结构示意图。
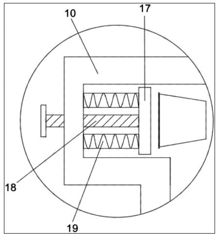
图中:1机体、2行走机构、3控制装置、4支撑机构、5纸杯内套输送装置、6电机、7纸杯内套腔、8纸杯内套、9支架、10输送管、11气缸、12支撑架、13点胶装置、14第一旋转工位、15第二旋转工位、16纸杯外套输送装置、17挡板、18限位杆、19复位弹簧、20微型电机、21第一皮带轮、22皮带、23凸轮、24滚轮、25扇形齿轮、26齿条、27滑杆、28固定架、29螺纹杆、30支撑板。
具体实施方式
下面将结合本发明实施例中的附图,对本发明实施例中的技术方案进行清楚、完整地描述,显然,所描述的实施例仅仅是本发明一部分实施例,而不是全部的实施例。
参照图1-3,一种双层纸杯制备装置,包括机体1,机体1的下端设有行走机构2,机体1的下端右侧设有支撑机构4,机体1上设有电机6,机体1的右侧设有纸杯内套输送装置5,纸杯内套输送装置5内开设有纸杯内套腔7,纸杯内套腔7的两端竖直设有螺纹杆29,两个螺纹杆29的底端均固定套设有同步轮,两个同步轮上共同套设有同步带,位于右侧的螺纹杆29的底端与电机6的驱动端连接,纸杯内套腔7内水平设有支撑板30,支撑板30的两端均与螺纹杆29螺纹连接,支撑板30上设有多个纸杯内套8,机体1上设有微型电机20,微型电机20的驱动轴固定套设有第一皮带轮21,微型电机20的右侧设有固定架28,且固定架28固定连接在机体1上,固定架28上水平设有滑杆27,滑杆27上滑动连接有齿条26,齿条26的上端设有扇形齿轮25,且扇形齿轮25转动连接在固定架28上,扇形齿轮25的顶端左侧设有滚轮24,滚轮24贴合有凸轮23,凸轮23转动连接在固定架28上,凸轮23通过转轴固定套设有第二皮带轮,第一皮带轮21和第二皮带轮上共同套设有皮带22,机体1的上方设有输送管10,输送管10通过支架9固定在机体1上,输送管10上设有抽气装置,输送管10右端位于纸杯内套腔7的正上方,输送管10的左端设有三通管,三通管的左端滑动连接有限位杆18,限位杆18上固定连接有挡板17,挡板17与三通管的内壁之间设有多个复位弹簧19,三通管的底端出口处设有第一旋转工位14,第一旋转工位14的下方平行设有第二旋转工位15,机体1的上端从左至右依次设有纸杯外套输送装置16、点胶装置13和支撑架12,输送管10的下端与支撑架12对应的位置固定连接有气缸11,机体1上设有控制装置3,控制装置3、电机6、微型电机20、气缸11、抽气装置、第一旋转工位14和第二旋转工位15电连接。
本发明中,行走机构2由限位柱、弹簧减震器、滚轮架和行走轮四部分构成,机体1的下端滑动连接有多个限位柱,限位柱的下端设有滚轮架,滚轮架与机体1之间设有弹簧减震器,每组滚轮架上均转动连接有行走轮,每个行走轮上均设有防滑纹,行走机构2具备弹簧减震器,可在移动时缓冲减震,减少噪音,支撑机构4由连接架、丝杆、转盘和支撑脚四部分构成,且连接架采用L型结构,机体1的下端右侧固定连接有连接架,连接架上螺纹连接有丝杆,丝杆的上端固定连接有转盘,丝杆的下端转动连接有支撑脚,支撑机构4可对运动后的机体1进行制动和固定,防止其滑动,支架9通过法兰与输送管10连接,且支架9的底端与机体1焊接,法兰连接紧密性好,且安装方便,螺纹杆29通过深沟球轴承转动连接在纸杯内套输送装置5上,深沟球轴承的设置起到支撑和固定的作用,使螺纹杆29只能实现转动。
本发明工作原理为:打开电机6,电机6的端带动右侧的螺纹杆29转动,右侧的螺纹杆29通过同步带和同步轮机构带动左侧的螺纹杆29同步转动,并带动与之螺纹连接的支撑板30运动,放置在纸杯内套腔7内的纸杯内套8可逐步上升,从而方便送入输送管10内,纸杯内套输送装置5的顶端具备间歇固定装置,从而使输送管10内一次只能上升一个纸杯内套8,打开微型电机20,微型电机20的驱动轴带动第一皮带轮21转动,第一皮带轮21转动后通过皮带22带动第二皮带轮转动,第二皮带轮带动与之固定连接的凸轮23转动,凸轮23转动后通过滚轮24带动扇形齿轮25左右摇摆往复运动,并进而带动与之啮合的齿条26左右往复运动,从而可对纸杯内套8进行阻隔,纸杯内套8由抽气装置抽入输送管10中,一直运动到三通管处,碰触到挡板17后在复位弹簧19的弹力作用下摆正并落入底部的第一旋转工位14上,纸杯外套输送装置16将预先制好的纸杯外套送入第二旋转工位15上,经由点胶装置13进行点胶,并运动至支撑架12的上方,打开气缸11,气缸11的活塞杆下压第一旋转工位14上的纸杯内套,并将其与纸杯外套贴合。
以上所述,仅为本发明较佳的具体实施方式,但本发明的保护范围并不局限于此,任何熟悉本技术领域的技术人员在本发明揭露的技术范围内,根据本发明的技术方案及其发明构思加以等同替换或改变,都应涵盖在本发明的保护范围之内。
【申请公布号:CN107901499A;申请权利人:安庆市千禧龙包装有限公司;发明设计人:储小应;】
摘要:
本发明公开了一种双层纸杯制备装置,包括机体,所述机体的下端设有行走机构,所述机体的下端右侧设有支撑机构,所述机体上设有电机,所述机体的右侧设有纸杯内套输送装置,所述纸杯内套输送装置内开设有纸杯内套腔,所述纸杯内套腔的两端竖直设有螺纹杆,两个所述螺纹杆的底端均固定套设有同步轮,两个所述同步轮上共同套设有同步带,位于右侧的所述螺纹杆的底端与电机的驱动端连接,所述纸杯内套腔内水平设有支撑板。本发明结构稳定,抗震性能良好,便于移动,由输送管自动输送纸杯内套,且内套输送装置具备间隙固定装置,自动化程度高,可节省工作人员大量的时间和精力,值得推广。
主权项:
一种双层纸杯制备装置,包括机体(1),其特征在于,所述机体(1)的下端设有行走机构(2),所述机体(1)的下端右侧设有支撑机构(4),所述机体(1)上设有电机(6),所述机体(1)的右侧设有纸杯内套输送装置(5),所述纸杯内套输送装置(5)内开设有纸杯内套腔(7),所述纸杯内套腔(7)的两端竖直设有螺纹杆(29),两个所述螺纹杆(29)的底端均固定套设有同步轮,两个所述同步轮上共同套设有同步带,位于右侧的所述螺纹杆(29)的底端与电机(6)的驱动端连接,所述纸杯内套腔(7)内水平设有支撑板(30),所述支撑板(30)的两端均与螺纹杆(29)螺纹连接,所述支撑板(30)上设有多个纸杯内套(8),所述机体(1)上设有微型电机(20),所述微型电机(20)的驱动轴固定套设有第一皮带轮(21),所述微型电机(20)的右侧设有固定架(28),且固定架(28)固定连接在机体(1)上,所述固定架(28)上水平设有滑杆(27),所述滑杆(27)上滑动连接有齿条(26),所述齿条(26)的上端设有扇形齿轮(25),且扇形齿轮(25)转动连接在固定架(28)上,所述扇形齿轮(25)的顶端左侧设有滚轮(24),所述滚轮(24)贴合有凸轮(23),所述凸轮(23)转动连接在固定架(28)上,所述凸轮(23)通过转轴固定套设有第二皮带轮,所述第一皮带轮(21)和第二皮带轮上共同套设有皮带(22),所述机体(1)的上方设有输送管(10),所述输送管(10)通过支架(9)固定在机体(1)上,所述输送管(10)上设有抽气装置,所述输送管(10)右端位于纸杯内套腔(7)的正上方,所述输送管(10)的左端设有三通管,所述三通管的左端滑动连接有限位杆(18),所述限位杆(18)上固定连接有挡板(17),所述挡板(17)与三通管的内壁之间设有多个复位弹簧(19),所述三通管的底端出口处设有第一旋转工位(14),所述第一旋转工位(14)的下方平行设有第二旋转工位(15),所述机体(1)的上端从左至右依次设有纸杯外套输送装置(16)、点胶装置(13)和支撑架(12),所述输送管(10)的下端与支撑架(12)对应的位置固定连接有气缸(11),所述机体(1)上设有控制装置(3),所述控制装置(3)、电机(6)、微型电机(20)、气缸(11)、抽气装置、第一旋转工位(14)和第二旋转工位(15)电连接。
要求:
1.一种双层纸杯制备装置,包括机体(1),其特征在于,所述机体(1)的下端设有行走机构(2),所述机体(1)的下端右侧设有支撑机构(4),所述机体(1)上设有电机(6),所述机体(1)的右侧设有纸杯内套输送装置(5),所述纸杯内套输送装置(5)内开设有纸杯内套腔(7),所述纸杯内套腔(7)的两端竖直设有螺纹杆(29),两个所述螺纹杆(29)的底端均固定套设有同步轮,两个所述同步轮上共同套设有同步带,位于右侧的所述螺纹杆(29)的底端与电机(6)的驱动端连接,所述纸杯内套腔(7)内水平设有支撑板(30),所述支撑板(30)的两端均与螺纹杆(29)螺纹连接,所述支撑板(30)上设有多个纸杯内套(8),所述机体(1)上设有微型电机(20),所述微型电机(20)的驱动轴固定套设有第一皮带轮(21),所述微型电机(20)的右侧设有固定架(28),且固定架(28)固定连接在机体(1)上,所述固定架(28)上水平设有滑杆(27),所述滑杆(27)上滑动连接有齿条(26),所述齿条(26)的上端设有扇形齿轮(25),且扇形齿轮(25)转动连接在固定架(28)上,所述扇形齿轮(25)的顶端左侧设有滚轮(24),所述滚轮(24)贴合有凸轮(23),所述凸轮(23)转动连接在固定架(28)上,所述凸轮(23)通过转轴固定套设有第二皮带轮,所述第一皮带轮(21)和第二皮带轮上共同套设有皮带(22),所述机体(1)的上方设有输送管(10),所述输送管(10)通过支架(9)固定在机体(1)上,所述输送管(10)上设有抽气装置,所述输送管(10)右端位于纸杯内套腔(7)的正上方,所述输送管(10)的左端设有三通管,所述三通管的左端滑动连接有限位杆(18),所述限位杆(18)上固定连接有挡板(17),所述挡板(17)与三通管的内壁之间设有多个复位弹簧(19),所述三通管的底端出口处设有第一旋转工位(14),所述第一旋转工位(14)的下方平行设有第二旋转工位(15),所述机体(1)的上端从左至右依次设有纸杯外套输送装置(16)、点胶装置(13)和支撑架(12),所述输送管(10)的下端与支撑架(12)对应的位置固定连接有气缸(11),所述机体(1)上设有控制装置(3),所述控制装置(3)、电机(6)、微型电机(20)、气缸(11)、抽气装置、第一旋转工位(14)和第二旋转工位(15)电连接。
2.根据权利要求1所述的一种双层纸杯制备装置,其特征在于,所述行走机构(2)由限位柱、弹簧减震器、滚轮架和行走轮四部分构成。
3.根据权利要求2所述的一种双层纸杯制备装置,其特征在于,所述机体(1)的下端滑动连接有多个限位柱,所述限位柱的下端设有滚轮架,所述滚轮架与机体(1)之间设有弹簧减震器,每组所述滚轮架上均转动连接有行走轮,每个所述行走轮上均设有防滑纹。
4.根据权利要求1所述的一种双层纸杯制备装置,其特征在于,所述支撑机构(4)由连接架、丝杆、转盘和支撑脚四部分构成,且连接架采用L型结构。
5.根据权利要求4所述的一种双层纸杯制备装置,其特征在于,所述机体(1)的下端右侧固定连接有连接架,所述连接架上螺纹连接有丝杆,所述丝杆的上端固定连接有转盘,所述丝杆的下端转动连接有支撑脚。
6.根据权利要求1所述的一种双层纸杯制备装置,其特征在于,所述支架(9)通过法兰与输送管(10)连接,且支架(9)的底端与机体(1)焊接。
7.根据权利要求1所述的一种双层纸杯制备装置,其特征在于,所述螺纹杆(29)通过深沟球轴承转动连接在纸杯内套输送装置(5)上。
一种双层纸杯制备装置
技术领域
本发明涉及双层纸杯制备技术领域,尤其涉及一种双层纸杯制备装置。
背景技术
纸杯制备机是生产一次性纸杯的生产线设备,包括送纸单元、杯体成型机、多工位分度转盘、传动机构、杯底安装机构等多个加工部件,以分别实现送纸、杯体成型、脱杯、杯底成型、送底,杯底安装等各个加工工序。现有的这种纸杯制备机,只能用于制备单层的纸杯,而双层纸杯的制备需要首先将已经制得的单层纸杯作为内杯,通过手工在内杯的杯底部位涂上胶黏剂,然后将外层杯体嵌套在内杯外侧,利用涂抹在内杯杯体上的胶黏剂实现内杯与外杯粘合为一体。这种制备方式效率较低,因此需要一种加工效率高的一种双层纸杯制备装置。
发明内容
本发明的目的是为了解决现有技术中加工效率低,入料装置简陋的问题,而提出的一种双层纸杯制备装置。
为了实现上述目的,本发明采用了如下技术方案:
一种双层纸杯制备装置,包括机体,所述机体的下端设有行走机构,所述机体的下端右侧设有支撑机构,所述机体上设有电机,所述机体的右侧设有纸杯内套输送装置,所述纸杯内套输送装置内开设有纸杯内套腔,所述纸杯内套腔的两端竖直设有螺纹杆,两个所述螺纹杆的底端均固定套设有同步轮,两个所述同步轮上共同套设有同步带,位于右侧的所述螺纹杆的底端与电机的驱动端连接,所述纸杯内套腔内水平设有支撑板,所述支撑板的两端均与螺纹杆螺纹连接,所述支撑板上设有多个纸杯内套,所述机体上设有微型电机,所述微型电机的驱动轴固定套设有第一皮带轮,所述微型电机的右侧设有固定架,且固定架固定连接在机体上,所述固定架上水平设有滑杆,所述滑杆上滑动连接有齿条,所述齿条的上端设有扇形齿轮,且扇形齿轮转动连接在固定架上,所述扇形齿轮的顶端左侧设有滚轮,所述滚轮贴合有凸轮,所述凸轮转动连接在固定架上,所述凸轮通过转轴固定套设有第二皮带轮,所述第一皮带轮和第二皮带轮上共同套设有皮带,所述机体的上方设有输送管,所述输送管通过支架固定在机体上,所述输送管上设有抽气装置,所述输送管右端位于纸杯内套腔的正上方,所述输送管的左端设有三通管,所述三通管的左端滑动连接有限位杆,所述限位杆上固定连接有挡板,所述挡板与三通管的内壁之间设有多个复位弹簧,所述三通管的底端出口处设有第一旋转工位,所述第一旋转工位的下方平行设有第二旋转工位,所述机体的上端从左至右依次设有纸杯外套输送装置、点胶装置和支撑架,所述输送管的下端与支撑架对应的位置固定连接有气缸,所述机体上设有控制装置,所述控制装置、电机、微型电机、气缸、抽气装置、第一旋转工位和第二旋转工位电连接。
优选地,所述行走机构由限位柱、弹簧减震器、滚轮架和行走轮四部分构成。
优选地,所述机体的下端滑动连接有多个限位柱,所述限位柱的下端设有滚轮架,所述滚轮架与机体之间设有弹簧减震器,每组所述滚轮架上均转动连接有行走轮,每个所述行走轮上均设有防滑纹。
优选地,所述支撑机构由连接架、丝杆、转盘和支撑脚四部分构成,且连接架采用L型结构。
优选地,所述机体的下端右侧固定连接有连接架,所述连接架上螺纹连接有丝杆,所述丝杆的上端固定连接有转盘,所述丝杆的下端转动连接有支撑脚。
优选地,所述支架通过法兰与输送管连接,且支架的底端与机体焊接。
优选地,所述螺纹杆通过深沟球轴承转动连接在纸杯内套输送装置上
本发明中,采用纸杯外套内点胶的方式与纸杯内套进行贴合,极大的提高了生产效率,打开电机,电机的端带动右侧的螺纹杆转动,右侧的螺纹杆通过同步带和同步轮机构带动左侧的螺纹杆同步转动,并带动与之螺纹连接的支撑板运动,放置在纸杯内套腔内的纸杯内套可逐步上升,从而方便送入输送管内,纸杯内套输送装置的顶端具备间歇固定装置,从而使输送管内一次只能上升一个纸杯内套,打开微型电机,微型电机的驱动轴带动第一皮带轮转动,第一皮带轮转动后通过皮带带动第二皮带轮转动,第二皮带轮带动与之固定连接的凸轮转动,凸轮转动后通过滚轮带动扇形齿轮左右摇摆往复运动,并进而带动与之啮合的齿条左右往复运动,从而可对纸杯内套进行阻隔,纸杯内套由抽气装置抽入输送管中,一直运动到三通管处,碰触到挡板后在复位弹簧的弹力作用下摆正并落入底部的第一旋转工位上,纸杯外套输送装置将预先制好的纸杯外套送入第二旋转工位上,经由点胶装置进行点胶,并运动至支撑架的上方,打开气缸,气缸的活塞杆下压第一旋转工位上的纸杯内套,并将其与纸杯外套贴合。本发明结构稳定,抗震性能良好,便于移动,由输送管自动输送纸杯内套,且内套输送装置具备间隙固定装置,自动化程度高,可节省工作人员大量的时间和精力,值得推广。
附图说明

图1为本发明提出的一种双层纸杯制备装置的结构示意图;

图2为图1中A部分放大结构示意图;

图3为图1中B部分放大结构示意图。
图中:1机体、2行走机构、3控制装置、4支撑机构、5纸杯内套输送装置、6电机、7纸杯内套腔、8纸杯内套、9支架、10输送管、11气缸、12支撑架、13点胶装置、14第一旋转工位、15第二旋转工位、16纸杯外套输送装置、17挡板、18限位杆、19复位弹簧、20微型电机、21第一皮带轮、22皮带、23凸轮、24滚轮、25扇形齿轮、26齿条、27滑杆、28固定架、29螺纹杆、30支撑板。
具体实施方式
下面将结合本发明实施例中的附图,对本发明实施例中的技术方案进行清楚、完整地描述,显然,所描述的实施例仅仅是本发明一部分实施例,而不是全部的实施例。
参照图1-3,一种双层纸杯制备装置,包括机体1,机体1的下端设有行走机构2,机体1的下端右侧设有支撑机构4,机体1上设有电机6,机体1的右侧设有纸杯内套输送装置5,纸杯内套输送装置5内开设有纸杯内套腔7,纸杯内套腔7的两端竖直设有螺纹杆29,两个螺纹杆29的底端均固定套设有同步轮,两个同步轮上共同套设有同步带,位于右侧的螺纹杆29的底端与电机6的驱动端连接,纸杯内套腔7内水平设有支撑板30,支撑板30的两端均与螺纹杆29螺纹连接,支撑板30上设有多个纸杯内套8,机体1上设有微型电机20,微型电机20的驱动轴固定套设有第一皮带轮21,微型电机20的右侧设有固定架28,且固定架28固定连接在机体1上,固定架28上水平设有滑杆27,滑杆27上滑动连接有齿条26,齿条26的上端设有扇形齿轮25,且扇形齿轮25转动连接在固定架28上,扇形齿轮25的顶端左侧设有滚轮24,滚轮24贴合有凸轮23,凸轮23转动连接在固定架28上,凸轮23通过转轴固定套设有第二皮带轮,第一皮带轮21和第二皮带轮上共同套设有皮带22,机体1的上方设有输送管10,输送管10通过支架9固定在机体1上,输送管10上设有抽气装置,输送管10右端位于纸杯内套腔7的正上方,输送管10的左端设有三通管,三通管的左端滑动连接有限位杆18,限位杆18上固定连接有挡板17,挡板17与三通管的内壁之间设有多个复位弹簧19,三通管的底端出口处设有第一旋转工位14,第一旋转工位14的下方平行设有第二旋转工位15,机体1的上端从左至右依次设有纸杯外套输送装置16、点胶装置13和支撑架12,输送管10的下端与支撑架12对应的位置固定连接有气缸11,机体1上设有控制装置3,控制装置3、电机6、微型电机20、气缸11、抽气装置、第一旋转工位14和第二旋转工位15电连接。
本发明中,行走机构2由限位柱、弹簧减震器、滚轮架和行走轮四部分构成,机体1的下端滑动连接有多个限位柱,限位柱的下端设有滚轮架,滚轮架与机体1之间设有弹簧减震器,每组滚轮架上均转动连接有行走轮,每个行走轮上均设有防滑纹,行走机构2具备弹簧减震器,可在移动时缓冲减震,减少噪音,支撑机构4由连接架、丝杆、转盘和支撑脚四部分构成,且连接架采用L型结构,机体1的下端右侧固定连接有连接架,连接架上螺纹连接有丝杆,丝杆的上端固定连接有转盘,丝杆的下端转动连接有支撑脚,支撑机构4可对运动后的机体1进行制动和固定,防止其滑动,支架9通过法兰与输送管10连接,且支架9的底端与机体1焊接,法兰连接紧密性好,且安装方便,螺纹杆29通过深沟球轴承转动连接在纸杯内套输送装置5上,深沟球轴承的设置起到支撑和固定的作用,使螺纹杆29只能实现转动。
本发明工作原理为:打开电机6,电机6的端带动右侧的螺纹杆29转动,右侧的螺纹杆29通过同步带和同步轮机构带动左侧的螺纹杆29同步转动,并带动与之螺纹连接的支撑板30运动,放置在纸杯内套腔7内的纸杯内套8可逐步上升,从而方便送入输送管10内,纸杯内套输送装置5的顶端具备间歇固定装置,从而使输送管10内一次只能上升一个纸杯内套8,打开微型电机20,微型电机20的驱动轴带动第一皮带轮21转动,第一皮带轮21转动后通过皮带22带动第二皮带轮转动,第二皮带轮带动与之固定连接的凸轮23转动,凸轮23转动后通过滚轮24带动扇形齿轮25左右摇摆往复运动,并进而带动与之啮合的齿条26左右往复运动,从而可对纸杯内套8进行阻隔,纸杯内套8由抽气装置抽入输送管10中,一直运动到三通管处,碰触到挡板17后在复位弹簧19的弹力作用下摆正并落入底部的第一旋转工位14上,纸杯外套输送装置16将预先制好的纸杯外套送入第二旋转工位15上,经由点胶装置13进行点胶,并运动至支撑架12的上方,打开气缸11,气缸11的活塞杆下压第一旋转工位14上的纸杯内套,并将其与纸杯外套贴合。
以上所述,仅为本发明较佳的具体实施方式,但本发明的保护范围并不局限于此,任何熟悉本技术领域的技术人员在本发明揭露的技术范围内,根据本发明的技术方案及其发明构思加以等同替换或改变,都应涵盖在本发明的保护范围之内。
