应用案例
您当前的位置:产品应用
一种基于SLA原理3D打印机的刮平升降机构
一种基于SLA原理3D打印机的刮平升降机构
【申请公布号:CN107901405A;申请权利人:长沙远达华信息科技有限公司;】
摘要:
本发明提供一种基于SLA原理3D打印机的刮平升降机构,XY轴电机旋转经同步带传动带动第一连接板,进而拉动悬臂式刮刀在工作台XY平面运动;Z轴电机旋转经丝杠副传动带动第二连接板,进而拉动吊柱以带动工作台作升降运动,在上述方案中仅采用一组同步带来实现悬臂式刮刀在工作台XY平面运动,悬臂式刮刀不会在第一导轨滑块上出现的爬行或者咬死的现象,实现刮平机构的平稳运行,机构得到简化,降低了机构中零部件的加工成本,同时还缩小了整体设备尺寸,并极大地提高了生产效率;Z轴升降机构中丝杠副和第二导轨滑块等部件均设置于Z轴基板后方,设备易于维护,使得部件的安装调节及维护更加便捷。
主权项:
一种基于SLA原理3D打印机的刮平升降机构,其特征在于,包括刮平机构(1)和升降机构(2),所述刮平机构(1)包括:刮刀(11)、XY基板(12)、第一导轨滑块(13)、以及第一连接板(14),所述XY基板(12)竖向设于树脂槽(4)的前端面且位于工作台(3)前端面下方,所述第一导轨滑块(13)横向固定于所述XY基板(12)上,所述第一连接板(14)与第一导轨滑块(13)成滑动配合连接,所述第一连接板(14)上固定连接所述刮刀(11),所述刮平机构(1)还包括与第一连接板(14)固定连接的同步带(15),XY轴电机(16)旋转经同步带(15)传动带动第一连接板(14),进而拉动刮刀(11)在工作台(3)的XY平面运动;所述升降机构(2)包括:Z轴基板(21)、丝杠副(22)、第二导轨滑块(23),以及第二连接板(24),所述Z轴基板(21)垂直固定连接于树脂槽(4)后上方,丝杠副(22)和第二导轨滑块(23)纵向固定连接于所述Z轴基板(21)后端面,所述第二连接板(24)与所述Z轴基板(21)套设连接,并且第二连接板(24)与丝杆螺母固定连接,第二连接板(24)与第二导轨滑块(23)成滑动配合连接,在所述第二连接板(24)前端面还连接一组吊柱(25),所述吊柱(25)垂直向下延伸一直连接于工作台(3)的后端面,Z轴电机(26)旋转经丝杠副(22)传动带动第二连接板(24),进而拉动吊柱(25)以带动工作台(3)作升降运动。
要求:
1.一种基于SLA原理3D打印机的刮平升降机构,其特征在于,包括刮平机构(1)和升降机构(2),
所述刮平机构(1)包括:刮刀(11)、XY基板(12)、第一导轨滑块(13)、以及第一连接板(14),所述XY基板(12)竖向设于树脂槽(4)的前端面且位于工作台(3)前端面下方,所述第一导轨滑块(13)横向固定于所述XY基板(12)上,所述第一连接板(14)与第一导轨滑块(13)成滑动配合连接,所述第一连接板(14)上固定连接所述刮刀(11),所述刮平机构(1)还包括与第一连接板(14)固定连接的同步带(15),XY轴电机(16)旋转经同步带(15)传动带动第一连接板(14),进而拉动刮刀(11)在工作台(3)的XY平面运动;
所述升降机构(2)包括:Z轴基板(21)、丝杠副(22)、第二导轨滑块(23),以及第二连接板(24),所述Z轴基板(21)垂直固定连接于树脂槽(4)后上方,丝杠副(22)和第二导轨滑块(23)纵向固定连接于所述Z轴基板(21)后端面,所述第二连接板(24)与所述Z轴基板(21)套设连接,并且第二连接板(24)与丝杆螺母固定连接,第二连接板(24)与第二导轨滑块(23)成滑动配合连接,在所述第二连接板(24)前端面还连接一组吊柱(25),所述吊柱(25)垂直向下延伸一直连接于工作台(3)的后端面,Z轴电机(26)旋转经丝杠副(22)传动带动第二连接板(24),进而拉动吊柱(25)以带动工作台(3)作升降运动。
2.根据权利要求1所述的刮平升降机构,其特征在于,所述刮刀(11)为悬臂式刮刀,所述刮刀(11)具有固定端和自由端,刮刀固定端与第一连接板固定连接,刮刀自由端从固定端一直延伸至工作台(3)的后端面。
3.根据权利要求1或2所述的刮平升降机构,其特征在于,所述第一导轨滑块(13)为一组平行设置的上导轨滑块(131)和下导轨滑块(132)。
4.根据权利要求3所述的刮平升降机构,其特征在于,所述同步带(15)横向固设于XY基板(12)上,并与所述上导轨滑块(131)和下导轨滑块(132)平行设置。
5.根据权利要求1所述的刮平升降机构,其特征在于,所述第二导轨滑块(23)为一组平行设置的左导轨滑块(231)和右导轨滑块(232)。
一种基于SLA原理3D打印机的刮平升降机构
技术领域
本发明涉及3D打印机设备技术领域,尤其是一种使得3D打印机运行平稳而且便于维护的3D 打印机刮平升降机构。
背景技术
SLA(Stereo Lithography Apparatus)技术就是激光立体雕刻技术,基于SLA原理的3D打印机,也即激光快速成型机,近年来得到快速发展,它是集机械、激光、光化学、软件、控制技术的结晶。基于光敏树脂受紫外光照射凝固的原理,计算机控制激光逐层扫描固化液态的光敏树脂。每一层固化的截面是由零件的三维CAD模型软件分层得到,直至最后得到光敏树脂实物原型。
请结合图1所示,其为现有技术中的一种SLA激光快速成型机中的刮平升降机构立体图。其中的XY平面刮平机构中包括XY左基板1’和XY右基板2’,并分别固定装配于树脂槽3’的左右两侧面, XY左、右基板1’、2’上表面分别固定装设有左、右导轨滑块4’、5’和左右同步带6’、7’,一刮刀8’左右两端通过固定夹具分别连接于左、右同步带6’、7’上。左、右同步带6’、7’传动带动刮刀8’,并在左、右导轨滑块4’、5’的滑动导向下作前后向往复运动,该XY平面刮平机构设置容易导致刮刀8’左右两端运行不同步,会使得刮刀8’在从动侧的左导轨滑块5’上产生爬行或者咬死现象,进而导致设备运行不稳定,生产效率低。可知的是,现有的XY平面刮平机构中通过设有的两组带轮来实现同步传动,不仅部件设置繁杂,而且零部件加工成本大,导致整体设备尺寸大,摆放不便也不美观。
另外,在Z轴升降机构中的Z轴导轨9’、丝杆10’等部件均安装在Z轴基板10’的前面,一旦上述部件被树脂材料等的蒙皮遮住,导致Z轴升降机构防护、维修均极为不方便。
发明内容
本发明的目的在于提供一种基于SLA原理的3D打印机的刮平升降机构,以解决现有技术中的3D 打印机刮平升降机构容易导致刮刀爬行或者咬死,使得设备运行不稳定,生产效率低,以及设备维护不便,同时的设备整体尺寸偏大,设备占用空间大且不美观的问题。
为解决上述技术问题,本发明采用如下技术方案:
一种基于SLA原理的3D打印机的刮平升降机构,其包括刮平机构和升降机构,所述刮平机构包括:刮刀、XY基板、第一导轨滑块,以及第一连接板,所述XY基板竖向设于树脂槽的前端面且位于工作台前端面下方,所述第一导轨滑块横向固定于所述XY基板上,所述第一连接板与第一导轨滑块成滑动配合连接,所述第一连接板上固定连接所述刮刀,所述刮平机构还包括与第一连接板固定连接的同步带,XY轴电机旋转经同步带传动带动第一连接板,进而拉动刮刀在工作台的XY平面运动;
升降机构包括:Z轴基板、丝杠副、第二导轨滑块,以及第二连接板,所述Z轴基板垂直固定连接于树脂槽后上方,丝杠副和第二导轨滑块纵向固定连接于所述Z轴基板后端面,所述第二连接板与所述Z轴基板套设连接,并且第二连接板与丝杆螺母固定连接,第二连接板与第二导轨滑块成滑动配合连接,在所述第二连接板前端面还连接一组吊柱,所述吊柱垂直向下延伸一直连接于工作台的后端面,Z轴电机旋转经丝杠副传动带动第二连接板,进而拉动吊柱以带动工作台作升降运动。
优选地,所述刮刀为悬臂式刮刀,所述刮刀具有固定端和自由端,刮刀的固定端与第一连接板固定连接,刮刀的自由端从固定端一直延伸至工作台的后端面。
优选地,所述第一导轨滑块为一组平行设置的上导轨滑块和下导轨滑块。
优选地,所述同步带横向固设于XY基板上,并与所述上导轨滑块和下导轨滑块平行设置。
优选地,所述第二导轨滑块为一组平行设置的左导轨滑块和右导轨滑块。
如上所述,本发明的一种基于SLA原理3D打印机的刮平升降机构,刮平机构中通过采用第一连接板上连接设置有悬臂式结构刮刀,仅采用一组同步带来实现刮刀在工作台XY平面运动,刮刀不会在第一导轨滑块上出现的爬行或者咬死的现象,实现刮刀的平稳运行,机构得到简化,降低了机构中零部件的加工成本,同时还缩小了整体设备尺寸,并极大地提高了生产效率,;其中的Z轴升降机构中丝杠副和第二导轨滑块等部件均设置于Z轴基板后方,设备易于维护,使得部件的安装调节及维护更加便捷。
附图说明
下面结合附图和实施方式对本发明作进一步详细说明;

图1为现有技术中一种基于SLA原理3D打印机刮平升降机构的立体图;

图2为本发明一个实施例中基于SLA原理3D打印机刮平升降机构的第一立体图;

图3图2实施例中3D打印机刮平升降机构的第二立体图。
具体实施方式
以下通过特定的具体实例说明本发明的实施方式,本领域技术人员可由本说明书所揭露的内容轻易地了解本发明的其他优点与功效。本发明还可以通过另外不同的具体实施方式加以实施或应用,本说明书中的各项细节也可以基于不同观点与应用,在没有背离本发明的精神下进行各种修饰或改变。
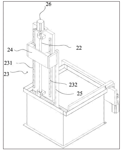
请结合图2和图3所示,其为一个实施例中3D打印机刮平升降机构的第一立体图和第二立体图。一种基于SLA原理3D打印机的刮平升降机构,其包括刮平机构和升降机构,其中的刮平机构1用于带动刮刀11在工作台3的XY平面作刮平运动,其包括:刮刀11、XY基板12、第一导轨滑块13,以及第一连接板14,所述XY基板12竖向设于树脂槽4的前端面且位于工作台3前端面下方,所述第一导轨滑块13横向固定于所述XY基板12上的第一导轨滑块13,所述第一连接板14与第一导轨滑块13成滑动配合连接,所述第一连接板14上固定连接所述刮刀11,所述刮平机构还包括与第一连接板14固定连接的同步带15,XY轴电机16旋转经同步带15传动带动第一连接板14,进而拉动刮刀11在工作台3的XY平面运动;
升降机构2用于带动工作台3作Z轴升降,其包括:Z轴基板21、丝杠副22、第二导轨滑块23,以及第二连接板24,所述Z轴基板21垂直固定连接于树脂槽4后上方,丝杠副22和第二导轨滑块 23纵向固定连接于所述Z轴基板21后端面,所述第二连接板24与所述Z轴基板21套设连接,并且第二连接板与丝杆螺母固定连接,第二连接板24与第二导轨滑块23成滑动配合连接,在所述第二连接板24前端面还连接一组吊柱25,所述吊柱25垂直向下延伸一直连接于工作台3的后端面, Z轴电机26旋转经丝杠副22传动带动第二连接板24,进而拉动吊柱25以带动工作台3作升降运动。
优选地,所述刮刀11为悬臂式刮刀,所述刮刀11具有固定端和自由端,刮刀固定端与第一连接板14固定连接,刮刀自由端从固定端一直延伸至工作台3的后端面,将刮刀11改为悬臂式结构设置,不仅使得刮平机构装配和维护更加方便,而且不会出现刮刀11在滑块上运行产生爬行或咬死现象,使得刮平机构运行稳定。
在本方案的一个实施例中,所述第一导轨滑块13设为一组平行设置的上导轨滑块131和下导轨滑块132,这使得近长方体状的第一连接板14的上、下两端同时于上、下导轨滑块131、132滑动配合连接,进一步有利于刮刀11运行的平稳。
在上述方案中同步带15横向固设于XY基板12上并与所述上导轨滑块131和下导轨滑块132 平行设置,同步带15传动的传动比恒定,使得刮平机构运行更加平稳,而且传动效率高。相比现有技术中,本方案中仅设置一个同步带即可实现刮平机构的平稳运行,节省了设备零部件,使得设备更加紧凑,同时降低了生产成本。
在上述方案的刮平升降机构中所述第二导轨滑块23也可以分设为一组平行设置的左导轨滑块 231和右导轨滑块232,使得丝杠副22传动带动工作台3沿Z轴升降机构系统运行稳定。
本发明中基于SLA原理3D打印机的刮平升降机构工作过程如下:成型开始时,工作台3在树脂液面下确定一个深度,聚焦后的紫外光斑在液面上按照计算机的指令逐点扫描,即逐点固化;当一层扫描完成,未被照射的地方仍是液态树脂,Z轴升降机构带动工作台3下降一层高度,已成型的层面上又布满一层树脂,刮平机构中的悬臂式刮刀11将粘度较大的树脂液面在工作台3的XY平面刮平,然后再进行下一层扫描,新固化的一层牢固地粘在前一层上,如此重复直至整个零件制造完毕,以得到一个三维实体产品。
本发明的一种基于SLA原理3D打印机的刮平升降机构,刮平机构中通过采用第一连接板14上连接固定设置有悬臂式结构刮刀11,仅采用一组同步带15来实现悬臂式刮刀11在工作台3的XY 平面运动,悬臂式刮刀11不会在第一导轨滑块13上出现的爬行或者咬死的现象,实现刮平机构的平稳运行,机构得到简化,降低了机构中零部件的加工成本,同时还缩小了整体设备尺寸,并极大地提高了生产效率;其中的Z轴升降机构中丝杠幅22和第二导轨滑块23等部件均设置于Z轴基板21 后方,设备易于维护,使得部件的安装调节及维护更加便捷。所以,本发明有效克服了现有技术中的种种缺点而具有高度产业利用价值。
上述实施例仅例示性说明本发明的原理及其功效,而非用于限制本发明。任何熟悉此技术的人士皆可在不违背本发明的精神及范畴下,对上述实施例进行修饰或改变。因此,举凡所属技术领域中具有通常知识者在未脱离本发明所揭示的精神与技术思想下所完成的一切等效修饰或改变,仍应由本发明的权利要求所涵盖。
【申请公布号:CN107901405A;申请权利人:长沙远达华信息科技有限公司;】
摘要:
本发明提供一种基于SLA原理3D打印机的刮平升降机构,XY轴电机旋转经同步带传动带动第一连接板,进而拉动悬臂式刮刀在工作台XY平面运动;Z轴电机旋转经丝杠副传动带动第二连接板,进而拉动吊柱以带动工作台作升降运动,在上述方案中仅采用一组同步带来实现悬臂式刮刀在工作台XY平面运动,悬臂式刮刀不会在第一导轨滑块上出现的爬行或者咬死的现象,实现刮平机构的平稳运行,机构得到简化,降低了机构中零部件的加工成本,同时还缩小了整体设备尺寸,并极大地提高了生产效率;Z轴升降机构中丝杠副和第二导轨滑块等部件均设置于Z轴基板后方,设备易于维护,使得部件的安装调节及维护更加便捷。
主权项:
一种基于SLA原理3D打印机的刮平升降机构,其特征在于,包括刮平机构(1)和升降机构(2),所述刮平机构(1)包括:刮刀(11)、XY基板(12)、第一导轨滑块(13)、以及第一连接板(14),所述XY基板(12)竖向设于树脂槽(4)的前端面且位于工作台(3)前端面下方,所述第一导轨滑块(13)横向固定于所述XY基板(12)上,所述第一连接板(14)与第一导轨滑块(13)成滑动配合连接,所述第一连接板(14)上固定连接所述刮刀(11),所述刮平机构(1)还包括与第一连接板(14)固定连接的同步带(15),XY轴电机(16)旋转经同步带(15)传动带动第一连接板(14),进而拉动刮刀(11)在工作台(3)的XY平面运动;所述升降机构(2)包括:Z轴基板(21)、丝杠副(22)、第二导轨滑块(23),以及第二连接板(24),所述Z轴基板(21)垂直固定连接于树脂槽(4)后上方,丝杠副(22)和第二导轨滑块(23)纵向固定连接于所述Z轴基板(21)后端面,所述第二连接板(24)与所述Z轴基板(21)套设连接,并且第二连接板(24)与丝杆螺母固定连接,第二连接板(24)与第二导轨滑块(23)成滑动配合连接,在所述第二连接板(24)前端面还连接一组吊柱(25),所述吊柱(25)垂直向下延伸一直连接于工作台(3)的后端面,Z轴电机(26)旋转经丝杠副(22)传动带动第二连接板(24),进而拉动吊柱(25)以带动工作台(3)作升降运动。
要求:
1.一种基于SLA原理3D打印机的刮平升降机构,其特征在于,包括刮平机构(1)和升降机构(2),
所述刮平机构(1)包括:刮刀(11)、XY基板(12)、第一导轨滑块(13)、以及第一连接板(14),所述XY基板(12)竖向设于树脂槽(4)的前端面且位于工作台(3)前端面下方,所述第一导轨滑块(13)横向固定于所述XY基板(12)上,所述第一连接板(14)与第一导轨滑块(13)成滑动配合连接,所述第一连接板(14)上固定连接所述刮刀(11),所述刮平机构(1)还包括与第一连接板(14)固定连接的同步带(15),XY轴电机(16)旋转经同步带(15)传动带动第一连接板(14),进而拉动刮刀(11)在工作台(3)的XY平面运动;
所述升降机构(2)包括:Z轴基板(21)、丝杠副(22)、第二导轨滑块(23),以及第二连接板(24),所述Z轴基板(21)垂直固定连接于树脂槽(4)后上方,丝杠副(22)和第二导轨滑块(23)纵向固定连接于所述Z轴基板(21)后端面,所述第二连接板(24)与所述Z轴基板(21)套设连接,并且第二连接板(24)与丝杆螺母固定连接,第二连接板(24)与第二导轨滑块(23)成滑动配合连接,在所述第二连接板(24)前端面还连接一组吊柱(25),所述吊柱(25)垂直向下延伸一直连接于工作台(3)的后端面,Z轴电机(26)旋转经丝杠副(22)传动带动第二连接板(24),进而拉动吊柱(25)以带动工作台(3)作升降运动。
2.根据权利要求1所述的刮平升降机构,其特征在于,所述刮刀(11)为悬臂式刮刀,所述刮刀(11)具有固定端和自由端,刮刀固定端与第一连接板固定连接,刮刀自由端从固定端一直延伸至工作台(3)的后端面。
3.根据权利要求1或2所述的刮平升降机构,其特征在于,所述第一导轨滑块(13)为一组平行设置的上导轨滑块(131)和下导轨滑块(132)。
4.根据权利要求3所述的刮平升降机构,其特征在于,所述同步带(15)横向固设于XY基板(12)上,并与所述上导轨滑块(131)和下导轨滑块(132)平行设置。
5.根据权利要求1所述的刮平升降机构,其特征在于,所述第二导轨滑块(23)为一组平行设置的左导轨滑块(231)和右导轨滑块(232)。
一种基于SLA原理3D打印机的刮平升降机构
技术领域
本发明涉及3D打印机设备技术领域,尤其是一种使得3D打印机运行平稳而且便于维护的3D 打印机刮平升降机构。
背景技术
SLA(Stereo Lithography Apparatus)技术就是激光立体雕刻技术,基于SLA原理的3D打印机,也即激光快速成型机,近年来得到快速发展,它是集机械、激光、光化学、软件、控制技术的结晶。基于光敏树脂受紫外光照射凝固的原理,计算机控制激光逐层扫描固化液态的光敏树脂。每一层固化的截面是由零件的三维CAD模型软件分层得到,直至最后得到光敏树脂实物原型。
请结合图1所示,其为现有技术中的一种SLA激光快速成型机中的刮平升降机构立体图。其中的XY平面刮平机构中包括XY左基板1’和XY右基板2’,并分别固定装配于树脂槽3’的左右两侧面, XY左、右基板1’、2’上表面分别固定装设有左、右导轨滑块4’、5’和左右同步带6’、7’,一刮刀8’左右两端通过固定夹具分别连接于左、右同步带6’、7’上。左、右同步带6’、7’传动带动刮刀8’,并在左、右导轨滑块4’、5’的滑动导向下作前后向往复运动,该XY平面刮平机构设置容易导致刮刀8’左右两端运行不同步,会使得刮刀8’在从动侧的左导轨滑块5’上产生爬行或者咬死现象,进而导致设备运行不稳定,生产效率低。可知的是,现有的XY平面刮平机构中通过设有的两组带轮来实现同步传动,不仅部件设置繁杂,而且零部件加工成本大,导致整体设备尺寸大,摆放不便也不美观。
另外,在Z轴升降机构中的Z轴导轨9’、丝杆10’等部件均安装在Z轴基板10’的前面,一旦上述部件被树脂材料等的蒙皮遮住,导致Z轴升降机构防护、维修均极为不方便。
发明内容
本发明的目的在于提供一种基于SLA原理的3D打印机的刮平升降机构,以解决现有技术中的3D 打印机刮平升降机构容易导致刮刀爬行或者咬死,使得设备运行不稳定,生产效率低,以及设备维护不便,同时的设备整体尺寸偏大,设备占用空间大且不美观的问题。
为解决上述技术问题,本发明采用如下技术方案:
一种基于SLA原理的3D打印机的刮平升降机构,其包括刮平机构和升降机构,所述刮平机构包括:刮刀、XY基板、第一导轨滑块,以及第一连接板,所述XY基板竖向设于树脂槽的前端面且位于工作台前端面下方,所述第一导轨滑块横向固定于所述XY基板上,所述第一连接板与第一导轨滑块成滑动配合连接,所述第一连接板上固定连接所述刮刀,所述刮平机构还包括与第一连接板固定连接的同步带,XY轴电机旋转经同步带传动带动第一连接板,进而拉动刮刀在工作台的XY平面运动;
升降机构包括:Z轴基板、丝杠副、第二导轨滑块,以及第二连接板,所述Z轴基板垂直固定连接于树脂槽后上方,丝杠副和第二导轨滑块纵向固定连接于所述Z轴基板后端面,所述第二连接板与所述Z轴基板套设连接,并且第二连接板与丝杆螺母固定连接,第二连接板与第二导轨滑块成滑动配合连接,在所述第二连接板前端面还连接一组吊柱,所述吊柱垂直向下延伸一直连接于工作台的后端面,Z轴电机旋转经丝杠副传动带动第二连接板,进而拉动吊柱以带动工作台作升降运动。
优选地,所述刮刀为悬臂式刮刀,所述刮刀具有固定端和自由端,刮刀的固定端与第一连接板固定连接,刮刀的自由端从固定端一直延伸至工作台的后端面。
优选地,所述第一导轨滑块为一组平行设置的上导轨滑块和下导轨滑块。
优选地,所述同步带横向固设于XY基板上,并与所述上导轨滑块和下导轨滑块平行设置。
优选地,所述第二导轨滑块为一组平行设置的左导轨滑块和右导轨滑块。
如上所述,本发明的一种基于SLA原理3D打印机的刮平升降机构,刮平机构中通过采用第一连接板上连接设置有悬臂式结构刮刀,仅采用一组同步带来实现刮刀在工作台XY平面运动,刮刀不会在第一导轨滑块上出现的爬行或者咬死的现象,实现刮刀的平稳运行,机构得到简化,降低了机构中零部件的加工成本,同时还缩小了整体设备尺寸,并极大地提高了生产效率,;其中的Z轴升降机构中丝杠副和第二导轨滑块等部件均设置于Z轴基板后方,设备易于维护,使得部件的安装调节及维护更加便捷。
附图说明
下面结合附图和实施方式对本发明作进一步详细说明;

图1为现有技术中一种基于SLA原理3D打印机刮平升降机构的立体图;

图2为本发明一个实施例中基于SLA原理3D打印机刮平升降机构的第一立体图;

图3图2实施例中3D打印机刮平升降机构的第二立体图。
具体实施方式
以下通过特定的具体实例说明本发明的实施方式,本领域技术人员可由本说明书所揭露的内容轻易地了解本发明的其他优点与功效。本发明还可以通过另外不同的具体实施方式加以实施或应用,本说明书中的各项细节也可以基于不同观点与应用,在没有背离本发明的精神下进行各种修饰或改变。
请结合图2和图3所示,其为一个实施例中3D打印机刮平升降机构的第一立体图和第二立体图。一种基于SLA原理3D打印机的刮平升降机构,其包括刮平机构和升降机构,其中的刮平机构1用于带动刮刀11在工作台3的XY平面作刮平运动,其包括:刮刀11、XY基板12、第一导轨滑块13,以及第一连接板14,所述XY基板12竖向设于树脂槽4的前端面且位于工作台3前端面下方,所述第一导轨滑块13横向固定于所述XY基板12上的第一导轨滑块13,所述第一连接板14与第一导轨滑块13成滑动配合连接,所述第一连接板14上固定连接所述刮刀11,所述刮平机构还包括与第一连接板14固定连接的同步带15,XY轴电机16旋转经同步带15传动带动第一连接板14,进而拉动刮刀11在工作台3的XY平面运动;
升降机构2用于带动工作台3作Z轴升降,其包括:Z轴基板21、丝杠副22、第二导轨滑块23,以及第二连接板24,所述Z轴基板21垂直固定连接于树脂槽4后上方,丝杠副22和第二导轨滑块 23纵向固定连接于所述Z轴基板21后端面,所述第二连接板24与所述Z轴基板21套设连接,并且第二连接板与丝杆螺母固定连接,第二连接板24与第二导轨滑块23成滑动配合连接,在所述第二连接板24前端面还连接一组吊柱25,所述吊柱25垂直向下延伸一直连接于工作台3的后端面, Z轴电机26旋转经丝杠副22传动带动第二连接板24,进而拉动吊柱25以带动工作台3作升降运动。
优选地,所述刮刀11为悬臂式刮刀,所述刮刀11具有固定端和自由端,刮刀固定端与第一连接板14固定连接,刮刀自由端从固定端一直延伸至工作台3的后端面,将刮刀11改为悬臂式结构设置,不仅使得刮平机构装配和维护更加方便,而且不会出现刮刀11在滑块上运行产生爬行或咬死现象,使得刮平机构运行稳定。
在本方案的一个实施例中,所述第一导轨滑块13设为一组平行设置的上导轨滑块131和下导轨滑块132,这使得近长方体状的第一连接板14的上、下两端同时于上、下导轨滑块131、132滑动配合连接,进一步有利于刮刀11运行的平稳。
在上述方案中同步带15横向固设于XY基板12上并与所述上导轨滑块131和下导轨滑块132 平行设置,同步带15传动的传动比恒定,使得刮平机构运行更加平稳,而且传动效率高。相比现有技术中,本方案中仅设置一个同步带即可实现刮平机构的平稳运行,节省了设备零部件,使得设备更加紧凑,同时降低了生产成本。
在上述方案的刮平升降机构中所述第二导轨滑块23也可以分设为一组平行设置的左导轨滑块 231和右导轨滑块232,使得丝杠副22传动带动工作台3沿Z轴升降机构系统运行稳定。
本发明中基于SLA原理3D打印机的刮平升降机构工作过程如下:成型开始时,工作台3在树脂液面下确定一个深度,聚焦后的紫外光斑在液面上按照计算机的指令逐点扫描,即逐点固化;当一层扫描完成,未被照射的地方仍是液态树脂,Z轴升降机构带动工作台3下降一层高度,已成型的层面上又布满一层树脂,刮平机构中的悬臂式刮刀11将粘度较大的树脂液面在工作台3的XY平面刮平,然后再进行下一层扫描,新固化的一层牢固地粘在前一层上,如此重复直至整个零件制造完毕,以得到一个三维实体产品。
本发明的一种基于SLA原理3D打印机的刮平升降机构,刮平机构中通过采用第一连接板14上连接固定设置有悬臂式结构刮刀11,仅采用一组同步带15来实现悬臂式刮刀11在工作台3的XY 平面运动,悬臂式刮刀11不会在第一导轨滑块13上出现的爬行或者咬死的现象,实现刮平机构的平稳运行,机构得到简化,降低了机构中零部件的加工成本,同时还缩小了整体设备尺寸,并极大地提高了生产效率;其中的Z轴升降机构中丝杠幅22和第二导轨滑块23等部件均设置于Z轴基板21 后方,设备易于维护,使得部件的安装调节及维护更加便捷。所以,本发明有效克服了现有技术中的种种缺点而具有高度产业利用价值。
上述实施例仅例示性说明本发明的原理及其功效,而非用于限制本发明。任何熟悉此技术的人士皆可在不违背本发明的精神及范畴下,对上述实施例进行修饰或改变。因此,举凡所属技术领域中具有通常知识者在未脱离本发明所揭示的精神与技术思想下所完成的一切等效修饰或改变,仍应由本发明的权利要求所涵盖。
