应用案例
您当前的位置:产品应用
纱筒成型横动驱动装置
纱筒成型横动驱动装置
【申请公布号:CN108238494A;申请权利人:浙江康立自控科技有限公司; 发明设计人: 徐郁山; 梁汇江; 丁春高; 吕彬; 史浙军; 马惠东;】
摘要:
本发明公开了一种纱筒成型横动驱动装置,本发明通过将连接块由两根导向滑杆导向限位更好的限制扭转,连接块与横动杆尾端连接,并在作为支撑安装导向滑杆的导向滑块上设置导向滑孔与连接块组成对横动杆长度方向上的两点式导向限位,减小横动杆长度方向上的抖动,通过对扭转和抖动的更好限制,提高了横动杆的运行平稳性,从而更好的保证了横动杆上的导纱头的平稳性,解决了现有技术中连接块容易扭转和横动杆长度方向容易抖动的问题,提高了卷绕成型质量,减小了同步带了偏转磨损,提高了同步带的使用寿命。
主权项:
1.纱筒成型横动驱动装置,包括基座(1)、两根横动杆(2)、伺服电机(3)、同步带(4)、同步带轮(5)和多个从动带轮(6),每个从动带轮(6)分别对应由一根安装于所述基座(1)上的固定轴支撑安装,同步带轮(5)由一根传动轴(7)支撑安装,传动轴(7)由轴承和固定于所述基座(1)上的轴承座支撑安装;所述同步带(4)光面绕于所述从动带轮(6)、齿面绕于所述同步带轮(5),同步带轮(5)两侧各设置一个由两个所述从动带轮组成并的从动带轮组,每个所述从动带轮组支撑所述同步带(4)的其中一段形成用于驱动所述横动杆(2)的同步带直线段,同步带直线段的长度方向与横动杆(2)运动方向平行,所述同步带直线段与所述横动杆(2)通过连接块(12)固定连接;其特征在于:所述传动轴(7)上还安装有传动轮(21),所述伺服电机转轴上安装有主动轮(22),主动轮(22)和传动轮(21)通过传动带(23)传动连接,所述基座(1)上设置有腰形孔(11),所述伺服电机(3)通过腰形孔(11)中的螺钉安装固定;所述纱筒成型横动驱动装置还包括四个导向滑块(14)和四根导向滑杆(13),每根所述横动杆(2)对应两个导向滑块(14)和两个导向滑杆(13),导向滑块(14)固定于所述基座(1),导向滑杆(13)两端固定安装于导向滑块(14),所述连接块(12)设置滑孔套装于导向滑杆(13),导向滑块(14)上设置有导向滑孔,所述横动杆(2)穿装于导向滑孔中,横动杆(2)尾端与连接块(12)固定连接。
要求:
1.纱筒成型横动驱动装置,包括基座(1)、两根横动杆(2)、伺服电机(3)、同步带(4)、同步带轮(5)和多个从动带轮(6),每个从动带轮(6)分别对应由一根安装于所述基座(1)上的固定轴支撑安装,同步带轮(5)由一根传动轴(7)支撑安装,传动轴(7)由轴承和固定于所述基座(1)上的轴承座支撑安装;所述同步带(4)光面绕于所述从动带轮(6)、齿面绕于所述同步带轮(5),同步带轮(5)两侧各设置一个由两个所述从动带轮组成并的从动带轮组,每个所述从动带轮组支撑所述同步带(4)的其中一段形成用于驱动所述横动杆(2)的同步带直线段,同步带直线段的长度方向与横动杆(2)运动方向平行,所述同步带直线段与所述横动杆(2)通过连接块(12)固定连接;其特征在于:所述传动轴(7)上还安装有传动轮(21),所述伺服电机转轴上安装有主动轮(22),主动轮(22)和传动轮(21)通过传动带(23)传动连接,所述基座(1)上设置有腰形孔(11),所述伺服电机(3)通过腰形孔(11)中的螺钉安装固定;所述纱筒成型横动驱动装置还包括四个导向滑块(14)和四根导向滑杆(13),每根所述横动杆(2)对应两个导向滑块(14)和两个导向滑杆(13),导向滑块(14)固定于所述基座(1),导向滑杆(13)两端固定安装于导向滑块(14),所述连接块(12)设置滑孔套装于导向滑杆(13),导向滑块(14)上设置有导向滑孔,所述横动杆(2)穿装于导向滑孔中,横动杆(2)尾端与连接块(12)固定连接。
2.根据权利要求1所述的纱筒成型横动驱动装置,其特征在于:所述的传动轴(7)贯穿于基座(1)并悬伸于基座两侧,安装于传动轴(7)上同步带轮(5)和传动轮(21)分设于基座两侧。
3.根据权利要求1或2所述的纱筒成型横动驱动装置,其特征在于:所述的纱筒成型横动驱动装置还包括安装于所述基座上限位感应器(8),限位感应器(8)分设于连接块(12)的运动路径的两端。
4.根据权利要求3所述的纱筒成型横动驱动装置,其特征在于:所述的纱筒成型横动驱动装置还包括安装于所述基座上中心感应器(9)和方向感应器(10),中心感应器(9)正对连接块(12)运动路径的中心位置,方向感应器(10)设置于中心感应器(9)的一侧。
5.根据权利要求1或4所述的纱筒成型横动驱动装置,其特征在于:所述基座(1)上设置用于安装所述固定轴的固定轴安装孔,每个所述从动带轮组的其中一个从动带轮的位置可以在所述同步带直线段长度方向上移动,支撑安装该从动带轮的所述固定轴为设置有径向螺孔的调整固定轴(15),用于穿装所述调整固定轴(15)的固定轴安装孔为腰形孔,径向螺孔中穿装螺杆(16),所述基座(1)上设置螺杆支座(17)和调整螺母(18)。
6.根据权利要求5所述的纱筒成型横动驱动装置,其特征在于:所述的基座(1)上设置有顶撑螺钉支座(19),顶撑螺钉支座(19)上设置有螺孔,螺孔中穿装有顶撑螺钉(20),顶撑螺钉(20)顶撑于所述伺服电机(3)。
7.根据权利要求6所述的纱筒成型横动驱动装置,其特征在于:所述同步带轮两侧的所述同步带直线段以所述同步带轮(5)为中心对称设置。
8.根据权利要求1或7所述的纱筒成型横动驱动装置,其特征在于:所述的传动轮(21)直径大于所述主动轮(22)。
9.根据权利要求8所述的纱筒成型横动驱动装置,其特征在于:所述伺服电机(3)位于同步带(4)围成的同步带圈圈内或位于同步带(4)围成的同步带圈圈外。
纱筒成型横动驱动装置
技术领域
本发明属于纺织机械纱筒成型技术领域,尤其与一种纱筒成型横动驱动装置有关。
背景技术
倍捻机、纺纱机等纱线制造设备的纱筒卷绕成型过程中,纱线通过横动导纱装置的导纱头带动往复横向移动,实现纱线卷绕角度和卷绕密度的控制。专利号为ZL201220159138.2的发明专利公开了通过伺服电机经传动机构驱动横动杆往复移动的一种纱线电子成型装置,通过伺服电机的正反转驱动横动杆的往复运动,横动杆的运动行程和速度可以进行自动设定和精确控制。这种横动装置存在以下不足:1、由于横动杆与同步带的连接块成自由状态,需要横动杆直接穿设于导块的导向孔实现移动导向,连接块不能与横动杆尾端固定,横动杆尾端需要有足够长度适应移动行程,因此需要足够的空间位置用于横动杆尾端的运动,所以导致横动装置空间要求大;2、横动杆与同步带的连接块成自由状态,横动杆又成圆杆形,连接块在同步带运行过程容易扭转,造成横动杆上的导纱头运行不平稳,从而影响卷绕成型质量,并且造成对同步带偏转从而磨损快,使得同步带的使用寿命变短;3、驱动横动杆移动的同步带由安装于伺服电机轴的主动带轮直接驱动,传动扭力小,效果差,速度容易产生波动,从而影响卷绕成型质量。目前,市场上有出现了一种二级传动的导纱成型装置,通过二级传动实现提高传动扭力,并采用线轨对连接横动杆和同步带的连接块进行移动导向,主同步带回路的主动轮和二级回路的从动轮安装于同一转轴,通过移动该转轴来同时进行两个传动带的张紧,这样的装置横动杆横动杆在长度方向上容易抖动,运行不平稳,张紧效果差,仍然影响了成型质量。
发明内容
本发明旨在解决现有横动装置空间要求大、横动杆运行不平稳、传动效果差的问题,提供一种横动杆运行平稳且同步带张紧效果好的纱筒成型横动驱动装置。
为此,本发明采用以下技术方案:纱筒成型横动驱动装置,包括基座、两根横动杆、伺服电机、同步带、同步带轮和多个从动带轮,每个从动带轮分别对应由一根安装于所述基座上的固定轴支撑安装,同步带轮由一根传动轴支撑安装,传动轴由轴承和固定于所述基座上的轴承座支撑安装;所述同步带光面绕于所述从动带轮、齿面绕于所述同步带轮,同步带轮两侧各设置一个由两个所述从动带轮组成的从动带轮组,每个所述从动带轮组支撑所述同步带的其中一段形成用于驱动所述横动杆的同步带直线段,同步带直线段的长度方向与横动杆运动方向平行,所述同步带直线段与所述横动杆通过连接块固定连接;其特征是,所述传动轴上还安装有传动轮,所述伺服电机转轴上安装有主动轮,主动轮和传动轮通过传动带传动连接,所述基座上设置有腰形孔,所述伺服电机通过腰形孔中的螺钉安装固定,使得伺服电机在基座上的安装位置可以调整,用于对所述传动带进行张紧;所述纱筒成型横动驱动装置还包括四个导向滑块和四根导向滑杆,每根所述横动杆对应两个导向滑块和两个导向滑杆,导向滑块固定于所述基座,导向滑杆两端固定安装于导向滑块,所述连接块设置滑孔套装于导向滑杆,使连接块可以在两个导向滑块之间的导向滑杆上滑移,导向滑块上设置有导向滑孔,所述横动杆穿装于导向滑孔中,横动杆尾端与连接块固定连接,实现了连接块和导向滑孔在横动杆长度方向上的两点间隔导向,减小了横动杆长度方向上的抖动,通过两根导向滑杆对连接块上下进行限位导向,避免了连接块带同横动杆扭转,这些都提高了横动杆上的导纱头的运行平稳性,提高了卷绕成型质量。
作为对上述技术方案的补充和完善,本发明还包括以下技术特征。
所述的传动轴贯穿于基座并悬伸于基座两侧,安装于传动轴上同步带轮和传动轮分设于基座两侧,避免传动轴单侧受力,提高了传动稳定性,从而提高卷绕成型质量。
所述的纱筒成型横动驱动装置还包括安装于所述基座上限位感应器,限位感应器分设于连接块的运动路径的两端,通过感应到连接块后反馈信号,由控制系统控制伺服电机的旋转,实现对横动杆最大行程的限定。
所述的纱筒成型横动驱动装置还包括安装于所述基座上中心感应器和方向感应器,中心感应器正对连接块运动路径的中心位置,设定横动杆运动行程的中心位置,从而能有控制系统控制伺服电机的旋转,实现横动杆运动行程的控制,方向感应器设置于中心感应器的一侧,通过方向感应器的反馈信号使控制系统能感知横动杆的运动方向,从而确定伺服电机重新启动后的旋转方向。
所述基座上设置用于安装所述固定轴的固定轴安装孔,每个所述从动带轮组的其中一个从动带轮的位置可以在所述同步带直线段长度方向上移动,支撑安装该从动带轮的所述固定轴为设置有径向螺孔的调整固定轴,用于穿装所述调整固定轴的固定轴安装孔为腰形孔,径向螺孔中穿装螺杆,所述基座上设置螺杆支座和调整螺母,通过旋转调整螺母可以调整螺杆相对于螺杆支座的位置,从而调整同步带直线段长度方向上所述调整固定轴在基座上安装位置,实现对同步带的张紧。
所述的基座上设置有顶撑螺钉支座,顶撑螺钉支座上设置有螺孔,螺孔中穿装有顶撑螺钉,顶撑螺钉顶撑于所述伺服电机,通过旋转顶撑螺钉调整顶撑螺钉相对于顶撑螺钉支座的位置,对伺服电机能形成顶撑力,在传动带张紧时可以顶撑伺服电机移动位置,在平时能对伺服电机形成限位顶撑作用。
所述同步带轮两侧的所述同步带直线段以所述同步带轮为中心对称设置,保证了两侧的同步带直线段张紧度一致,提高卷绕成型质量的一致性。
所述的传动轮直径大于所述主动轮,提高了传动扭矩。
所述伺服电机位于同步带围成的同步带圈圈内或位于同步带围成的同步带圈圈外,提高了伺服电机安装位置的灵活性,可以提高空间紧凑度。
本发明可以达到以下有益效果:1、本发明将连接块由两根导向滑杆导向限位更好的限制扭转,连接块与横动杆尾端连接,并在作为支撑安装导向滑杆的导向滑块上设置导向滑孔与连接块组成对横动杆长度方向上的两点式导向限位,减小横动杆长度方向上的抖动,通过对扭转和抖动的更好限制,提高了横动杆的运行平稳性,从而更好的保证了横动杆上的导纱头的平稳性,解决了现有技术中连接块容易扭转和横动杆长度方向容易抖动的问题,提高了卷绕成型质量,减小了同步带了偏转磨损,提高了同步带的使用寿命。2、采用两根导向滑杆对连接块导向限位和横动杆长度方向上的两点式导向限位结构,能使连接块连接于横动杆尾端,减少了为适应横动杆尾端运动的额外空间,可以提高本横动驱动装置的空间紧凑性。3、采用传动轴位置固定,伺服电机位置移动实现传动带张紧,固定轴带同从动带轮位置移动实现同步带张紧,同步带和传动带可以各自实现张紧,提高同步带张紧效果,从而实现提高横动杆运行平稳性,提高卷绕成型质量。4、采用传动轮直径大于主动轮的二级传动结构,提高了驱动力,提高了横动杆运动控制精度,从而提高了卷绕成型质量。
附图说明

图1为本发明的实施例一的主视方向结构示意图。

图2为本发明的实施例一的立体结构示意图。

图3位本发明的实施例一的背部结构示意图。

图4位本发明的实施例二的结构示意图。
具体实施方式
下面结合附图对本发明的具体实施方式进行详细描述。
实施例一:如图1-图3所示,本发明包括基座1、两根横动杆2、伺服电机3、同步带4、同步带轮5、四个从动带轮6、四个导向滑块14、四根导向滑杆13、两个限位感应器8、中心感应器9和方向感应器10。每个从动带轮6分别对应由一根固定轴支撑安装,基座1上设置用于安装固定轴的固定轴安装孔,固定轴穿过固定安装孔并通过旋装于固定轴端部的螺母进行固定,同步带轮5由一根传动轴7支撑安装,传动轴7由轴承和固定于基座1上的轴承座支撑安装;同步带4光面绕于从动带轮6、齿面绕于同步带轮5,每两个所述从动带轮6组成的一个从动带轮组,两个从动带轮组分别设置于同步带轮5的两侧,每个从动带轮组支撑同步带4的其中一段形成用于驱动横动杆2的同步带直线段,同步带直线段的长度方向与横动杆2运动方向平行,同步带轮两侧的同步带直线段以同步带轮5为中心对称设置,保证了两侧的同步带直线段张紧度一致,同步带直线段与横动杆2通过连接块12固定连接;每个从动带轮组的其中一个从动带轮的位置可以在同步带直线段长度方向上移动,支撑安装该从动带轮的固定轴为设置有径向螺孔的调整固定轴15,用于穿装调整固定轴15的固定轴安装孔为腰形孔,径向螺孔中穿装螺杆16,基座1上设置螺杆支座17和调整螺母18,通过旋转调整螺母可以调整螺杆相对于螺杆支座的位置,从而调整同步带直线段长度方向上所述调整固定轴15在基座上安装位置,实现对同步带的张紧。
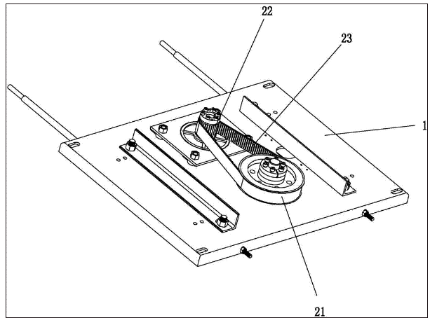
传动轴7贯穿于基座1并悬伸于基座两侧,安装于传动轴7上的同步带轮5和传动轮21分设于基座两侧。伺服电机转轴上安装有主动轮22,主动轮22和传动轮21通过传动带23传动连接,传动轮21直径大于主动轮22。作为优选,传动带23为同步带,同步带的齿面绕于主动轮22和传动轮21上。基座1上设置有腰形孔11,伺服电机3通过腰形孔11中的螺钉安装固定,使得伺服电机在基座上的安装位置可以调整,用于对传动带进行张紧,腰形孔11位于同步带4围成的同步带圈圈外,使伺服电机3位于同步带4围成的同步带圈圈外。基座1上设置有顶撑螺钉支座19,顶撑螺钉支座19上设置有螺孔,螺孔中穿装有顶撑螺钉20,顶撑螺钉20顶撑于伺服电机3,通过旋转顶撑螺钉调整顶撑螺钉相对于顶撑螺钉支座的位置,对伺服电机能形成顶撑力,在传动带张紧时可以顶撑伺服电机移动位置,在平时能对伺服电机形成限位顶撑作用。
每根横动杆2对应两个导向滑块14和两个导向滑杆13,导向滑块14固定于基座1,导向滑杆13两端固定安装于导向滑块14,导向滑杆13的轴向与同步带直线段的长度方向平行,连接块12设置滑孔套装于导向滑杆13,使连接块可以在两个导向滑块之间的导向滑杆上滑移,导向滑块14上设置有导向滑孔,横动杆2穿装于导向滑孔中,横动杆2尾端与连接块12固定连接,组成了连接块和导向滑孔在横动杆长度方向上的两点间隔导向结构。
两个限位感应器8分设于连接块12的运动路径的两端,通过感应到连接块后反馈信号,由控制系统控制伺服电机的旋转,实现对横动杆最大行程的限定。
中心感应器9安装于基座上并正对连接块12运动路径的中心位置,设定横动杆运动行程的中心位置,从而能有控制系统控制伺服电机的旋转,实现横动杆运动行程的控制,方向感应器10设置于中心感应器9的一侧,通过方向感应器的反馈信号使控制系统能感知横动杆的运动方向,从而确定伺服电机重新启动后的旋转方向。
实施例二:如图4所示,腰形孔11位于同步带4围成的同步带圈圈内,使伺服电机3位于同步带4围成的同步带圈圈内,可以使本横动驱动装置空间更紧凑。
【申请公布号:CN108238494A;申请权利人:浙江康立自控科技有限公司; 发明设计人: 徐郁山; 梁汇江; 丁春高; 吕彬; 史浙军; 马惠东;】
摘要:
本发明公开了一种纱筒成型横动驱动装置,本发明通过将连接块由两根导向滑杆导向限位更好的限制扭转,连接块与横动杆尾端连接,并在作为支撑安装导向滑杆的导向滑块上设置导向滑孔与连接块组成对横动杆长度方向上的两点式导向限位,减小横动杆长度方向上的抖动,通过对扭转和抖动的更好限制,提高了横动杆的运行平稳性,从而更好的保证了横动杆上的导纱头的平稳性,解决了现有技术中连接块容易扭转和横动杆长度方向容易抖动的问题,提高了卷绕成型质量,减小了同步带了偏转磨损,提高了同步带的使用寿命。
主权项:
1.纱筒成型横动驱动装置,包括基座(1)、两根横动杆(2)、伺服电机(3)、同步带(4)、同步带轮(5)和多个从动带轮(6),每个从动带轮(6)分别对应由一根安装于所述基座(1)上的固定轴支撑安装,同步带轮(5)由一根传动轴(7)支撑安装,传动轴(7)由轴承和固定于所述基座(1)上的轴承座支撑安装;所述同步带(4)光面绕于所述从动带轮(6)、齿面绕于所述同步带轮(5),同步带轮(5)两侧各设置一个由两个所述从动带轮组成并的从动带轮组,每个所述从动带轮组支撑所述同步带(4)的其中一段形成用于驱动所述横动杆(2)的同步带直线段,同步带直线段的长度方向与横动杆(2)运动方向平行,所述同步带直线段与所述横动杆(2)通过连接块(12)固定连接;其特征在于:所述传动轴(7)上还安装有传动轮(21),所述伺服电机转轴上安装有主动轮(22),主动轮(22)和传动轮(21)通过传动带(23)传动连接,所述基座(1)上设置有腰形孔(11),所述伺服电机(3)通过腰形孔(11)中的螺钉安装固定;所述纱筒成型横动驱动装置还包括四个导向滑块(14)和四根导向滑杆(13),每根所述横动杆(2)对应两个导向滑块(14)和两个导向滑杆(13),导向滑块(14)固定于所述基座(1),导向滑杆(13)两端固定安装于导向滑块(14),所述连接块(12)设置滑孔套装于导向滑杆(13),导向滑块(14)上设置有导向滑孔,所述横动杆(2)穿装于导向滑孔中,横动杆(2)尾端与连接块(12)固定连接。
要求:
1.纱筒成型横动驱动装置,包括基座(1)、两根横动杆(2)、伺服电机(3)、同步带(4)、同步带轮(5)和多个从动带轮(6),每个从动带轮(6)分别对应由一根安装于所述基座(1)上的固定轴支撑安装,同步带轮(5)由一根传动轴(7)支撑安装,传动轴(7)由轴承和固定于所述基座(1)上的轴承座支撑安装;所述同步带(4)光面绕于所述从动带轮(6)、齿面绕于所述同步带轮(5),同步带轮(5)两侧各设置一个由两个所述从动带轮组成并的从动带轮组,每个所述从动带轮组支撑所述同步带(4)的其中一段形成用于驱动所述横动杆(2)的同步带直线段,同步带直线段的长度方向与横动杆(2)运动方向平行,所述同步带直线段与所述横动杆(2)通过连接块(12)固定连接;其特征在于:所述传动轴(7)上还安装有传动轮(21),所述伺服电机转轴上安装有主动轮(22),主动轮(22)和传动轮(21)通过传动带(23)传动连接,所述基座(1)上设置有腰形孔(11),所述伺服电机(3)通过腰形孔(11)中的螺钉安装固定;所述纱筒成型横动驱动装置还包括四个导向滑块(14)和四根导向滑杆(13),每根所述横动杆(2)对应两个导向滑块(14)和两个导向滑杆(13),导向滑块(14)固定于所述基座(1),导向滑杆(13)两端固定安装于导向滑块(14),所述连接块(12)设置滑孔套装于导向滑杆(13),导向滑块(14)上设置有导向滑孔,所述横动杆(2)穿装于导向滑孔中,横动杆(2)尾端与连接块(12)固定连接。
2.根据权利要求1所述的纱筒成型横动驱动装置,其特征在于:所述的传动轴(7)贯穿于基座(1)并悬伸于基座两侧,安装于传动轴(7)上同步带轮(5)和传动轮(21)分设于基座两侧。
3.根据权利要求1或2所述的纱筒成型横动驱动装置,其特征在于:所述的纱筒成型横动驱动装置还包括安装于所述基座上限位感应器(8),限位感应器(8)分设于连接块(12)的运动路径的两端。
4.根据权利要求3所述的纱筒成型横动驱动装置,其特征在于:所述的纱筒成型横动驱动装置还包括安装于所述基座上中心感应器(9)和方向感应器(10),中心感应器(9)正对连接块(12)运动路径的中心位置,方向感应器(10)设置于中心感应器(9)的一侧。
5.根据权利要求1或4所述的纱筒成型横动驱动装置,其特征在于:所述基座(1)上设置用于安装所述固定轴的固定轴安装孔,每个所述从动带轮组的其中一个从动带轮的位置可以在所述同步带直线段长度方向上移动,支撑安装该从动带轮的所述固定轴为设置有径向螺孔的调整固定轴(15),用于穿装所述调整固定轴(15)的固定轴安装孔为腰形孔,径向螺孔中穿装螺杆(16),所述基座(1)上设置螺杆支座(17)和调整螺母(18)。
6.根据权利要求5所述的纱筒成型横动驱动装置,其特征在于:所述的基座(1)上设置有顶撑螺钉支座(19),顶撑螺钉支座(19)上设置有螺孔,螺孔中穿装有顶撑螺钉(20),顶撑螺钉(20)顶撑于所述伺服电机(3)。
7.根据权利要求6所述的纱筒成型横动驱动装置,其特征在于:所述同步带轮两侧的所述同步带直线段以所述同步带轮(5)为中心对称设置。
8.根据权利要求1或7所述的纱筒成型横动驱动装置,其特征在于:所述的传动轮(21)直径大于所述主动轮(22)。
9.根据权利要求8所述的纱筒成型横动驱动装置,其特征在于:所述伺服电机(3)位于同步带(4)围成的同步带圈圈内或位于同步带(4)围成的同步带圈圈外。
纱筒成型横动驱动装置
技术领域
本发明属于纺织机械纱筒成型技术领域,尤其与一种纱筒成型横动驱动装置有关。
背景技术
倍捻机、纺纱机等纱线制造设备的纱筒卷绕成型过程中,纱线通过横动导纱装置的导纱头带动往复横向移动,实现纱线卷绕角度和卷绕密度的控制。专利号为ZL201220159138.2的发明专利公开了通过伺服电机经传动机构驱动横动杆往复移动的一种纱线电子成型装置,通过伺服电机的正反转驱动横动杆的往复运动,横动杆的运动行程和速度可以进行自动设定和精确控制。这种横动装置存在以下不足:1、由于横动杆与同步带的连接块成自由状态,需要横动杆直接穿设于导块的导向孔实现移动导向,连接块不能与横动杆尾端固定,横动杆尾端需要有足够长度适应移动行程,因此需要足够的空间位置用于横动杆尾端的运动,所以导致横动装置空间要求大;2、横动杆与同步带的连接块成自由状态,横动杆又成圆杆形,连接块在同步带运行过程容易扭转,造成横动杆上的导纱头运行不平稳,从而影响卷绕成型质量,并且造成对同步带偏转从而磨损快,使得同步带的使用寿命变短;3、驱动横动杆移动的同步带由安装于伺服电机轴的主动带轮直接驱动,传动扭力小,效果差,速度容易产生波动,从而影响卷绕成型质量。目前,市场上有出现了一种二级传动的导纱成型装置,通过二级传动实现提高传动扭力,并采用线轨对连接横动杆和同步带的连接块进行移动导向,主同步带回路的主动轮和二级回路的从动轮安装于同一转轴,通过移动该转轴来同时进行两个传动带的张紧,这样的装置横动杆横动杆在长度方向上容易抖动,运行不平稳,张紧效果差,仍然影响了成型质量。
发明内容
本发明旨在解决现有横动装置空间要求大、横动杆运行不平稳、传动效果差的问题,提供一种横动杆运行平稳且同步带张紧效果好的纱筒成型横动驱动装置。
为此,本发明采用以下技术方案:纱筒成型横动驱动装置,包括基座、两根横动杆、伺服电机、同步带、同步带轮和多个从动带轮,每个从动带轮分别对应由一根安装于所述基座上的固定轴支撑安装,同步带轮由一根传动轴支撑安装,传动轴由轴承和固定于所述基座上的轴承座支撑安装;所述同步带光面绕于所述从动带轮、齿面绕于所述同步带轮,同步带轮两侧各设置一个由两个所述从动带轮组成的从动带轮组,每个所述从动带轮组支撑所述同步带的其中一段形成用于驱动所述横动杆的同步带直线段,同步带直线段的长度方向与横动杆运动方向平行,所述同步带直线段与所述横动杆通过连接块固定连接;其特征是,所述传动轴上还安装有传动轮,所述伺服电机转轴上安装有主动轮,主动轮和传动轮通过传动带传动连接,所述基座上设置有腰形孔,所述伺服电机通过腰形孔中的螺钉安装固定,使得伺服电机在基座上的安装位置可以调整,用于对所述传动带进行张紧;所述纱筒成型横动驱动装置还包括四个导向滑块和四根导向滑杆,每根所述横动杆对应两个导向滑块和两个导向滑杆,导向滑块固定于所述基座,导向滑杆两端固定安装于导向滑块,所述连接块设置滑孔套装于导向滑杆,使连接块可以在两个导向滑块之间的导向滑杆上滑移,导向滑块上设置有导向滑孔,所述横动杆穿装于导向滑孔中,横动杆尾端与连接块固定连接,实现了连接块和导向滑孔在横动杆长度方向上的两点间隔导向,减小了横动杆长度方向上的抖动,通过两根导向滑杆对连接块上下进行限位导向,避免了连接块带同横动杆扭转,这些都提高了横动杆上的导纱头的运行平稳性,提高了卷绕成型质量。
作为对上述技术方案的补充和完善,本发明还包括以下技术特征。
所述的传动轴贯穿于基座并悬伸于基座两侧,安装于传动轴上同步带轮和传动轮分设于基座两侧,避免传动轴单侧受力,提高了传动稳定性,从而提高卷绕成型质量。
所述的纱筒成型横动驱动装置还包括安装于所述基座上限位感应器,限位感应器分设于连接块的运动路径的两端,通过感应到连接块后反馈信号,由控制系统控制伺服电机的旋转,实现对横动杆最大行程的限定。
所述的纱筒成型横动驱动装置还包括安装于所述基座上中心感应器和方向感应器,中心感应器正对连接块运动路径的中心位置,设定横动杆运动行程的中心位置,从而能有控制系统控制伺服电机的旋转,实现横动杆运动行程的控制,方向感应器设置于中心感应器的一侧,通过方向感应器的反馈信号使控制系统能感知横动杆的运动方向,从而确定伺服电机重新启动后的旋转方向。
所述基座上设置用于安装所述固定轴的固定轴安装孔,每个所述从动带轮组的其中一个从动带轮的位置可以在所述同步带直线段长度方向上移动,支撑安装该从动带轮的所述固定轴为设置有径向螺孔的调整固定轴,用于穿装所述调整固定轴的固定轴安装孔为腰形孔,径向螺孔中穿装螺杆,所述基座上设置螺杆支座和调整螺母,通过旋转调整螺母可以调整螺杆相对于螺杆支座的位置,从而调整同步带直线段长度方向上所述调整固定轴在基座上安装位置,实现对同步带的张紧。
所述的基座上设置有顶撑螺钉支座,顶撑螺钉支座上设置有螺孔,螺孔中穿装有顶撑螺钉,顶撑螺钉顶撑于所述伺服电机,通过旋转顶撑螺钉调整顶撑螺钉相对于顶撑螺钉支座的位置,对伺服电机能形成顶撑力,在传动带张紧时可以顶撑伺服电机移动位置,在平时能对伺服电机形成限位顶撑作用。
所述同步带轮两侧的所述同步带直线段以所述同步带轮为中心对称设置,保证了两侧的同步带直线段张紧度一致,提高卷绕成型质量的一致性。
所述的传动轮直径大于所述主动轮,提高了传动扭矩。
所述伺服电机位于同步带围成的同步带圈圈内或位于同步带围成的同步带圈圈外,提高了伺服电机安装位置的灵活性,可以提高空间紧凑度。
本发明可以达到以下有益效果:1、本发明将连接块由两根导向滑杆导向限位更好的限制扭转,连接块与横动杆尾端连接,并在作为支撑安装导向滑杆的导向滑块上设置导向滑孔与连接块组成对横动杆长度方向上的两点式导向限位,减小横动杆长度方向上的抖动,通过对扭转和抖动的更好限制,提高了横动杆的运行平稳性,从而更好的保证了横动杆上的导纱头的平稳性,解决了现有技术中连接块容易扭转和横动杆长度方向容易抖动的问题,提高了卷绕成型质量,减小了同步带了偏转磨损,提高了同步带的使用寿命。2、采用两根导向滑杆对连接块导向限位和横动杆长度方向上的两点式导向限位结构,能使连接块连接于横动杆尾端,减少了为适应横动杆尾端运动的额外空间,可以提高本横动驱动装置的空间紧凑性。3、采用传动轴位置固定,伺服电机位置移动实现传动带张紧,固定轴带同从动带轮位置移动实现同步带张紧,同步带和传动带可以各自实现张紧,提高同步带张紧效果,从而实现提高横动杆运行平稳性,提高卷绕成型质量。4、采用传动轮直径大于主动轮的二级传动结构,提高了驱动力,提高了横动杆运动控制精度,从而提高了卷绕成型质量。
附图说明

图1为本发明的实施例一的主视方向结构示意图。

图2为本发明的实施例一的立体结构示意图。

图3位本发明的实施例一的背部结构示意图。

图4位本发明的实施例二的结构示意图。
具体实施方式
下面结合附图对本发明的具体实施方式进行详细描述。
实施例一:如图1-图3所示,本发明包括基座1、两根横动杆2、伺服电机3、同步带4、同步带轮5、四个从动带轮6、四个导向滑块14、四根导向滑杆13、两个限位感应器8、中心感应器9和方向感应器10。每个从动带轮6分别对应由一根固定轴支撑安装,基座1上设置用于安装固定轴的固定轴安装孔,固定轴穿过固定安装孔并通过旋装于固定轴端部的螺母进行固定,同步带轮5由一根传动轴7支撑安装,传动轴7由轴承和固定于基座1上的轴承座支撑安装;同步带4光面绕于从动带轮6、齿面绕于同步带轮5,每两个所述从动带轮6组成的一个从动带轮组,两个从动带轮组分别设置于同步带轮5的两侧,每个从动带轮组支撑同步带4的其中一段形成用于驱动横动杆2的同步带直线段,同步带直线段的长度方向与横动杆2运动方向平行,同步带轮两侧的同步带直线段以同步带轮5为中心对称设置,保证了两侧的同步带直线段张紧度一致,同步带直线段与横动杆2通过连接块12固定连接;每个从动带轮组的其中一个从动带轮的位置可以在同步带直线段长度方向上移动,支撑安装该从动带轮的固定轴为设置有径向螺孔的调整固定轴15,用于穿装调整固定轴15的固定轴安装孔为腰形孔,径向螺孔中穿装螺杆16,基座1上设置螺杆支座17和调整螺母18,通过旋转调整螺母可以调整螺杆相对于螺杆支座的位置,从而调整同步带直线段长度方向上所述调整固定轴15在基座上安装位置,实现对同步带的张紧。
传动轴7贯穿于基座1并悬伸于基座两侧,安装于传动轴7上的同步带轮5和传动轮21分设于基座两侧。伺服电机转轴上安装有主动轮22,主动轮22和传动轮21通过传动带23传动连接,传动轮21直径大于主动轮22。作为优选,传动带23为同步带,同步带的齿面绕于主动轮22和传动轮21上。基座1上设置有腰形孔11,伺服电机3通过腰形孔11中的螺钉安装固定,使得伺服电机在基座上的安装位置可以调整,用于对传动带进行张紧,腰形孔11位于同步带4围成的同步带圈圈外,使伺服电机3位于同步带4围成的同步带圈圈外。基座1上设置有顶撑螺钉支座19,顶撑螺钉支座19上设置有螺孔,螺孔中穿装有顶撑螺钉20,顶撑螺钉20顶撑于伺服电机3,通过旋转顶撑螺钉调整顶撑螺钉相对于顶撑螺钉支座的位置,对伺服电机能形成顶撑力,在传动带张紧时可以顶撑伺服电机移动位置,在平时能对伺服电机形成限位顶撑作用。
每根横动杆2对应两个导向滑块14和两个导向滑杆13,导向滑块14固定于基座1,导向滑杆13两端固定安装于导向滑块14,导向滑杆13的轴向与同步带直线段的长度方向平行,连接块12设置滑孔套装于导向滑杆13,使连接块可以在两个导向滑块之间的导向滑杆上滑移,导向滑块14上设置有导向滑孔,横动杆2穿装于导向滑孔中,横动杆2尾端与连接块12固定连接,组成了连接块和导向滑孔在横动杆长度方向上的两点间隔导向结构。
两个限位感应器8分设于连接块12的运动路径的两端,通过感应到连接块后反馈信号,由控制系统控制伺服电机的旋转,实现对横动杆最大行程的限定。
中心感应器9安装于基座上并正对连接块12运动路径的中心位置,设定横动杆运动行程的中心位置,从而能有控制系统控制伺服电机的旋转,实现横动杆运动行程的控制,方向感应器10设置于中心感应器9的一侧,通过方向感应器的反馈信号使控制系统能感知横动杆的运动方向,从而确定伺服电机重新启动后的旋转方向。
实施例二:如图4所示,腰形孔11位于同步带4围成的同步带圈圈内,使伺服电机3位于同步带4围成的同步带圈圈内,可以使本横动驱动装置空间更紧凑。
