应用案例
您当前的位置:产品应用
一种单柱式货物堆垛设备
一种单柱式货物堆垛设备
摘要:
一种单柱式货物堆垛设备,本实用新型涉及物料运输装置技术领域,它包含地车、立柱、货叉机构件、地轨、天轨;主动轮与从动轮分别设置于车身焊接件两端,行走电机固定设置在车身焊接件设置有主动轮的一端;转轴旋接在立柱两端,转轴上绕设有同步带,升降轨道设置在立柱侧面靠近同步带的一侧,升降电机固定设置在立柱下端;支架背面旋接有二号导轮,二号导轮架设在升降轨道上,支架背面与同步带固定连接,滑轨固定设置在支架上,滑动块架设在滑轨上,移动电机固定设置在滑动块上,移动电机输出轴上穿设有齿轮,齿轮与齿条咬合;其优点是占用空间小、操作定位精准、结构简单、设计合理、节约能源。
主权项:
1.一种单柱式货物堆垛设备,其特征在于:它包含地车、立柱、货叉机构件、地轨、天轨,其中,天轨设在地轨上方,且与地轨平行,地车滑动架设在地轨上,立柱竖直固定设置在地车上,立柱上端与天轨滑动设置,货叉机构件滑动架设在立柱上;所述的地车包含车身焊接件、主动轮、从动轮、行走电机、数个一号导轮,其中,主动轮与从动轮分别设置于车身焊接件两端,且均滑动设置在地轨上,一号导轮设置在车身焊接件侧面,且紧贴地轨侧面,行走电机固定设置在车身焊接件设置有主动轮的一端,且行走电机输出轴穿设在主动轮上;所述的立柱还包含升降电机、升降轨道、同步带、转轴,其中,转轴旋接在立柱两端,转轴上绕设有同步带,升降轨道设置在立柱侧面靠近同步带的一侧,且升降轨道与同步带平行,升降电机固定设置在立柱下端,且升降电机输出轴穿设在转轴上;所述的货叉机构件包含支架、数个二号导轮、数个链轮、齿轮、齿条、齿条固定件、移动电机、滑动块、滑轨、数个气缸,其中,支架背面旋接有二号导轮,二号导轮架设在升降轨道上,支架背面与同步带固定连接,滑轨固定设置在支架上,滑动块架设在滑轨上,移动电机固定设置在滑动块上,移动电机输出轴上穿设有齿轮,滑动块两端均固定设置有气缸,齿条固定件固定设置在支架上,齿条固定设置在齿条固定件上,齿轮与齿条咬合,链轮分数组旋接在支架上。
要求:
1.一种单柱式货物堆垛设备,其特征在于:它包含地车、立柱、货叉机构件、地轨、天轨,其中,天轨设在地轨上方,且与地轨平行,地车滑动架设在地轨上,立柱竖直固定设置在地车上,立柱上端与天轨滑动设置,货叉机构件滑动架设在立柱上;所述的地车包含车身焊接件、主动轮、从动轮、行走电机、数个一号导轮,其中,主动轮与从动轮分别设置于车身焊接件两端,且均滑动设置在地轨上,一号导轮设置在车身焊接件侧面,且紧贴地轨侧面,行走电机固定设置在车身焊接件设置有主动轮的一端,且行走电机输出轴穿设在主动轮上;所述的立柱还包含升降电机、升降轨道、同步带、转轴,其中,转轴旋接在立柱两端,转轴上绕设有同步带,升降轨道设置在立柱侧面靠近同步带的一侧,且升降轨道与同步带平行,升降电机固定设置在立柱下端,且升降电机输出轴穿设在转轴上;所述的货叉机构件包含支架、数个二号导轮、数个链轮、齿轮、齿条、齿条固定件、移动电机、滑动块、滑轨、数个气缸,其中,支架背面旋接有二号导轮,二号导轮架设在升降轨道上,支架背面与同步带固定连接,滑轨固定设置在支架上,滑动块架设在滑轨上,移动电机固定设置在滑动块上,移动电机输出轴上穿设有齿轮,滑动块两端均固定设置有气缸,齿条固定件固定设置在支架上,齿条固定设置在齿条固定件上,齿轮与齿条咬合,链轮分数组旋接在支架上。
2.根据权利要求1所述的一种单柱式货物堆垛设备,其特征在于:所述的车身焊接件上固定设置有缓冲座,缓冲座位于载货台正下方。
一种单柱式货物堆垛设备
技术领域
本实用新型涉及物料运输装置技术领域,具体涉及一种单柱式货物堆垛设备。
背景技术
随着社会的进步,工业的飞速发展,新的市场对物业物流系统提出了新的挑战,自动化立体仓库及物流系统越来越受到人们的关注,并得到广泛运用,堆垛机是自动化立体仓库中最关键的搬运和起重设备之一,它是在不需要人工干预的情况下,能自动从货架存储和取出物料的设备,它是现代社会工业高度发展的产物,它能够在自动化立体仓库的巷道中来回穿梭运行,具有空间利用率高,便于实现自动化管理,实时自动结算库存货物的种类和数量等优点,这对加快物流速度,提高企业劳动生产率,降低企业生产的成本,都有极其重要意义。
堆垛机按其结构可以分为单柱式堆垛机和双柱式堆垛机两种,目前,在自动化立体仓库中使用的堆垛机大都以单柱式为主,单柱堆垛机相对比较成熟,被广泛运用现代化大生产中去,单柱式堆垛机具有结构布局比较简单,性能良好,动作灵活,故障率低,维修方便等优点,但是现有堆垛机中载货台的升降大部分是采用马达加钢丝绳牵引,然而随着工业的发展,同步带的应用也越来越广泛,为此需要研制出一种马达加同步带牵引载货台的单柱式堆垛机。
实用新型内容
本实用新型的目的在于针对现有技术的缺陷和不足,提供一种占用空间小、操作定位精准、结构简单、设计合理、节约能源的单柱式货物堆垛设备。
为实现上述目的,本实用新型采用的技术方案是:它包含地车、立柱、货叉机构件、地轨、天轨,其中,天轨设在地轨上方,且与地轨平行,地车滑动架设在地轨上,立柱竖直固定设置在地车上,立柱上端与天轨滑动设置,货叉机构件滑动架设在立柱上;所述的地车包含车身焊接件、主动轮、从动轮、行走电机、数个一号导轮,其中,主动轮与从动轮分别设置于车身焊接件两端,且均滑动设置在地轨上,一号导轮设置在车身焊接件侧面,且紧贴地轨侧面,行走电机固定设置在车身焊接件设置有主动轮的一端,且行走电机输出轴穿设在主动轮上;所述的立柱还包含升降电机、升降轨道、同步带、转轴,其中,转轴旋接在立柱两端,转轴上绕设有同步带,升降轨道设置在立柱侧面靠近同步带的一侧,且升降轨道与同步带平行,升降电机固定设置在立柱下端,且升降电机输出轴穿设在转轴上;所述的货叉机构件包含支架、数个二号导轮、数个链轮、齿轮、齿条、齿条固定件、移动电机、滑动块、滑轨、数个气缸,其中,支架背面旋接有二号导轮,二号导轮架设在升降轨道上,支架背面与同步带固定连接,滑轨固定设置在支架上,滑动块架设在滑轨上,移动电机固定设置在滑动块上,移动电机输出轴上穿设有齿轮,滑动块两端均固定设置有气缸,齿条固定件固定设置在支架上,齿条固定设置在齿条固定件上,齿轮与齿条咬合,链轮分数组旋接在支架上。
进一步的,所述的车身焊接件上固定设置有缓冲座,缓冲座位于载货台正下方。
采用上述结构后,本实用新型有益效果为:本实用新型所述的同步带驱动结构和链轮、齿轮混合驱动式货叉机构件,能够让堆垛机进行精准的操作,同时又节约了能量的使用,其单柱式结构还节省了空间,本实用新型具有结构简单,设置合理,制作成本低等优点。
附图说明
为了更清楚地说明本实用新型实施例或现有技术中的技术方案,下面将对实施例或现有技术描述中所需要使用的附图作简单地介绍,显而易见地,下面描述中的附图仅仅是本实用新型的一些实施例,对于本领域普通技术人员来讲,在不付出创造性劳动性的前提下,还可以根据这些附图获得其他的附图。

图1是本实用新型结构示意图。

图2是本实用新型地车结构示意图。

图3是本实用新型立柱结构示意图。

图4是本实用新型货叉机构件结构示意图。
附图标记说明:
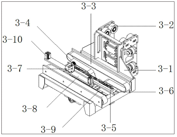
地车1、车身焊接件1-1、主动轮1-2、从动轮1-3、行走电机1-4、一号导轮1-5、立柱2、升降电机2-1、升降轨道2-2、同步带2-3、转轴2-4、货叉机构件3、支架3-1、二号导轮3-2、链轮3-3、齿轮3-4、齿条3-5、齿条固定件3-6、移动电机3-7、滑动块3-8、滑轨3-9、气缸3-10、地轨4、天轨5、缓冲座6。
具体实施方式
下面结合附图对本实用新型作进一步的说明。
参看如图1-图4所示,本具体实施方式包含地车1、立柱2、货叉机构件3、地轨4、天轨5,其中,天轨5设在地轨4上方,且与地轨平行,地车1滑动架设在地轨4上,立柱2竖直固定设置在地车1上,立柱2上端与天轨5滑动设置,货叉机构件3滑动架设在立柱2上;所述的地车1包含车身焊接件1-1、主动轮1-2、从动轮1-3、行走电机1-4、数个一号导轮1-5,其中,主动轮1-2与从动轮1-3分别设置于车身焊接件1-1两端,且均滑动设置在地轨4上,一号导轮1-5设置在车身焊接件1-1侧面,且紧贴地轨4侧面,行走电机1-4固定设置在车身焊接件1-1设置有主动轮1-2的一端,且行走电机1-4输出轴穿设在主动轮1-2上;所述的立柱2还包含升降电机2-1、升降轨道2-2、同步带2-3、转轴2-4,其中,转轴2-4旋接在立柱2两端,转轴2-4上绕设有同步带2-3,升降轨道2-2设置在立柱2侧面靠近同步带2-3的一侧,且升降轨道2-2与同步带2-3平行,升降电机2-1固定设置在立柱2下端,且升降电机2-1输出轴穿设在转轴2-4上;所述的货叉机构件3包含“L”形支架3-1、数个二号导轮3-2、数个链轮3-3、齿轮3-4、齿条3-5、齿条固定件3-6、移动电机3-7、滑动块3-8、滑轨3-9、数个气缸3-10,其中,支架3-1背面旋接有二号导轮3-2,二号导轮3-2架设在升降轨道2-2上,支架3-1背面与同步带2-3固定连接,滑轨3-9固定设置在支架3-1上,滑动块3-8架设在滑轨3-9上,移动电机3-7固定设置在滑动块3-8上,移动电机3-7输出轴上穿设有齿轮3-4,滑动块3-8两端均固定设置有气缸3-10,齿条固定件3-6固定设置在支架3-1上,齿条3-5固定设置在齿条固定件3-6上,齿轮3-4与齿条3-5咬合,链轮3-3分数组旋接在支架3-1上,滑动块3-8、气缸3-10及链轮3-3上方放置有产品。
进一步的,所述的车身焊接件1-1上固定设置有缓冲座6,缓冲座6位于货叉机构件3正下方。
本具体实施方式运行时,设备整体在行走电机1-4的带动下水平移动到恰当位置,升降电机2-1工作,带动同步带2-3工作,从而使货叉机构件3上下移动到恰当位置,此时货叉伸出进行操作,气缸3-10顶起产品,移动电机3-7带动滑动块3-8移动,滑动块3-8带动放置在链轮组3-3上的产品移动,此时链轮组3-3同步转动,减小产品移动中的摩擦力,增加产品移动中的稳定性,以此往复。
采用上述结构后,本具体实施方式所具有的优点是占用空间小、操作定位精准、结构简单、设计合理、节约能源。
以上所述,仅用以说明本实用新型的技术方案而非限制,本领域普通技术人员对本实用新型的技术方案所做的其它修改或者等同替换,只要不脱离本实用新型技术方案的精神和范围,均应涵盖在本实用新型的权利要求范围当中。
摘要:
一种单柱式货物堆垛设备,本实用新型涉及物料运输装置技术领域,它包含地车、立柱、货叉机构件、地轨、天轨;主动轮与从动轮分别设置于车身焊接件两端,行走电机固定设置在车身焊接件设置有主动轮的一端;转轴旋接在立柱两端,转轴上绕设有同步带,升降轨道设置在立柱侧面靠近同步带的一侧,升降电机固定设置在立柱下端;支架背面旋接有二号导轮,二号导轮架设在升降轨道上,支架背面与同步带固定连接,滑轨固定设置在支架上,滑动块架设在滑轨上,移动电机固定设置在滑动块上,移动电机输出轴上穿设有齿轮,齿轮与齿条咬合;其优点是占用空间小、操作定位精准、结构简单、设计合理、节约能源。
主权项:
1.一种单柱式货物堆垛设备,其特征在于:它包含地车、立柱、货叉机构件、地轨、天轨,其中,天轨设在地轨上方,且与地轨平行,地车滑动架设在地轨上,立柱竖直固定设置在地车上,立柱上端与天轨滑动设置,货叉机构件滑动架设在立柱上;所述的地车包含车身焊接件、主动轮、从动轮、行走电机、数个一号导轮,其中,主动轮与从动轮分别设置于车身焊接件两端,且均滑动设置在地轨上,一号导轮设置在车身焊接件侧面,且紧贴地轨侧面,行走电机固定设置在车身焊接件设置有主动轮的一端,且行走电机输出轴穿设在主动轮上;所述的立柱还包含升降电机、升降轨道、同步带、转轴,其中,转轴旋接在立柱两端,转轴上绕设有同步带,升降轨道设置在立柱侧面靠近同步带的一侧,且升降轨道与同步带平行,升降电机固定设置在立柱下端,且升降电机输出轴穿设在转轴上;所述的货叉机构件包含支架、数个二号导轮、数个链轮、齿轮、齿条、齿条固定件、移动电机、滑动块、滑轨、数个气缸,其中,支架背面旋接有二号导轮,二号导轮架设在升降轨道上,支架背面与同步带固定连接,滑轨固定设置在支架上,滑动块架设在滑轨上,移动电机固定设置在滑动块上,移动电机输出轴上穿设有齿轮,滑动块两端均固定设置有气缸,齿条固定件固定设置在支架上,齿条固定设置在齿条固定件上,齿轮与齿条咬合,链轮分数组旋接在支架上。
要求:
1.一种单柱式货物堆垛设备,其特征在于:它包含地车、立柱、货叉机构件、地轨、天轨,其中,天轨设在地轨上方,且与地轨平行,地车滑动架设在地轨上,立柱竖直固定设置在地车上,立柱上端与天轨滑动设置,货叉机构件滑动架设在立柱上;所述的地车包含车身焊接件、主动轮、从动轮、行走电机、数个一号导轮,其中,主动轮与从动轮分别设置于车身焊接件两端,且均滑动设置在地轨上,一号导轮设置在车身焊接件侧面,且紧贴地轨侧面,行走电机固定设置在车身焊接件设置有主动轮的一端,且行走电机输出轴穿设在主动轮上;所述的立柱还包含升降电机、升降轨道、同步带、转轴,其中,转轴旋接在立柱两端,转轴上绕设有同步带,升降轨道设置在立柱侧面靠近同步带的一侧,且升降轨道与同步带平行,升降电机固定设置在立柱下端,且升降电机输出轴穿设在转轴上;所述的货叉机构件包含支架、数个二号导轮、数个链轮、齿轮、齿条、齿条固定件、移动电机、滑动块、滑轨、数个气缸,其中,支架背面旋接有二号导轮,二号导轮架设在升降轨道上,支架背面与同步带固定连接,滑轨固定设置在支架上,滑动块架设在滑轨上,移动电机固定设置在滑动块上,移动电机输出轴上穿设有齿轮,滑动块两端均固定设置有气缸,齿条固定件固定设置在支架上,齿条固定设置在齿条固定件上,齿轮与齿条咬合,链轮分数组旋接在支架上。
2.根据权利要求1所述的一种单柱式货物堆垛设备,其特征在于:所述的车身焊接件上固定设置有缓冲座,缓冲座位于载货台正下方。
一种单柱式货物堆垛设备
技术领域
本实用新型涉及物料运输装置技术领域,具体涉及一种单柱式货物堆垛设备。
背景技术
随着社会的进步,工业的飞速发展,新的市场对物业物流系统提出了新的挑战,自动化立体仓库及物流系统越来越受到人们的关注,并得到广泛运用,堆垛机是自动化立体仓库中最关键的搬运和起重设备之一,它是在不需要人工干预的情况下,能自动从货架存储和取出物料的设备,它是现代社会工业高度发展的产物,它能够在自动化立体仓库的巷道中来回穿梭运行,具有空间利用率高,便于实现自动化管理,实时自动结算库存货物的种类和数量等优点,这对加快物流速度,提高企业劳动生产率,降低企业生产的成本,都有极其重要意义。
堆垛机按其结构可以分为单柱式堆垛机和双柱式堆垛机两种,目前,在自动化立体仓库中使用的堆垛机大都以单柱式为主,单柱堆垛机相对比较成熟,被广泛运用现代化大生产中去,单柱式堆垛机具有结构布局比较简单,性能良好,动作灵活,故障率低,维修方便等优点,但是现有堆垛机中载货台的升降大部分是采用马达加钢丝绳牵引,然而随着工业的发展,同步带的应用也越来越广泛,为此需要研制出一种马达加同步带牵引载货台的单柱式堆垛机。
实用新型内容
本实用新型的目的在于针对现有技术的缺陷和不足,提供一种占用空间小、操作定位精准、结构简单、设计合理、节约能源的单柱式货物堆垛设备。
为实现上述目的,本实用新型采用的技术方案是:它包含地车、立柱、货叉机构件、地轨、天轨,其中,天轨设在地轨上方,且与地轨平行,地车滑动架设在地轨上,立柱竖直固定设置在地车上,立柱上端与天轨滑动设置,货叉机构件滑动架设在立柱上;所述的地车包含车身焊接件、主动轮、从动轮、行走电机、数个一号导轮,其中,主动轮与从动轮分别设置于车身焊接件两端,且均滑动设置在地轨上,一号导轮设置在车身焊接件侧面,且紧贴地轨侧面,行走电机固定设置在车身焊接件设置有主动轮的一端,且行走电机输出轴穿设在主动轮上;所述的立柱还包含升降电机、升降轨道、同步带、转轴,其中,转轴旋接在立柱两端,转轴上绕设有同步带,升降轨道设置在立柱侧面靠近同步带的一侧,且升降轨道与同步带平行,升降电机固定设置在立柱下端,且升降电机输出轴穿设在转轴上;所述的货叉机构件包含支架、数个二号导轮、数个链轮、齿轮、齿条、齿条固定件、移动电机、滑动块、滑轨、数个气缸,其中,支架背面旋接有二号导轮,二号导轮架设在升降轨道上,支架背面与同步带固定连接,滑轨固定设置在支架上,滑动块架设在滑轨上,移动电机固定设置在滑动块上,移动电机输出轴上穿设有齿轮,滑动块两端均固定设置有气缸,齿条固定件固定设置在支架上,齿条固定设置在齿条固定件上,齿轮与齿条咬合,链轮分数组旋接在支架上。
进一步的,所述的车身焊接件上固定设置有缓冲座,缓冲座位于载货台正下方。
采用上述结构后,本实用新型有益效果为:本实用新型所述的同步带驱动结构和链轮、齿轮混合驱动式货叉机构件,能够让堆垛机进行精准的操作,同时又节约了能量的使用,其单柱式结构还节省了空间,本实用新型具有结构简单,设置合理,制作成本低等优点。
附图说明
为了更清楚地说明本实用新型实施例或现有技术中的技术方案,下面将对实施例或现有技术描述中所需要使用的附图作简单地介绍,显而易见地,下面描述中的附图仅仅是本实用新型的一些实施例,对于本领域普通技术人员来讲,在不付出创造性劳动性的前提下,还可以根据这些附图获得其他的附图。

图1是本实用新型结构示意图。

图2是本实用新型地车结构示意图。

图3是本实用新型立柱结构示意图。

图4是本实用新型货叉机构件结构示意图。
附图标记说明:
地车1、车身焊接件1-1、主动轮1-2、从动轮1-3、行走电机1-4、一号导轮1-5、立柱2、升降电机2-1、升降轨道2-2、同步带2-3、转轴2-4、货叉机构件3、支架3-1、二号导轮3-2、链轮3-3、齿轮3-4、齿条3-5、齿条固定件3-6、移动电机3-7、滑动块3-8、滑轨3-9、气缸3-10、地轨4、天轨5、缓冲座6。
具体实施方式
下面结合附图对本实用新型作进一步的说明。
参看如图1-图4所示,本具体实施方式包含地车1、立柱2、货叉机构件3、地轨4、天轨5,其中,天轨5设在地轨4上方,且与地轨平行,地车1滑动架设在地轨4上,立柱2竖直固定设置在地车1上,立柱2上端与天轨5滑动设置,货叉机构件3滑动架设在立柱2上;所述的地车1包含车身焊接件1-1、主动轮1-2、从动轮1-3、行走电机1-4、数个一号导轮1-5,其中,主动轮1-2与从动轮1-3分别设置于车身焊接件1-1两端,且均滑动设置在地轨4上,一号导轮1-5设置在车身焊接件1-1侧面,且紧贴地轨4侧面,行走电机1-4固定设置在车身焊接件1-1设置有主动轮1-2的一端,且行走电机1-4输出轴穿设在主动轮1-2上;所述的立柱2还包含升降电机2-1、升降轨道2-2、同步带2-3、转轴2-4,其中,转轴2-4旋接在立柱2两端,转轴2-4上绕设有同步带2-3,升降轨道2-2设置在立柱2侧面靠近同步带2-3的一侧,且升降轨道2-2与同步带2-3平行,升降电机2-1固定设置在立柱2下端,且升降电机2-1输出轴穿设在转轴2-4上;所述的货叉机构件3包含“L”形支架3-1、数个二号导轮3-2、数个链轮3-3、齿轮3-4、齿条3-5、齿条固定件3-6、移动电机3-7、滑动块3-8、滑轨3-9、数个气缸3-10,其中,支架3-1背面旋接有二号导轮3-2,二号导轮3-2架设在升降轨道2-2上,支架3-1背面与同步带2-3固定连接,滑轨3-9固定设置在支架3-1上,滑动块3-8架设在滑轨3-9上,移动电机3-7固定设置在滑动块3-8上,移动电机3-7输出轴上穿设有齿轮3-4,滑动块3-8两端均固定设置有气缸3-10,齿条固定件3-6固定设置在支架3-1上,齿条3-5固定设置在齿条固定件3-6上,齿轮3-4与齿条3-5咬合,链轮3-3分数组旋接在支架3-1上,滑动块3-8、气缸3-10及链轮3-3上方放置有产品。
进一步的,所述的车身焊接件1-1上固定设置有缓冲座6,缓冲座6位于货叉机构件3正下方。
本具体实施方式运行时,设备整体在行走电机1-4的带动下水平移动到恰当位置,升降电机2-1工作,带动同步带2-3工作,从而使货叉机构件3上下移动到恰当位置,此时货叉伸出进行操作,气缸3-10顶起产品,移动电机3-7带动滑动块3-8移动,滑动块3-8带动放置在链轮组3-3上的产品移动,此时链轮组3-3同步转动,减小产品移动中的摩擦力,增加产品移动中的稳定性,以此往复。
采用上述结构后,本具体实施方式所具有的优点是占用空间小、操作定位精准、结构简单、设计合理、节约能源。
以上所述,仅用以说明本实用新型的技术方案而非限制,本领域普通技术人员对本实用新型的技术方案所做的其它修改或者等同替换,只要不脱离本实用新型技术方案的精神和范围,均应涵盖在本实用新型的权利要求范围当中。
