应用案例
您当前的位置:产品应用
一种立体车库的载车盘储存装置及其操作方法
一种立体车库的载车盘储存装置及其操作方法
【申请公布号:CN108425534A;申请权利人:东莞理工学院;发明设计人:李荣泳; 孙振忠;】
摘要:
本发明公开了一种立体车库的载车盘储存装置,包括电机,电机驱动同步带转动,同步带上安装带板,带板上放置载车盘,所述的电机安装在立柱上,立柱上安装有微机和底板,底板上设置有传感器,微机电连接电机和传感器,带板与第二同步带固定连接,第二同步带与第二带轮配合连接并传递动力,第二带轮设在转动轴上,转动轴上还安装有第一带轮,第一带轮设置在两个第二带轮之间,第一带轮与第一同步带配合连接并传递动力,第一同步带与电机的动力轴相连,转动轴通过轴承安装在两立柱之间。本发明还公开了该装置的操作方法,可以通过微机控制,方便存取载车盘。该装置基于小区立体车库而设计,用于储存空余的载车盘,可以使立体车库高效运转。
主权项:
1.一种立体车库的载车盘储存装置,其特征在于,包括电机(2),电机(2)驱动同步带转动,同步带上安装带板(6),带板(6)上放置载车盘(1),所述的电机(2)安装在立柱(3)上,立柱(3)上安装有微机(9)和底板(5),底板(5)上设置有传感器(4),微机(9)电连接电机(2)和传感器(4)。
要求:
1.一种立体车库的载车盘储存装置,其特征在于,包括电机(2),电机(2)驱动同步带转动,同步带上安装带板(6),带板(6)上放置载车盘(1),所述的电机(2)安装在立柱(3)上,立柱(3)上安装有微机(9)和底板(5),底板(5)上设置有传感器(4),微机(9)电连接电机(2)和传感器(4)。
2.根据权利要求1所述的一种立体车库的载车盘储存装置,其特征在于,所述的带板(6)与第二同步带(8)固定连接,带板(6)均匀排列设置。
3.根据权利要求2所述的一种立体车库的载车盘储存装置,其特征在于,所述的第二同步带(8)与第二带轮(11)配合连接并传递动力。
4.根据权利要求3所述的一种立体车库的载车盘储存装置,其特征在于,所述的第二带轮(11)设在转动轴(12)上,转动轴(12)上还安装有第一带轮(10)。
5.根据权利要求4所述的一种立体车库的载车盘储存装置,其特征在于,所述的第一带轮(10)设置在两个第二带轮(11)之间。
6.根据权利要求5所述的一种立体车库的载车盘储存装置,其特征在于,所述的第一带轮(10)与第一同步(7)带配合连接并传递动力,第一同步带(7)与电机(2)的动力轴相连。
7.根据权利要求6所述的一种立体车库的载车盘储存装置,其特征在于,所述的转动轴(12)通过轴承安装在两立柱(3)之间。
8.根据权利要求1-7任一所述的立体车库的载车盘储存装置的操作方法,存放载车盘(1)的步骤为:微机(9)接收传感器(4)反馈的信号,判断底板(5)上是否放置有载车盘(1),若底板(5)上无载车盘(1),堆垛机将载车盘(1)运送至底板(5)上;若底板(5)上有载车盘(1),则微机(9)发出指令至电机(2),控制电机(2)驱动特定的圈数使带板(6)升高一层,此时再通过堆垛机将载车盘(1)运送至底板(5)上存放。
9.根据权利要求8所述的立体车库的载车盘储存装置的操作方法,取出载车盘(1)的步骤为:微机(9)接收传感器(4)反馈的信号,判断底板(5)上是否放置有载车盘(1),若底板(5)上有载车盘(1),堆垛机将载车盘(1)移出运走;若底板(5)上无载车盘(1),则微机(9)发出指令至电机(2),控制电机(2)驱动特定的圈数使带板(6)降低一层,让倒数第二层的载车盘(1)下降到底板(5)上,此时再通过堆垛机将载车盘(1)移出运走。
10.根据权利要求9所述的立体车库的载车盘储存装置的操作方法,所述的传感器(4)选用压力传感器(4)。
一种立体车库的载车盘储存装置及其操作方法
技术领域
本发明涉及立体车库周转改进设计技术领域,特别是涉及一种立体车库的载车盘储存装置及其操作方法。
背景技术
在现有技术中,立体停车库,是用最大量存取储放车辆的机械或机械设备系统。针对专业车场管理公司,立体车库是提高停车场容量、增加停车费收入的有效手段,车辆要停进来立体车库时,先把车到停到载车盘上,车与载车盘由举升装置输送到指定停车位,由于存车时候要用到载车盘,车辆开走,载车盘会空闲出来。空置的载车盘始终处于停车位,会干扰到其余负载的载车盘升降使用,通常需要将空置的载车盘移出并存储,针对现有存储载车盘空间利用效率低的问题,本设计主要是解决空置的载车盘存取的技术问题,实现空间利用率高,周转速度快。
发明内容
本发明的目的在于克服现有技术的不足,提供一种立体车库的载车盘储存装置及其操作方法,该装置存取载车盘快捷且空间利用率高,可以根据场地实际增减载车盘的存放层数。
为了达到上述目的,本发明采用的技术方案是:一种立体车库的载车盘储存装置,包括电机,电机驱动同步带转动,同步带上安装带板,带板上放置载车盘,所述的电机安装在立柱上,立柱上安装有微机和底板,底板上设置有传感器,微机电连接电机和传感器。
进一步的,如上所述的带板与第二同步带固定连接,带板均匀排列设置。
进一步的,如上所述的第二同步带与第二带轮配合连接并传递动力。
进一步的,如上所述的第二带轮设在转动轴上,转动轴上还安装有第一带轮。
进一步的,如上所述的第一带轮设置在两个第二带轮之间。
进一步的,如上所述的第一带轮与第一同步带配合连接并传递动力,第一同步带与电机的动力轴相连。
进一步的,如上所述的转动轴通过轴承安装在两立柱之间。
一种立体车库的载车盘储存装置的操作方法,存放载车盘的步骤为:微机接收传感器反馈的信号,判断底板上是否放置有载车盘,若底板上无载车盘,堆垛机将载车盘运送至底板上;若底板上有载车盘,则微机发出指令至电机,控制电机驱动特定的圈数使带板升高一层,此时再通过堆垛机将载车盘运送至底板上存放。
一种立体车库的载车盘储存装置的操作方法,取出载车盘的步骤为:微机接收传感器反馈的信号,判断底板上是否放置有载车盘,若底板上有载车盘,堆垛机将载车盘移出运走;若底板上无载车盘,则微机发出指令至电机,控制电机驱动特定的圈数使带板降低一层,让倒数第二层的载车盘下降到底板上,此时再通过堆垛机将载车盘移出运走。
进一步的,如上所述的传感器选用压力传感器。
与现有技术相比,本发明的有益效果是:本装置通过微机控制实现载车盘快速存取,同时可以根据实际场地需求设计相应的存放层数,使得装置的空间利用率高,配合立体车库使用的周转效率高。
附图说明

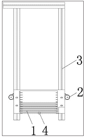
图1为本发明的立体图;

图2为本发明的主视图;

图3为本发明的传动部分放大示意图一;

图4为本发明的传动部分放大示意图二。
附图中的标记为:1.载车盘;2.电机;3.立柱;4.传感器;5.底板;6.带板;7.第一同步带;8.第二同步带;9.微机;10.第一带轮;11.第二带轮;12.转动轴。
具体实施方式
下面结合实施例参照附图进行详细说明,以便对本发明的技术特征及优点进行更深入的诠释。
如图1-4所示,本发明的一种立体车库的载车盘1储存装置,包括电机2,电机2驱动同步带转动,同步带上安装若干带板6,相对的两带板6上放置载车盘1,所述的电机2安装在立柱3上,立柱3上安装有微机9和底板5,底板5上设置有传感器4,微机9电连接电机2和传感器4,微机9用以接收传感器4反馈的信号以及控制电机2的启停和转动圈数。
进一步的,所述的带板6与第二同步带8固定连接,带板6均匀排列设置在第二同步带8外层上,所述的第二同步带8与第二带轮11配合连接并传递动力,所述的第二带轮11设在转动轴12上,转动轴12上还安装有第一带轮10,所述的第一带轮10设置在两个第二带轮11之间,保持转动轴12的受力平衡,力矩平衡,降低转动轴12的变形量,所述的第一带轮10与第一同步带7配合连接并传递动力,第一同步带7与电机2的动力轴相连,电机2提供全部动力,经过带轮同步带传动机构最终传递至带板6,使带板6升降。所述的转动轴12通过轴承安装在两立柱3之间。
一种立体车库的载车盘1储存装置的操作方法,存放载车盘1的步骤为:微机9接收传感器4反馈的信号,判断底板5上是否放置有载车盘1,若底板5上无载车盘1,堆垛机将载车盘1运送至底板5上;若底板5上有载车盘1,则微机9发出指令至电机2,控制电机2驱动特定的圈数使带板6升高一层,此时再通过堆垛机将载车盘1运送至底板5上存放。
一种立体车库的载车盘1储存装置的操作方法,取出载车盘1的步骤为:微机9接收传感器4反馈的信号,判断底板5上是否放置有载车盘1,若底板5上有载车盘1,堆垛机将载车盘1移出运走;若底板5上无载车盘1,则微机9发出指令至电机2,控制电机2驱动特定的圈数使带板6降低一层,让倒数第二层的载车盘1下降到底板5上,此时再通过堆垛机将载车盘1移出运走。
进一步的,所述的传感器4选用压力传感器4。
本发明装置为辅助设备,用于存储立体车库的载车盘1,主要作用是,立体车库停车有停车需求时,本装置将载车盘1输送至底板5上,再通过堆垛机移出送至立体车库中停车,当立体车库中的载车盘1空置时,为了方便其余车停取车,需要将载车盘1移出立体车库,此时就可以用堆垛机将载车盘1送至本装置的底板5上存储。
本发明装置中,堆垛机、微机9、电机2、同步带、带轮和传感器4等均为现有技术或材料,所属的技术人员根据所需的产品型号和规格,可以直接从市面购买或者订做,所涉及到的微机9控制系统也为常规设计。
通过以上实施例中的技术方案对本发明进行清楚、完整的描述,显然所描述的实施例为本发明一部分的实施例,而不是全部的实施例。基于本发明中的实施例,本领域普通技术人员在没有做出创造性劳动前提下所获得的所有其他实施例,都属于本发明保护的范围。
【申请公布号:CN108425534A;申请权利人:东莞理工学院;发明设计人:李荣泳; 孙振忠;】
摘要:
本发明公开了一种立体车库的载车盘储存装置,包括电机,电机驱动同步带转动,同步带上安装带板,带板上放置载车盘,所述的电机安装在立柱上,立柱上安装有微机和底板,底板上设置有传感器,微机电连接电机和传感器,带板与第二同步带固定连接,第二同步带与第二带轮配合连接并传递动力,第二带轮设在转动轴上,转动轴上还安装有第一带轮,第一带轮设置在两个第二带轮之间,第一带轮与第一同步带配合连接并传递动力,第一同步带与电机的动力轴相连,转动轴通过轴承安装在两立柱之间。本发明还公开了该装置的操作方法,可以通过微机控制,方便存取载车盘。该装置基于小区立体车库而设计,用于储存空余的载车盘,可以使立体车库高效运转。
主权项:
1.一种立体车库的载车盘储存装置,其特征在于,包括电机(2),电机(2)驱动同步带转动,同步带上安装带板(6),带板(6)上放置载车盘(1),所述的电机(2)安装在立柱(3)上,立柱(3)上安装有微机(9)和底板(5),底板(5)上设置有传感器(4),微机(9)电连接电机(2)和传感器(4)。
要求:
1.一种立体车库的载车盘储存装置,其特征在于,包括电机(2),电机(2)驱动同步带转动,同步带上安装带板(6),带板(6)上放置载车盘(1),所述的电机(2)安装在立柱(3)上,立柱(3)上安装有微机(9)和底板(5),底板(5)上设置有传感器(4),微机(9)电连接电机(2)和传感器(4)。
2.根据权利要求1所述的一种立体车库的载车盘储存装置,其特征在于,所述的带板(6)与第二同步带(8)固定连接,带板(6)均匀排列设置。
3.根据权利要求2所述的一种立体车库的载车盘储存装置,其特征在于,所述的第二同步带(8)与第二带轮(11)配合连接并传递动力。
4.根据权利要求3所述的一种立体车库的载车盘储存装置,其特征在于,所述的第二带轮(11)设在转动轴(12)上,转动轴(12)上还安装有第一带轮(10)。
5.根据权利要求4所述的一种立体车库的载车盘储存装置,其特征在于,所述的第一带轮(10)设置在两个第二带轮(11)之间。
6.根据权利要求5所述的一种立体车库的载车盘储存装置,其特征在于,所述的第一带轮(10)与第一同步(7)带配合连接并传递动力,第一同步带(7)与电机(2)的动力轴相连。
7.根据权利要求6所述的一种立体车库的载车盘储存装置,其特征在于,所述的转动轴(12)通过轴承安装在两立柱(3)之间。
8.根据权利要求1-7任一所述的立体车库的载车盘储存装置的操作方法,存放载车盘(1)的步骤为:微机(9)接收传感器(4)反馈的信号,判断底板(5)上是否放置有载车盘(1),若底板(5)上无载车盘(1),堆垛机将载车盘(1)运送至底板(5)上;若底板(5)上有载车盘(1),则微机(9)发出指令至电机(2),控制电机(2)驱动特定的圈数使带板(6)升高一层,此时再通过堆垛机将载车盘(1)运送至底板(5)上存放。
9.根据权利要求8所述的立体车库的载车盘储存装置的操作方法,取出载车盘(1)的步骤为:微机(9)接收传感器(4)反馈的信号,判断底板(5)上是否放置有载车盘(1),若底板(5)上有载车盘(1),堆垛机将载车盘(1)移出运走;若底板(5)上无载车盘(1),则微机(9)发出指令至电机(2),控制电机(2)驱动特定的圈数使带板(6)降低一层,让倒数第二层的载车盘(1)下降到底板(5)上,此时再通过堆垛机将载车盘(1)移出运走。
10.根据权利要求9所述的立体车库的载车盘储存装置的操作方法,所述的传感器(4)选用压力传感器(4)。
一种立体车库的载车盘储存装置及其操作方法
技术领域
本发明涉及立体车库周转改进设计技术领域,特别是涉及一种立体车库的载车盘储存装置及其操作方法。
背景技术
在现有技术中,立体停车库,是用最大量存取储放车辆的机械或机械设备系统。针对专业车场管理公司,立体车库是提高停车场容量、增加停车费收入的有效手段,车辆要停进来立体车库时,先把车到停到载车盘上,车与载车盘由举升装置输送到指定停车位,由于存车时候要用到载车盘,车辆开走,载车盘会空闲出来。空置的载车盘始终处于停车位,会干扰到其余负载的载车盘升降使用,通常需要将空置的载车盘移出并存储,针对现有存储载车盘空间利用效率低的问题,本设计主要是解决空置的载车盘存取的技术问题,实现空间利用率高,周转速度快。
发明内容
本发明的目的在于克服现有技术的不足,提供一种立体车库的载车盘储存装置及其操作方法,该装置存取载车盘快捷且空间利用率高,可以根据场地实际增减载车盘的存放层数。
为了达到上述目的,本发明采用的技术方案是:一种立体车库的载车盘储存装置,包括电机,电机驱动同步带转动,同步带上安装带板,带板上放置载车盘,所述的电机安装在立柱上,立柱上安装有微机和底板,底板上设置有传感器,微机电连接电机和传感器。
进一步的,如上所述的带板与第二同步带固定连接,带板均匀排列设置。
进一步的,如上所述的第二同步带与第二带轮配合连接并传递动力。
进一步的,如上所述的第二带轮设在转动轴上,转动轴上还安装有第一带轮。
进一步的,如上所述的第一带轮设置在两个第二带轮之间。
进一步的,如上所述的第一带轮与第一同步带配合连接并传递动力,第一同步带与电机的动力轴相连。
进一步的,如上所述的转动轴通过轴承安装在两立柱之间。
一种立体车库的载车盘储存装置的操作方法,存放载车盘的步骤为:微机接收传感器反馈的信号,判断底板上是否放置有载车盘,若底板上无载车盘,堆垛机将载车盘运送至底板上;若底板上有载车盘,则微机发出指令至电机,控制电机驱动特定的圈数使带板升高一层,此时再通过堆垛机将载车盘运送至底板上存放。
一种立体车库的载车盘储存装置的操作方法,取出载车盘的步骤为:微机接收传感器反馈的信号,判断底板上是否放置有载车盘,若底板上有载车盘,堆垛机将载车盘移出运走;若底板上无载车盘,则微机发出指令至电机,控制电机驱动特定的圈数使带板降低一层,让倒数第二层的载车盘下降到底板上,此时再通过堆垛机将载车盘移出运走。
进一步的,如上所述的传感器选用压力传感器。
与现有技术相比,本发明的有益效果是:本装置通过微机控制实现载车盘快速存取,同时可以根据实际场地需求设计相应的存放层数,使得装置的空间利用率高,配合立体车库使用的周转效率高。
附图说明

图1为本发明的立体图;

图2为本发明的主视图;

图3为本发明的传动部分放大示意图一;

图4为本发明的传动部分放大示意图二。
附图中的标记为:1.载车盘;2.电机;3.立柱;4.传感器;5.底板;6.带板;7.第一同步带;8.第二同步带;9.微机;10.第一带轮;11.第二带轮;12.转动轴。
具体实施方式
下面结合实施例参照附图进行详细说明,以便对本发明的技术特征及优点进行更深入的诠释。
如图1-4所示,本发明的一种立体车库的载车盘1储存装置,包括电机2,电机2驱动同步带转动,同步带上安装若干带板6,相对的两带板6上放置载车盘1,所述的电机2安装在立柱3上,立柱3上安装有微机9和底板5,底板5上设置有传感器4,微机9电连接电机2和传感器4,微机9用以接收传感器4反馈的信号以及控制电机2的启停和转动圈数。
进一步的,所述的带板6与第二同步带8固定连接,带板6均匀排列设置在第二同步带8外层上,所述的第二同步带8与第二带轮11配合连接并传递动力,所述的第二带轮11设在转动轴12上,转动轴12上还安装有第一带轮10,所述的第一带轮10设置在两个第二带轮11之间,保持转动轴12的受力平衡,力矩平衡,降低转动轴12的变形量,所述的第一带轮10与第一同步带7配合连接并传递动力,第一同步带7与电机2的动力轴相连,电机2提供全部动力,经过带轮同步带传动机构最终传递至带板6,使带板6升降。所述的转动轴12通过轴承安装在两立柱3之间。
一种立体车库的载车盘1储存装置的操作方法,存放载车盘1的步骤为:微机9接收传感器4反馈的信号,判断底板5上是否放置有载车盘1,若底板5上无载车盘1,堆垛机将载车盘1运送至底板5上;若底板5上有载车盘1,则微机9发出指令至电机2,控制电机2驱动特定的圈数使带板6升高一层,此时再通过堆垛机将载车盘1运送至底板5上存放。
一种立体车库的载车盘1储存装置的操作方法,取出载车盘1的步骤为:微机9接收传感器4反馈的信号,判断底板5上是否放置有载车盘1,若底板5上有载车盘1,堆垛机将载车盘1移出运走;若底板5上无载车盘1,则微机9发出指令至电机2,控制电机2驱动特定的圈数使带板6降低一层,让倒数第二层的载车盘1下降到底板5上,此时再通过堆垛机将载车盘1移出运走。
进一步的,所述的传感器4选用压力传感器4。
本发明装置为辅助设备,用于存储立体车库的载车盘1,主要作用是,立体车库停车有停车需求时,本装置将载车盘1输送至底板5上,再通过堆垛机移出送至立体车库中停车,当立体车库中的载车盘1空置时,为了方便其余车停取车,需要将载车盘1移出立体车库,此时就可以用堆垛机将载车盘1送至本装置的底板5上存储。
本发明装置中,堆垛机、微机9、电机2、同步带、带轮和传感器4等均为现有技术或材料,所属的技术人员根据所需的产品型号和规格,可以直接从市面购买或者订做,所涉及到的微机9控制系统也为常规设计。
通过以上实施例中的技术方案对本发明进行清楚、完整的描述,显然所描述的实施例为本发明一部分的实施例,而不是全部的实施例。基于本发明中的实施例,本领域普通技术人员在没有做出创造性劳动前提下所获得的所有其他实施例,都属于本发明保护的范围。
