应用案例
您当前的位置:产品应用
一种智能书写机器人
一种智能书写机器人
【申请公布号:CN108527401A;申请权利人:北京勤牛创智科技有限公司;发明设计人:贾瑞清; 张钧嘉; 周东旭; 董会; 王乾; 贾敏; 王磊;】
摘要:
本发明提供一种智能书写机器人,包括驱动盒和机械手,其特征在于:所述驱动盒中设置有驱动装置,所述驱动装置包括第一同步带装置和第二同步带装置,所述第一同步带装置致动所述第二同步带装置;所述机械手设置在所述驱动盒外部,并与所述第二同步带装置连接;所述机械手通过所述第一同步带装置和第二同步带装置的驱动,在所述驱动盒外部的平面上移动。本发明提供的智能书写机器人,机械手结构小巧轻便,进行书写时,机械手的摩擦力小、惯性力小,跟随精度高、书写误差小;驱动盒内两条同步带空间交错的S形布置方式,使得智能书写机器人在相同的体积下,可以获得更大的工作范围。
主权项:
1.一种智能书写机器人,包括驱动盒和机械手,其特征在于:所述驱动盒中设置有驱动装置,所述驱动装置包括第一同步带装置和第二同步带装置,所述第一同步带装置致动所述第二同步带装置;所述机械手设置在所述驱动盒外部,并与所述第二同步带装置连接;所述机械手通过所述第一同步带装置和第二同步带装置的驱动,在所述驱动盒外部的平面上移动。
要求:
1.一种智能书写机器人,包括驱动盒和机械手,其特征在于:所述驱动盒中设置有驱动装置,所述驱动装置包括第一同步带装置和第二同步带装置,所述第一同步带装置致动所述第二同步带装置;所述机械手设置在所述驱动盒外部,并与所述第二同步带装置连接;所述机械手通过所述第一同步带装置和第二同步带装置的驱动,在所述驱动盒外部的平面上移动。
2.根据权利要求1所述的智能书写机器人,其特征在于,所述驱动盒包括盒体和盒盖,所述盒体用于安装所述驱动装置;所述盒盖用于向所述机械手提供工作台面。
3.根据权利要求2所述的智能书写机器人,其特征在于,所述驱动装置还包括纵向导轨、横向导轨、第一滑块、第二滑块和电机,所述电机固定设置在所述纵向导轨上,所述横向导轨滑动设置于所述纵向导轨上,所述第一滑块滑动设置于所述横向导轨上,所述电机通过所述第一同步带装置驱动所述第一滑块在平面上移动。
4.根据权利要求3所述的智能书写机器人,其特征在于,所述第二同步带装置与所述第一滑块和第二滑块连接,所述机械手通过所述第二滑块与第二同步带装置连接。
5.根据权利要求4所述的智能书写机器人,其特征在于,所述电机包括第一电机和第二电机;所述第一同步带装置包括第一同步带机构和第二同步带机构;所述第一同步带机构包括第一驱动同步带轮,第一张紧同步带轮,第二张紧同步带轮,第三张紧同步带轮,第四张紧同步带轮和第一同步带;所述第二同步带机构包括第二驱动同步带轮,第五张紧同步带轮,第六张紧同步带轮,第七张紧同步带轮,第八张紧同步带轮和第二同步带;所述第一驱动同步带轮和第二驱动同步带轮分别由所述第一电机和第二电机驱动。
6.根据权利要求5所述的智能书写机器人,其特征在于,所述第二张紧同步带轮,第三张紧同步带轮之间的第一同步带与第六张紧同步带轮,第七张紧同步带轮之间的第二同步带上下空间交错布置。
7.根据权利要求6所述的智能书写机器人,其特征在于,所述横向导轨为层叠的框架结构,包括从上往下依次层叠设置的第一框板,第二框板和第三框板;所述第一框板,第二框板和第三框板为模块化结构,所述第一框板和第三框板的结构和尺寸完全相同;所述第二框板上设置有第一横向通道,所述第一横向通道与所述第一滑块配合,用于支撑所述第一滑块横向移动。
8.根据权利要求7所述的智能书写机器人,其特征在于,所述第二同步带装置包括第一横向支架,第二横向支架,第四框板,第九张紧同步带轮,第十张紧同步带轮,第三同步带;所述第一横向支架、第二横向支架设置所述横向导轨的第一框板上,用于支撑第九张紧同步带轮和第十张紧同步带轮。
9.根据权利要求8所述的智能书写机器人,其特征在于,所述第四框板设置在所述第一横向支架和第二横向支架上,并未于所述驱动盒外部;所述第四框板上设置有第二横向通道,所述第二横向通道与所述第二滑块配合,用于支撑所述第二滑块横向移动。
10.根据权利要求9所述的智能书写机器人,其特征在于,所述机械手包括支撑架和笔,所述笔固定在所述支撑架上,所述支撑架设置在所述第二滑块上。
一种智能书写机器人
技术领域
本发明涉及一种智能机器人设备领域,具体涉及一种智能书写机器人。
背景技术
在实际工作、生活中经常会遇到一些需要重复绘制、书写的情况,如教学时需要重复绘图,生活中书写邀请函、请柬、签字等,这种情况下,如果采用人工操作,既浪费时间也是对人力的巨大浪费。同时,在学习过程中,除了认字以外,学习如何书写也是必经过程之一;俗语见字如见人,可见一个人写字的好坏对别人的印象是极其重要的。现有的书写学习,一般都是照着字帖等模板进行临摹学习,这种练习字体的方式只是靠用户肉眼进行识别,然后依葫芦画瓢进行模仿;只靠眼睛的识别没有给用户提供真正写字时的笔画顺序、力度等,学习效果较差,用户也无法快速提高自己的书写技能。
目前,市场上存在一些写字、绘图机器人。但是上述机器人一般整体结构复杂,书写时占用面积较大;整个机器人体积过大和连接方式复杂,不便使用操作和携带运输等。同时上述机器人的书写精度较低,无法满足使用要求。
发明内容
为了解决上述问题,本发明的目的在于针对上述背景技术中的缺陷和不足,提供一种替代人工重复操作、结构简单、体积小、连接方便、易于移动、操作的智能书写机器人。同时该机器人制造简单,成本较低,便于大规模生产应用。
为了实现上述目的,本发明采用的技术方案为:
本发明提供一种智能书写机器人,包括驱动盒和机械手,其特征在于:所述驱动盒中设置有驱动装置,所述驱动装置包括第一同步带装置和第二同步带装置,所述第一同步带装置致动所述第二同步带装置;所述机械手设置在所述驱动盒外部,并与所述第二同步带装置连接;所述机械手通过所述第一同步带装置和第二同步带装置的驱动,在所述驱动盒外部的平面上移动。
进一步地,所述驱动盒包括盒体和盒盖,所述盒体用于安装所述驱动装置;所述盒盖用于向所述机械手提供工作台面。
进一步地,所述驱动装置还包括纵向导轨、横向导轨、第一滑块、第二滑块和电机,所述电机固定设置在所述纵向导轨上,所述横向导轨滑动设置于所述纵向导轨上,所述第一滑块滑动设置于所述横向导轨上,所述电机通过所述第一同步带装置驱动所述第一滑块在平面上移动。
进一步地,所述第二同步带装置与所述第一滑块和第二滑块连接,所述机械手通过所述第二滑块与第二同步带装置连接。
进一步地,,所述纵向导轨包括在盒体内两侧平行设置的第一纵向导轨和第二纵向导轨,所述横向导轨滑动设置于所述第一纵向导轨和第二纵向导轨之间。
进一步地,所述电机包括第一电机和第二电机;所述第一同步带装置包括第一同步带机构和第二同步带机构;所述第一同步带机构包括第一驱动同步带轮,第一张紧同步带轮,第二张紧同步带轮,第三张紧同步带轮,第四张紧同步带轮和第一同步带;所述第二同步带机构包括第二驱动同步带轮,第五张紧同步带轮,第六张紧同步带轮,第七张紧同步带轮,第八张紧同步带轮和第二同步带;所述第一驱动同步带轮和第二驱动同步带轮分别由所述第一电机和第二电机驱动。
进一步地,所述第一同步带为开口式同步带,所述第一同步带的两端分别固连在所述第一滑块的两侧,通过缠绕在所述第一驱动同步带轮,第一张紧同步带轮,第二张紧同步带轮和第三同步带轮上,进行驱动和张紧;所述第二同步带为开口式同步带,所述第二同步带两端分别固连在所述第一滑块的两侧,通过缠绕在所述第二驱动同步带轮,第四张紧同步带轮,第五张紧同步带轮和第六同步带轮上,进行驱动和张紧。
进一步地,所述第二张紧同步带轮,第三张紧同步带轮之间的第一同步带与第六张紧同步带轮,第七张紧同步带轮之间的第二同步带上下空间交错布置。
进一步地,所述横向导轨为层叠的框架结构,包括从上往下依次层叠设置的第一框板,第二框板和第三框板;所述第一框板,第二框板和第三框板为模块化结构,所述第一框板和第三框板的结构和尺寸完全相同;所述第二框板上设置有第一横向通道,所述第一横向通道与所述第一滑块配合,用于支撑所述第一滑块横向移动。
进一步地,所述第二同步带装置包括第一横向支架,第二横向支架,第四框板,第九张紧同步带轮,第十张紧同步带轮,第三同步带;所述第一横向支架、第二横向支架设置所述横向导轨的第一框板上,用于支撑第九张紧同步带轮和第十张紧同步带轮。
进一步地,所述第三同步带为封闭式同步带,设置在所述第九张紧同步带轮和第十张紧同步带轮上进行传动。
进一步地,所述第四框板设置在所述第一横向支架和第二横向支架上,并未于所述驱动盒外部;所述第四框板上设置有第二横向通道,所述第二横向通道与所述第二滑块配合,用于支撑所述第二滑块横向移动。
进一步地,所述第二同步带装置还包括第一同步带压板和第二同步带压板,所述第一滑块通过所述第一同步带压板与第三同步带连接,所述第二滑块通过所述第二同步带压板与所述第三同步带连接。
进一步地,所述机械手包括支撑架和笔,所述笔固定在所述支撑架上,所述支撑架设置在所述第二滑块上。
本发明提供的智能书写机器人与现有技术相比,有益效果在于:能够替代人工重复操作、结构简单、体积小、连接方便、易于移动、操作。同时该机器人制造简单,成本较低,可书写出满足不同方式、不同设计的绘画或书法作品,便于大规模生产应用。机械手结构小巧轻便,进行书写时,机械手的摩擦力小、惯性力小,跟随精度高、书写误差小;驱动盒内两条同步带空间交错的S形布置方式,使得智能书写机器人在相同的体积下,可以获得更大的工作范围。
总之,本发明提出了一种结构简单、实用性强的智能书写机器人,其在智能机器人领域中具有广泛的应用前景。
附图说明

图1是本发明智能书写机器人的结构示意图;

图2是本发明驱动盒内部的结构示意图;

图3是本发明驱动装置的结构示意图;

图4是本发明横向导轨的结构示意图一;

图5是本发明横向导轨的结构示意图二;

图6是本发明第二同步带装置的结构示意图一;

图7是本发明第二同步带装置的结构示意图二。
其中,附图标记说明如下:
1驱动盒,1-1盒体,1-2盒盖,1-3纵向导轨,1-31第一纵向导轨,1-32第二纵向导轨,1-4横向导轨,1-41第一框板,1-42第二框板,1-421第一横向通道,1-43第三框板,1-44滑轮,1-5第一滑块,1-6第一同步带装置,1-601第一驱动同步带轮,1-602第一张紧同步带轮,1-603第二张紧同步带轮,1-604第三张紧同步带轮,1-605第四张紧同步带轮,1-606第一同步带;1-607第二驱动同步带轮,1-608第五张紧同步带轮,1-609第六张紧同步带轮,第1-610七张紧同步带轮,1-611第八张紧同步带轮,1-612第二同步带,1-7第二同步带装置,1-71第一横向支架,1-72第二横向支架,1-73第四框板,1-731第二横向通道,1-74第九张紧同步带轮,1-75第十张紧同步带轮,1-76第三同步带,1-77第一同步带压板,1-78第二同步带压板,1-8第二滑块,1-91第一电机,1-92第二电机。
具体实施方式
为了使本领域技术人员更好地理解本发明的技术方案,下面结合具体实施例对本发明作进一步的详细说明。请注意,下面描述的实施例是示例性的,仅用于解释本发明,而不能理解为对本发明的限制。实施例中未注明具体技术或条件的,按照本领域内的文献所描述的技术或条件或者按照产品说明书进行。
在本发明的描述中,需要理解的是,术语“第一”、“第二”仅用于描述目的,而不能理解为指示或暗示相对重要性或者隐含指明所指示的技术特征的数量。由此,限定有“第一”、“第二”的特征可以明示或者隐含地包括一个或者更多个该特征。在本发明的描述中,“多个”的含义是两个或两个以上,除非另有明确具体的限定。
在本发明中,除非另有明确的规定和限定,术语“安装”、“相连”、“连接”、“固定”等术语应做广义理解,例如,可以是固定连接,也可以是可拆卸连接,或成一体;可以是机械连接,也可以是电连接;可以是直接相连,也可以通过中间媒介间接相连,可以是两个元件内部的连通或两个元件的相互作用关系。对于本领域的普通技术人员而言,可以根据具体情况理解上述术语在本发明中的具体含义。
以下,将通过具体实施例对本发明智能书写机器人作详细说明:
如图1- 7所示,本发明所述的智能书写机器人,包括驱动盒1和机械手2,所述驱动盒中设置有驱动装置,所述机械手2放置在驱动盒1上方,所述驱动盒1的上表面通过固定装置固定有纸3,并位于机械手2下方,机械手2通过所述驱动装置的驱动控制,在纸3上进行写字或绘画。本发明所述固定装置可以为上下对应磁扣、夹扣装置等本领域常见的纸张固定装置,本发明在此不做特殊限制。
所述驱动盒1包括盒体1-1和盒盖1-2,所述盒体1-1用于安装驱动装置;盒盖1-2用于将部分驱动装置与机械手2分离,同时所述盒盖还提供工作台面。所述驱动装置包括纵向导轨1-3、横向导轨1-4、第一滑块1-5、第一同步带装置1-6、第二同步带装置1-7、第二滑块1-8和电机1-9等零部件。所述纵向导轨1-3包括在盒体内两侧平行设置的第一纵向导轨1-31和第二纵向导轨1-32。所述横向导轨1-4滑动设置于所述第一纵向导轨1-31和第二纵向导轨1-32之间。第一滑块1-5滑动设置于所述横向导轨1-4上,通过在由所述电机驱动的第一同步带装置1-6的致动下,可在一定的平面范围内的任意位置上移动。第二同步带装置1-7设置在所述横向导轨1-4上,第一滑块1-5与所述第二同步带装置1-7的同步带固连,机械手2通过第二滑块1-8与第二同步带装置1-7同步带固连,第一滑块1-5通过第二同步带装置1-7带动机械手2同步移动;由此驱动装置通过第一同步带装置1-6、第二同步带装置1-7传动,带动机械手2在一定平面范围内的位置间移动。
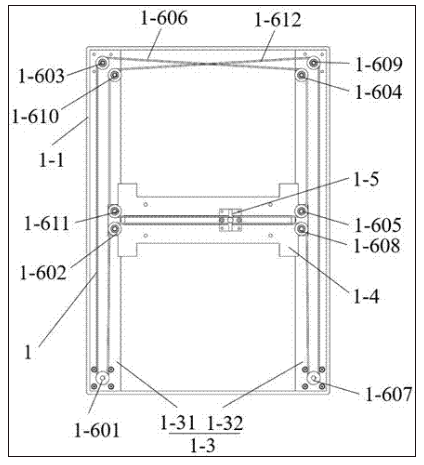
根据本发明所述的第一同步带装置1-6包括第一同步带机构和第二同步带机构。所述第一同步带机构包括第一驱动同步带轮1-601,第一张紧同步带轮1-602,第二张紧同步带轮1-603,第三张紧同步带轮1-604,第四张紧同步带轮1-605和第一同步带1-606;所述第二同步带机构包括第二驱动同步带轮1-607,第五张紧同步带轮1-608,第六张紧同步带轮1-609,第七张紧同步带轮1-610,第八张紧同步带轮1-611和第二同步带1-612。所述第一驱动同步带轮1-601和第二驱动同步带轮1-607分别由第一电机1-91和第二电机1-92驱动。所述第一同步带1-606为开口式同步带,两端分别固连在所述第一滑块1-5对应两侧,通过缠绕在第一驱动同步带轮,第一张紧同步带轮,第二张紧同步带轮、第三张紧同步带轮和第四张紧同步带轮上,进行驱动和张紧,从而实现第一同步带机构带动所述第一滑块1-5移动。所述第二同步带1-612为开口式同步带,两端分别固连在所述第一滑块1-5对应两侧,通过缠绕在第二驱动同步带轮,第五张紧同步带轮,第六张紧同步带轮、第七张紧同步带轮和第八张紧同步带轮上,进行驱动和张紧,从而实现第二同步带机构带动所述第一滑块移动。所述第二张紧同步带轮1-603、第三张紧同步带轮1-604之间的第一同步带1-606与第六张紧同步带轮1-609、第七张紧同步带轮1-610之间的第二同步带1-612上下空间交错布置。第一同步带和第二同步带空间交错的布置方式,使得智能书写机器人在相同的体积下,可以获得更大的工作范围。
根据本实施例所述的纵向导轨1-3中的第一纵向导轨1-31和第二纵向导轨1-32为模块化结构,通过在两个相同的型材上互换两端安装孔的加工位置,即可形成第一纵向导轨和第二纵向导轨在盒体内的对称布置结构。第一纵向导轨1-31的一端设置有第一电机1-91,另一端设置有第二张紧同步带轮1-603和第七张紧同步带轮1-610;与第一纵向导轨相对应的第二纵向导轨1-32的一端设置有第二电机1-92,另一端设置有第三张紧同步带轮1-604和第六张紧同步带轮1-609。
根据本实施例所述的横向导轨1-4为层叠结构的框架结构,包括从上往下依次层叠设置的第一框板1-41,第二框板1-42和第三框板1-43。所述第一框板,第二框板和第三框板为模块化结构,所述第一框板1-41和第三框板1-43的结构和尺寸完全相同;所述第二框板1-42与第一框板1-41和第三框板1-43不同之处在于,第二框板1-42内部为较小的第一横向通道1-421,所述第一横向通道与所述第一滑块1-5配合,用于支撑第一滑块1-5横向移动。第一框板1-41,第二框板1-42和第三框板1-43的安装孔位置相同,三个框板通过螺钉安装在一起。在所述第一框板1-41与所述第二框板1-42之间设置有第一张紧同步带轮1-602,第四张紧同步带轮1-605,第五张紧同步带轮1-608,第八张紧同步带轮1-611。所述第二框板1-42与所述第三框板1-43之间设置有滑轮1-44,所述滑轮与所述纵向导轨1-3配合,用于实现横向导轨1-4整体沿纵向导轨1-3纵向移动。所述滑轮1-44数量优选为四个,优选为轴承。
第二同步带装置1-7设置在横向导轨1-4上,所述第二同步带装置1-7包括第一横向支架1-71,第二横向支架1-72,第四框板1-73,第九张紧同步带轮1-74,第十张紧同步带轮1-75,第三同步带1-76,第一同步带压板1-77和第二同步带压板1-78等零部件。所述第一横向支架1-71、第二横向支架1-72设置所述横向导轨的第一框板1-41上,用于支撑第九张紧同步带轮1-74和第十张紧同步带轮1-75。第三同步带1-76为封闭式同步带,设置在所述第九张紧同步带轮1-74和第十张紧同步带轮1-75上进行传动。第四框板1-73设置在第一横向支架1-71,第二横向支架1-72上方,并未于驱动盒1外部,通过盒盖1-2与第一横向支架1-71和第二横向支架1-72部分分离。所述第四框板1-73上设置有第二横向通道1-731,所述第二横向通道1-731与所述第二滑块1-8配合,用于支撑第二滑块1-8横向移动。
第一滑块1-5通过第一同步带压板1-77与第三同步带1-76固连,第二滑块1-8通过第二同步带压板1-78与第三同步带1-76固连。第一滑块1-5通过第二同步带装置1-7对第二滑块1-8进行致动。
机械手2包括支撑架2-1和笔2-2,所述笔固定在所述支撑架上,所述支撑架2-1设置在第二滑块1-8上。
当所述第一电机1-91和第二电机1-92同向旋转时,带动所述第一滑块1-5只沿横向移动;当第一电机1-91和第二电机1-92反向旋转时,带动所述第一滑块1-5只沿纵向移动。当第一电机和第二电机旋转速度不同时,可带动所述第一滑块同时沿着横向和纵向移动,也就是斜着移动。又由于第二同步带装置1-7设置在横向导轨1-4上,第一滑块1-5通过第三同步带1-76与第二滑块1-8传动连接,通过对第一电机和第二电机旋转方向和速度的准确控制,可实现对第二滑块1-8位置的精确控制,进而实现对设置在第二滑块1-8上机械手2位置的精确控制,可实现高精度的写字或绘画。
根据本发明提供的智能书写机器人,驱动盒内还包括控制器(图中未示出),控制器用于根据用户输入的文字或图案生成相应的运动轨迹,再生成控制指令对电机旋转方向和速度进行精确控制,即可绘出用户输入的文字或图案。当然用户可以将编写好的书写控制指令直接输入到控制器,用于绘出自己想要的书法或绘画作品。
根据本发明提供的智能书写机器人,还包括语音模块(图中未示出)。用户可通过所述语音模块进行语音控制,语音模块用于在接受语音指令后,识别需要书写的内容,进行分解和计算,向控制器输出控制指令,控制器控制机器人用于绘出用户说出的字或绘画作品。
本发明提供的智能书写机器人能够替代人工重复操作、结构简单、体积小、连接方便、易于移动、操作。同时该机器人制造简单,成本较低,可书写出满足不同方式、不同设计的绘画或书法作品,便于大规模生产应用。机械手结构小巧轻便,进行书写时,机械手的摩擦力小、惯性力小,跟随精度高、书写误差小;驱动盒内两条同步带空间交错的S形布置方式,使得智能书写机器人在相同的体积下,可以获得更大的工作范围。
总之,本发明提出了一种结构简单、实用性强的智能书写机器人,其在智能机器人领域中具有广泛的应用前景。
在本发明中,除非另有明确的规定和限定,第一特征在第二特征“上”或“下”可以是第一和第二特征直接接触,或第一和第二特征通过中间媒介间接接触。而且,第一特征在第二特征“之上”、“上方”和“上面”可是第一特征在第二特征正上方或斜上方,或仅仅表示第一特征水平高度高于第二特征。第一特征在第二特征“之下”、“下方”和“下面” 可以是第一特征在第二特征正下方或斜下方,或仅仅表示第一特征水平高度小于第二特征。
在本说明书的描述中,参考术语“一个实施例”、“一些实施例”、“示例”、“具体示例”、 或“一些示例”等的描述意指结合该实施例或示例描述的具体特征、结构、材料或者特点包含于本发明的至少一个实施例或示例中。在本说明书中,对上述术语的示意性表述不必针对的是相同的实施例或示例。而且,描述的具体特征、结构、材料或者特点可以在任一个或多个实施例或示例中以合适的方式结合。此外,在不相互矛盾的情况下,本领域的技术人员可以将本说明书中描述的不同实施例或示例以及不同实施例或示例的特征进行结合和组合。
【申请公布号:CN108527401A;申请权利人:北京勤牛创智科技有限公司;发明设计人:贾瑞清; 张钧嘉; 周东旭; 董会; 王乾; 贾敏; 王磊;】
摘要:
本发明提供一种智能书写机器人,包括驱动盒和机械手,其特征在于:所述驱动盒中设置有驱动装置,所述驱动装置包括第一同步带装置和第二同步带装置,所述第一同步带装置致动所述第二同步带装置;所述机械手设置在所述驱动盒外部,并与所述第二同步带装置连接;所述机械手通过所述第一同步带装置和第二同步带装置的驱动,在所述驱动盒外部的平面上移动。本发明提供的智能书写机器人,机械手结构小巧轻便,进行书写时,机械手的摩擦力小、惯性力小,跟随精度高、书写误差小;驱动盒内两条同步带空间交错的S形布置方式,使得智能书写机器人在相同的体积下,可以获得更大的工作范围。
主权项:
1.一种智能书写机器人,包括驱动盒和机械手,其特征在于:所述驱动盒中设置有驱动装置,所述驱动装置包括第一同步带装置和第二同步带装置,所述第一同步带装置致动所述第二同步带装置;所述机械手设置在所述驱动盒外部,并与所述第二同步带装置连接;所述机械手通过所述第一同步带装置和第二同步带装置的驱动,在所述驱动盒外部的平面上移动。
要求:
1.一种智能书写机器人,包括驱动盒和机械手,其特征在于:所述驱动盒中设置有驱动装置,所述驱动装置包括第一同步带装置和第二同步带装置,所述第一同步带装置致动所述第二同步带装置;所述机械手设置在所述驱动盒外部,并与所述第二同步带装置连接;所述机械手通过所述第一同步带装置和第二同步带装置的驱动,在所述驱动盒外部的平面上移动。
2.根据权利要求1所述的智能书写机器人,其特征在于,所述驱动盒包括盒体和盒盖,所述盒体用于安装所述驱动装置;所述盒盖用于向所述机械手提供工作台面。
3.根据权利要求2所述的智能书写机器人,其特征在于,所述驱动装置还包括纵向导轨、横向导轨、第一滑块、第二滑块和电机,所述电机固定设置在所述纵向导轨上,所述横向导轨滑动设置于所述纵向导轨上,所述第一滑块滑动设置于所述横向导轨上,所述电机通过所述第一同步带装置驱动所述第一滑块在平面上移动。
4.根据权利要求3所述的智能书写机器人,其特征在于,所述第二同步带装置与所述第一滑块和第二滑块连接,所述机械手通过所述第二滑块与第二同步带装置连接。
5.根据权利要求4所述的智能书写机器人,其特征在于,所述电机包括第一电机和第二电机;所述第一同步带装置包括第一同步带机构和第二同步带机构;所述第一同步带机构包括第一驱动同步带轮,第一张紧同步带轮,第二张紧同步带轮,第三张紧同步带轮,第四张紧同步带轮和第一同步带;所述第二同步带机构包括第二驱动同步带轮,第五张紧同步带轮,第六张紧同步带轮,第七张紧同步带轮,第八张紧同步带轮和第二同步带;所述第一驱动同步带轮和第二驱动同步带轮分别由所述第一电机和第二电机驱动。
6.根据权利要求5所述的智能书写机器人,其特征在于,所述第二张紧同步带轮,第三张紧同步带轮之间的第一同步带与第六张紧同步带轮,第七张紧同步带轮之间的第二同步带上下空间交错布置。
7.根据权利要求6所述的智能书写机器人,其特征在于,所述横向导轨为层叠的框架结构,包括从上往下依次层叠设置的第一框板,第二框板和第三框板;所述第一框板,第二框板和第三框板为模块化结构,所述第一框板和第三框板的结构和尺寸完全相同;所述第二框板上设置有第一横向通道,所述第一横向通道与所述第一滑块配合,用于支撑所述第一滑块横向移动。
8.根据权利要求7所述的智能书写机器人,其特征在于,所述第二同步带装置包括第一横向支架,第二横向支架,第四框板,第九张紧同步带轮,第十张紧同步带轮,第三同步带;所述第一横向支架、第二横向支架设置所述横向导轨的第一框板上,用于支撑第九张紧同步带轮和第十张紧同步带轮。
9.根据权利要求8所述的智能书写机器人,其特征在于,所述第四框板设置在所述第一横向支架和第二横向支架上,并未于所述驱动盒外部;所述第四框板上设置有第二横向通道,所述第二横向通道与所述第二滑块配合,用于支撑所述第二滑块横向移动。
10.根据权利要求9所述的智能书写机器人,其特征在于,所述机械手包括支撑架和笔,所述笔固定在所述支撑架上,所述支撑架设置在所述第二滑块上。
一种智能书写机器人
技术领域
本发明涉及一种智能机器人设备领域,具体涉及一种智能书写机器人。
背景技术
在实际工作、生活中经常会遇到一些需要重复绘制、书写的情况,如教学时需要重复绘图,生活中书写邀请函、请柬、签字等,这种情况下,如果采用人工操作,既浪费时间也是对人力的巨大浪费。同时,在学习过程中,除了认字以外,学习如何书写也是必经过程之一;俗语见字如见人,可见一个人写字的好坏对别人的印象是极其重要的。现有的书写学习,一般都是照着字帖等模板进行临摹学习,这种练习字体的方式只是靠用户肉眼进行识别,然后依葫芦画瓢进行模仿;只靠眼睛的识别没有给用户提供真正写字时的笔画顺序、力度等,学习效果较差,用户也无法快速提高自己的书写技能。
目前,市场上存在一些写字、绘图机器人。但是上述机器人一般整体结构复杂,书写时占用面积较大;整个机器人体积过大和连接方式复杂,不便使用操作和携带运输等。同时上述机器人的书写精度较低,无法满足使用要求。
发明内容
为了解决上述问题,本发明的目的在于针对上述背景技术中的缺陷和不足,提供一种替代人工重复操作、结构简单、体积小、连接方便、易于移动、操作的智能书写机器人。同时该机器人制造简单,成本较低,便于大规模生产应用。
为了实现上述目的,本发明采用的技术方案为:
本发明提供一种智能书写机器人,包括驱动盒和机械手,其特征在于:所述驱动盒中设置有驱动装置,所述驱动装置包括第一同步带装置和第二同步带装置,所述第一同步带装置致动所述第二同步带装置;所述机械手设置在所述驱动盒外部,并与所述第二同步带装置连接;所述机械手通过所述第一同步带装置和第二同步带装置的驱动,在所述驱动盒外部的平面上移动。
进一步地,所述驱动盒包括盒体和盒盖,所述盒体用于安装所述驱动装置;所述盒盖用于向所述机械手提供工作台面。
进一步地,所述驱动装置还包括纵向导轨、横向导轨、第一滑块、第二滑块和电机,所述电机固定设置在所述纵向导轨上,所述横向导轨滑动设置于所述纵向导轨上,所述第一滑块滑动设置于所述横向导轨上,所述电机通过所述第一同步带装置驱动所述第一滑块在平面上移动。
进一步地,所述第二同步带装置与所述第一滑块和第二滑块连接,所述机械手通过所述第二滑块与第二同步带装置连接。
进一步地,,所述纵向导轨包括在盒体内两侧平行设置的第一纵向导轨和第二纵向导轨,所述横向导轨滑动设置于所述第一纵向导轨和第二纵向导轨之间。
进一步地,所述电机包括第一电机和第二电机;所述第一同步带装置包括第一同步带机构和第二同步带机构;所述第一同步带机构包括第一驱动同步带轮,第一张紧同步带轮,第二张紧同步带轮,第三张紧同步带轮,第四张紧同步带轮和第一同步带;所述第二同步带机构包括第二驱动同步带轮,第五张紧同步带轮,第六张紧同步带轮,第七张紧同步带轮,第八张紧同步带轮和第二同步带;所述第一驱动同步带轮和第二驱动同步带轮分别由所述第一电机和第二电机驱动。
进一步地,所述第一同步带为开口式同步带,所述第一同步带的两端分别固连在所述第一滑块的两侧,通过缠绕在所述第一驱动同步带轮,第一张紧同步带轮,第二张紧同步带轮和第三同步带轮上,进行驱动和张紧;所述第二同步带为开口式同步带,所述第二同步带两端分别固连在所述第一滑块的两侧,通过缠绕在所述第二驱动同步带轮,第四张紧同步带轮,第五张紧同步带轮和第六同步带轮上,进行驱动和张紧。
进一步地,所述第二张紧同步带轮,第三张紧同步带轮之间的第一同步带与第六张紧同步带轮,第七张紧同步带轮之间的第二同步带上下空间交错布置。
进一步地,所述横向导轨为层叠的框架结构,包括从上往下依次层叠设置的第一框板,第二框板和第三框板;所述第一框板,第二框板和第三框板为模块化结构,所述第一框板和第三框板的结构和尺寸完全相同;所述第二框板上设置有第一横向通道,所述第一横向通道与所述第一滑块配合,用于支撑所述第一滑块横向移动。
进一步地,所述第二同步带装置包括第一横向支架,第二横向支架,第四框板,第九张紧同步带轮,第十张紧同步带轮,第三同步带;所述第一横向支架、第二横向支架设置所述横向导轨的第一框板上,用于支撑第九张紧同步带轮和第十张紧同步带轮。
进一步地,所述第三同步带为封闭式同步带,设置在所述第九张紧同步带轮和第十张紧同步带轮上进行传动。
进一步地,所述第四框板设置在所述第一横向支架和第二横向支架上,并未于所述驱动盒外部;所述第四框板上设置有第二横向通道,所述第二横向通道与所述第二滑块配合,用于支撑所述第二滑块横向移动。
进一步地,所述第二同步带装置还包括第一同步带压板和第二同步带压板,所述第一滑块通过所述第一同步带压板与第三同步带连接,所述第二滑块通过所述第二同步带压板与所述第三同步带连接。
进一步地,所述机械手包括支撑架和笔,所述笔固定在所述支撑架上,所述支撑架设置在所述第二滑块上。
本发明提供的智能书写机器人与现有技术相比,有益效果在于:能够替代人工重复操作、结构简单、体积小、连接方便、易于移动、操作。同时该机器人制造简单,成本较低,可书写出满足不同方式、不同设计的绘画或书法作品,便于大规模生产应用。机械手结构小巧轻便,进行书写时,机械手的摩擦力小、惯性力小,跟随精度高、书写误差小;驱动盒内两条同步带空间交错的S形布置方式,使得智能书写机器人在相同的体积下,可以获得更大的工作范围。
总之,本发明提出了一种结构简单、实用性强的智能书写机器人,其在智能机器人领域中具有广泛的应用前景。
附图说明

图1是本发明智能书写机器人的结构示意图;

图2是本发明驱动盒内部的结构示意图;

图3是本发明驱动装置的结构示意图;

图4是本发明横向导轨的结构示意图一;

图5是本发明横向导轨的结构示意图二;

图6是本发明第二同步带装置的结构示意图一;

图7是本发明第二同步带装置的结构示意图二。
其中,附图标记说明如下:
1驱动盒,1-1盒体,1-2盒盖,1-3纵向导轨,1-31第一纵向导轨,1-32第二纵向导轨,1-4横向导轨,1-41第一框板,1-42第二框板,1-421第一横向通道,1-43第三框板,1-44滑轮,1-5第一滑块,1-6第一同步带装置,1-601第一驱动同步带轮,1-602第一张紧同步带轮,1-603第二张紧同步带轮,1-604第三张紧同步带轮,1-605第四张紧同步带轮,1-606第一同步带;1-607第二驱动同步带轮,1-608第五张紧同步带轮,1-609第六张紧同步带轮,第1-610七张紧同步带轮,1-611第八张紧同步带轮,1-612第二同步带,1-7第二同步带装置,1-71第一横向支架,1-72第二横向支架,1-73第四框板,1-731第二横向通道,1-74第九张紧同步带轮,1-75第十张紧同步带轮,1-76第三同步带,1-77第一同步带压板,1-78第二同步带压板,1-8第二滑块,1-91第一电机,1-92第二电机。
具体实施方式
为了使本领域技术人员更好地理解本发明的技术方案,下面结合具体实施例对本发明作进一步的详细说明。请注意,下面描述的实施例是示例性的,仅用于解释本发明,而不能理解为对本发明的限制。实施例中未注明具体技术或条件的,按照本领域内的文献所描述的技术或条件或者按照产品说明书进行。
在本发明的描述中,需要理解的是,术语“第一”、“第二”仅用于描述目的,而不能理解为指示或暗示相对重要性或者隐含指明所指示的技术特征的数量。由此,限定有“第一”、“第二”的特征可以明示或者隐含地包括一个或者更多个该特征。在本发明的描述中,“多个”的含义是两个或两个以上,除非另有明确具体的限定。
在本发明中,除非另有明确的规定和限定,术语“安装”、“相连”、“连接”、“固定”等术语应做广义理解,例如,可以是固定连接,也可以是可拆卸连接,或成一体;可以是机械连接,也可以是电连接;可以是直接相连,也可以通过中间媒介间接相连,可以是两个元件内部的连通或两个元件的相互作用关系。对于本领域的普通技术人员而言,可以根据具体情况理解上述术语在本发明中的具体含义。
以下,将通过具体实施例对本发明智能书写机器人作详细说明:
如图1- 7所示,本发明所述的智能书写机器人,包括驱动盒1和机械手2,所述驱动盒中设置有驱动装置,所述机械手2放置在驱动盒1上方,所述驱动盒1的上表面通过固定装置固定有纸3,并位于机械手2下方,机械手2通过所述驱动装置的驱动控制,在纸3上进行写字或绘画。本发明所述固定装置可以为上下对应磁扣、夹扣装置等本领域常见的纸张固定装置,本发明在此不做特殊限制。
所述驱动盒1包括盒体1-1和盒盖1-2,所述盒体1-1用于安装驱动装置;盒盖1-2用于将部分驱动装置与机械手2分离,同时所述盒盖还提供工作台面。所述驱动装置包括纵向导轨1-3、横向导轨1-4、第一滑块1-5、第一同步带装置1-6、第二同步带装置1-7、第二滑块1-8和电机1-9等零部件。所述纵向导轨1-3包括在盒体内两侧平行设置的第一纵向导轨1-31和第二纵向导轨1-32。所述横向导轨1-4滑动设置于所述第一纵向导轨1-31和第二纵向导轨1-32之间。第一滑块1-5滑动设置于所述横向导轨1-4上,通过在由所述电机驱动的第一同步带装置1-6的致动下,可在一定的平面范围内的任意位置上移动。第二同步带装置1-7设置在所述横向导轨1-4上,第一滑块1-5与所述第二同步带装置1-7的同步带固连,机械手2通过第二滑块1-8与第二同步带装置1-7同步带固连,第一滑块1-5通过第二同步带装置1-7带动机械手2同步移动;由此驱动装置通过第一同步带装置1-6、第二同步带装置1-7传动,带动机械手2在一定平面范围内的位置间移动。
根据本发明所述的第一同步带装置1-6包括第一同步带机构和第二同步带机构。所述第一同步带机构包括第一驱动同步带轮1-601,第一张紧同步带轮1-602,第二张紧同步带轮1-603,第三张紧同步带轮1-604,第四张紧同步带轮1-605和第一同步带1-606;所述第二同步带机构包括第二驱动同步带轮1-607,第五张紧同步带轮1-608,第六张紧同步带轮1-609,第七张紧同步带轮1-610,第八张紧同步带轮1-611和第二同步带1-612。所述第一驱动同步带轮1-601和第二驱动同步带轮1-607分别由第一电机1-91和第二电机1-92驱动。所述第一同步带1-606为开口式同步带,两端分别固连在所述第一滑块1-5对应两侧,通过缠绕在第一驱动同步带轮,第一张紧同步带轮,第二张紧同步带轮、第三张紧同步带轮和第四张紧同步带轮上,进行驱动和张紧,从而实现第一同步带机构带动所述第一滑块1-5移动。所述第二同步带1-612为开口式同步带,两端分别固连在所述第一滑块1-5对应两侧,通过缠绕在第二驱动同步带轮,第五张紧同步带轮,第六张紧同步带轮、第七张紧同步带轮和第八张紧同步带轮上,进行驱动和张紧,从而实现第二同步带机构带动所述第一滑块移动。所述第二张紧同步带轮1-603、第三张紧同步带轮1-604之间的第一同步带1-606与第六张紧同步带轮1-609、第七张紧同步带轮1-610之间的第二同步带1-612上下空间交错布置。第一同步带和第二同步带空间交错的布置方式,使得智能书写机器人在相同的体积下,可以获得更大的工作范围。
根据本实施例所述的纵向导轨1-3中的第一纵向导轨1-31和第二纵向导轨1-32为模块化结构,通过在两个相同的型材上互换两端安装孔的加工位置,即可形成第一纵向导轨和第二纵向导轨在盒体内的对称布置结构。第一纵向导轨1-31的一端设置有第一电机1-91,另一端设置有第二张紧同步带轮1-603和第七张紧同步带轮1-610;与第一纵向导轨相对应的第二纵向导轨1-32的一端设置有第二电机1-92,另一端设置有第三张紧同步带轮1-604和第六张紧同步带轮1-609。
根据本实施例所述的横向导轨1-4为层叠结构的框架结构,包括从上往下依次层叠设置的第一框板1-41,第二框板1-42和第三框板1-43。所述第一框板,第二框板和第三框板为模块化结构,所述第一框板1-41和第三框板1-43的结构和尺寸完全相同;所述第二框板1-42与第一框板1-41和第三框板1-43不同之处在于,第二框板1-42内部为较小的第一横向通道1-421,所述第一横向通道与所述第一滑块1-5配合,用于支撑第一滑块1-5横向移动。第一框板1-41,第二框板1-42和第三框板1-43的安装孔位置相同,三个框板通过螺钉安装在一起。在所述第一框板1-41与所述第二框板1-42之间设置有第一张紧同步带轮1-602,第四张紧同步带轮1-605,第五张紧同步带轮1-608,第八张紧同步带轮1-611。所述第二框板1-42与所述第三框板1-43之间设置有滑轮1-44,所述滑轮与所述纵向导轨1-3配合,用于实现横向导轨1-4整体沿纵向导轨1-3纵向移动。所述滑轮1-44数量优选为四个,优选为轴承。
第二同步带装置1-7设置在横向导轨1-4上,所述第二同步带装置1-7包括第一横向支架1-71,第二横向支架1-72,第四框板1-73,第九张紧同步带轮1-74,第十张紧同步带轮1-75,第三同步带1-76,第一同步带压板1-77和第二同步带压板1-78等零部件。所述第一横向支架1-71、第二横向支架1-72设置所述横向导轨的第一框板1-41上,用于支撑第九张紧同步带轮1-74和第十张紧同步带轮1-75。第三同步带1-76为封闭式同步带,设置在所述第九张紧同步带轮1-74和第十张紧同步带轮1-75上进行传动。第四框板1-73设置在第一横向支架1-71,第二横向支架1-72上方,并未于驱动盒1外部,通过盒盖1-2与第一横向支架1-71和第二横向支架1-72部分分离。所述第四框板1-73上设置有第二横向通道1-731,所述第二横向通道1-731与所述第二滑块1-8配合,用于支撑第二滑块1-8横向移动。
第一滑块1-5通过第一同步带压板1-77与第三同步带1-76固连,第二滑块1-8通过第二同步带压板1-78与第三同步带1-76固连。第一滑块1-5通过第二同步带装置1-7对第二滑块1-8进行致动。
机械手2包括支撑架2-1和笔2-2,所述笔固定在所述支撑架上,所述支撑架2-1设置在第二滑块1-8上。
当所述第一电机1-91和第二电机1-92同向旋转时,带动所述第一滑块1-5只沿横向移动;当第一电机1-91和第二电机1-92反向旋转时,带动所述第一滑块1-5只沿纵向移动。当第一电机和第二电机旋转速度不同时,可带动所述第一滑块同时沿着横向和纵向移动,也就是斜着移动。又由于第二同步带装置1-7设置在横向导轨1-4上,第一滑块1-5通过第三同步带1-76与第二滑块1-8传动连接,通过对第一电机和第二电机旋转方向和速度的准确控制,可实现对第二滑块1-8位置的精确控制,进而实现对设置在第二滑块1-8上机械手2位置的精确控制,可实现高精度的写字或绘画。
根据本发明提供的智能书写机器人,驱动盒内还包括控制器(图中未示出),控制器用于根据用户输入的文字或图案生成相应的运动轨迹,再生成控制指令对电机旋转方向和速度进行精确控制,即可绘出用户输入的文字或图案。当然用户可以将编写好的书写控制指令直接输入到控制器,用于绘出自己想要的书法或绘画作品。
根据本发明提供的智能书写机器人,还包括语音模块(图中未示出)。用户可通过所述语音模块进行语音控制,语音模块用于在接受语音指令后,识别需要书写的内容,进行分解和计算,向控制器输出控制指令,控制器控制机器人用于绘出用户说出的字或绘画作品。
本发明提供的智能书写机器人能够替代人工重复操作、结构简单、体积小、连接方便、易于移动、操作。同时该机器人制造简单,成本较低,可书写出满足不同方式、不同设计的绘画或书法作品,便于大规模生产应用。机械手结构小巧轻便,进行书写时,机械手的摩擦力小、惯性力小,跟随精度高、书写误差小;驱动盒内两条同步带空间交错的S形布置方式,使得智能书写机器人在相同的体积下,可以获得更大的工作范围。
总之,本发明提出了一种结构简单、实用性强的智能书写机器人,其在智能机器人领域中具有广泛的应用前景。
在本发明中,除非另有明确的规定和限定,第一特征在第二特征“上”或“下”可以是第一和第二特征直接接触,或第一和第二特征通过中间媒介间接接触。而且,第一特征在第二特征“之上”、“上方”和“上面”可是第一特征在第二特征正上方或斜上方,或仅仅表示第一特征水平高度高于第二特征。第一特征在第二特征“之下”、“下方”和“下面” 可以是第一特征在第二特征正下方或斜下方,或仅仅表示第一特征水平高度小于第二特征。
在本说明书的描述中,参考术语“一个实施例”、“一些实施例”、“示例”、“具体示例”、 或“一些示例”等的描述意指结合该实施例或示例描述的具体特征、结构、材料或者特点包含于本发明的至少一个实施例或示例中。在本说明书中,对上述术语的示意性表述不必针对的是相同的实施例或示例。而且,描述的具体特征、结构、材料或者特点可以在任一个或多个实施例或示例中以合适的方式结合。此外,在不相互矛盾的情况下,本领域的技术人员可以将本说明书中描述的不同实施例或示例以及不同实施例或示例的特征进行结合和组合。
