应用案例
您当前的位置:产品应用
一种玻璃储片装置
一种玻璃储片装置
【申请公布号:CN108820883A;申请权利人:中国建材国际工程集团有限公司;发明设计人:申刚; 韩德刚; 倪龙珠; 张红明; 王川申; 高新刚; 潘海; 廖伟东;】
摘要:
本发明涉及玻璃深加工技术领域,尤其涉及一种玻璃储片装置,包括机架、驱动机构和两个相对间隔设置的升降机构,两个升降机构均沿竖向设于机架上,每个升降机构均包括可转动地支撑在机架上的从动轴,从动轴的两端均设有同步带传动组件,每个同步带传动组件均包括主动带轮、第一从动带轮和同步带,且主动带轮支撑在从动轴上,每个升降机构上均固定有多个水平设置的储片杆,且储片杆的两端分别固定在两个同步带的同一侧上;驱动机构驱动两个升降机构中的两个从动轴反向转动,带动同步带传动组件运行并带动储片杆上升或下降。储片杆能够实现的储片量不受玻璃输送辊道自身标高的限制,可以大大提高储片杆能够存放的玻璃片的数量。
主权项:
1.一种玻璃储片装置,其特征在于,包括机架(1)、驱动机构(2)和两个相对间隔设置的升降机构(3),两个所述升降机构(3)均沿竖向设于所述机架(1)上,每个所述升降机构(3)均包括可转动地支撑在所述机架(1)上的从动轴(31),所述从动轴(31)的两端均设有同步带传动组件,每个所述同步带传动组件均包括主动带轮(32)、第一从动带轮(33)和同步带(34),且所述主动带轮(32)支撑在所述从动轴(31)上,每个所述升降机构(3)上均固定有多个水平设置的储片杆(6),且所述储片杆(6)的两端分别固定在两个所述同步带(34)的同一侧上;所述驱动机构(2)驱动两个所述升降机构(3)中的两个所述从动轴(31)反向转动,带动所述同步带传动组件运行并带动所述储片杆(6)上升或下降。
要求:
1.一种玻璃储片装置,其特征在于,包括机架(1)、驱动机构(2)和两个相对间隔设置的升降机构(3),两个所述升降机构(3)均沿竖向设于所述机架(1)上,每个所述升降机构(3)均包括可转动地支撑在所述机架(1)上的从动轴(31),所述从动轴(31)的两端均设有同步带传动组件,每个所述同步带传动组件均包括主动带轮(32)、第一从动带轮(33)和同步带(34),且所述主动带轮(32)支撑在所述从动轴(31)上,每个所述升降机构(3)上均固定有多个水平设置的储片杆(6),且所述储片杆(6)的两端分别固定在两个所述同步带(34)的同一侧上;所述驱动机构(2)驱动两个所述升降机构(3)中的两个所述从动轴(31)反向转动,带动所述同步带传动组件运行并带动所述储片杆(6)上升或下降。
2.根据权利要求1所述的玻璃储片装置,其特征在于,所述驱动机构(2)包括驱动件(21)和主动轴(22),所述主动轴(22)上相对设有两个主动锥齿轮(23),两个所述主动锥齿轮(23)各与一从动锥齿轮(24)相啮合,两个所述从动锥齿轮(24)分别固定在两个所述升降机构(3)的所述从动轴(31)上,所述驱动件(21)驱动所述主动轴(22)转动,带动两个所述从动锥齿轮(24)反向转动。
3.根据权利要求1所述的玻璃储片装置,其特征在于,每个所述升降机构(3)均设有同步带张紧结构。
4.根据权利要求3所述的玻璃储片装置,其特征在于,所述同步带张紧结构包括张紧轴(36)和调节组件(30),所述张紧轴(36)可转动地支撑在所述机架(1)上且与所述从动轴(31)相平行,所述张紧轴(36)的两端均设有张紧带轮(37),两个所述张紧带轮(37)分别与两个所述同步带(34)相配合,所述调节组件(30)驱动所述张紧轴(36)移动,使所述张紧带轮(37)将所述同步带(34)张紧。
5.根据权利要求4所述的玻璃储片装置,其特征在于,所述张紧轴(36)通过轴承座(301)可转动地支撑在所述机架(1)上,且所述轴承座(301)可移动地设于所述机架(1)上,所述调节组件(30)包括两个相对设于所述轴承座(301)的两侧且均与所述轴承座(301)相抵接的螺栓(302),两个所述螺栓(302)各与一固设于所述机架(1)上的螺母(303)相配合。
6.根据权利要求4所述的玻璃储片装置,其特征在于,每个所述同步带传动组件均包括第二从动带轮(38),所述同步带(34)绕所述主动带轮(32)、所述第一从动带轮(33)、所述张紧带轮(37)和所述第二从动带轮(38)循环运行。
7.根据权利要求1所述的玻璃储片装置,其特征在于,还包括玻璃输送辊道(4),所述玻璃输送辊道(4)包括多个水平间隔设置的用于输送玻璃片(5)的辊道条(41),所述同步带(34)穿插于所述辊道条(41)之间,且所述储片杆(6)与所述辊道条(41)相平行。
8.根据权利要求7所述的玻璃储片装置,其特征在于,每个所述同步带传动组件均设有同步带(34)导向结构。
9.根据权利要求8所述的玻璃储片装置,其特征在于,所述同步带(34)导向结构设于所述玻璃输送辊道(4)上。
10.根据权利要求9所述的玻璃储片装置,其特征在于,所述同步带(34)导向结构包括设于所述玻璃输送辊道(4)上的导向支架(71)和相对间隔地设于所述导向支架(71)上的两个导向件(72),两个所述导向件(72)之间形成供所述同步带(34)通过的导向通道,且所述同步带(34)与所述导向通道间隙配合。
一种玻璃储片装置
技术领域
本发明涉及玻璃深加工技术领域,尤其涉及一种玻璃储片装置。
背景技术
在玻璃深加工过程中,玻璃储片装置起着非常重要的作用。当玻璃深加工生产线中出现玻璃片堵塞生产线或者出现不合格玻璃片时,玻璃储片装置通过存储架将多出的玻璃片储存起来,并在连线正常运行时自动释放存储架上储存的玻璃片。
传统的玻璃储片装置采用四个升降机联动来提供动力,驱动存储架升降,这种形式的玻璃储片装置不仅结构复杂,而且存储架上能够实现的储片量受制于玻璃输送辊道标高以及厂房高度空间的限制,无法满足大储片量的生产要求。
发明内容
本发明要解决的技术问题是提供一种储片量不受玻璃输送辊道标高限制的玻璃储片装置,以克服现有技术的上述缺陷。
为了解决上述技术问题,本发明采用如下技术方案:一种玻璃储片装置,包括机架、驱动机构和两个相对间隔设置的升降机构,两个升降机构均沿竖向设于机架上,每个升降机构均包括可转动地支撑在机架上的从动轴,从动轴的两端均设有同步带传动组件,每个同步带传动组件均包括主动带轮、第一从动带轮和同步带,且主动带轮支撑在从动轴上,每个升降机构上均固定有多个水平设置的储片杆,且储片杆的两端分别固定在两个同步带的同一侧上;驱动机构驱动两个升降机构中的两个从动轴反向转动,带动同步带传动组件运行并带动储片杆上升或下降。
优选地,驱动机构包括驱动件和主动轴,主动轴上相对设有两个主动锥齿轮,两个主动锥齿轮各与一从动锥齿轮相啮合,两个从动锥齿轮分别固定在两个升降机构的从动轴上,驱动件驱动主动轴转动,带动两个从动锥齿轮反向转动。
优选地,每个升降机构均设有同步带张紧结构。
优选地,同步带张紧结构包括张紧轴和调节组件,张紧轴可转动地支撑在机架上且与从动轴相平行,张紧轴的两端均设有张紧带轮,两个张紧带轮分别与两个同步带相配合,调节组件驱动张紧轴移动,使张紧带轮将同步带张紧。
优选地,张紧轴通过轴承座可转动地支撑在机架上,且轴承座可移动地设于机架上,调节组件包括两个相对设于轴承座的两侧且均与轴承座相抵接的螺栓,两个螺栓各与一固设于机架上的螺母相配合。
优选地,每个同步带传动组件均包括第二从动带轮,同步带绕主动带轮、第一从动带轮、张紧带轮和第二从动带轮循环运行。
优选地,还包括玻璃输送辊道,玻璃输送辊道包括多个水平间隔设置的用于输送玻璃片的辊道条,同步带穿插于辊道条之间,且储片杆与辊道条相平行。
优选地,每个同步带传动组件均设有同步带导向结构。
优选地,同步带导向结构设于玻璃输送辊道上。
优选地,同步带导向结构包括设于玻璃输送辊道上的导向支架和相对间隔地设于导向支架上的两个导向件,两个导向件之间形成供同步带通过的导向通道,且同步带与导向通道间隙配合。
与现有技术相比,本发明具有显著的进步:
当玻璃片的长度小于两个升降机构的同步带沿玻璃片前进方向的最大间隔距离时,对升降机构两侧的储片杆所在高度的调节可以不受玻璃输送辊道自身标高的限制,因此储片杆能够实现的储片量不受玻璃输送辊道自身标高的限制,可以大大提高储片杆能够存放的玻璃片的数量。
附图说明

图1是本发明实施例的玻璃储片装置的立体结构示意图。

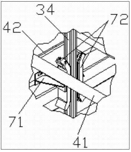
图2是图1中A部的放大示意图。

图3是图1中示出的玻璃储片装置的俯视局部剖视示意图。

图4是图1中示出的玻璃储片装置的主视局部剖视示意图。

图5是图4中B部的放大示意图。

图6是图1中示出的玻璃储片装置的左视示意图。

图7是图1中示出的玻璃储片装置的工作原理示意图。
其中,附图标记说明如下:
1、机架 11、立柱
12、上横梁 13、下横梁
14、桁架 2、驱动机构
21、驱动件 22、主动轴
23、主动锥齿轮 24、从动锥齿轮
3、升降机构 31、从动轴
32、主动带轮 33、第一从动带轮
34、同步带 35、第一传动轴
36、张紧轴 37、张紧带轮
38、第二从动带轮 39、第二传动轴
30、调节组件 301、轴承座
302、螺栓 303、螺母
4、玻璃输送辊道 41、辊道条
42、辊道支架 5、玻璃片
6、储片杆 71、导向支架
72、导向件
具体实施方式
下面结合附图对本发明的具体实施方式作进一步详细说明。这些实施方式仅用于说明本发明,而并非对本发明的限制。
在本发明的描述中,需要说明的是,术语“中心”、“纵向”、“横向”、“上”、“下”、“前”、“后”、“左”、“右”、“竖直”、“水平”、“顶”、“底”“内”、“外”等指示的方位或位置关系为基于附图所示的方位或位置关系,仅是为了便于描述本发明和简化描述,而不是指示或暗示所指的装置或元件必须具有特定的方位、以特定的方位构造和操作,因此不能理解为对本发明的限制。此外,术语“第一”、“第二”仅用于描述目的,而不能理解为指示或暗示相对重要性。
在本发明的描述中,需要说明的是,除非另有明确的规定和限定,术语“安装”、“相连”、“连接”应做广义理解,例如,可以是固定连接,也可以是可拆卸连接,或一体地连接;可以是机械连接,也可以是电连接;可以是直接相连,也可以通过中间媒介间接相连,可以是两个元件内部的连通。对于本领域的普通技术人员而言,可以根据具体情况理解上述术语在本发明中的具体含义。
此外,在本发明的描述中,除非另有说明,“多个”的含义是两个或两个以上。
如图1至图7所示,本发明的玻璃储片装置的一种实施例。参见图1,本实施例的玻璃储片装置包括机架1、驱动机构2、升降机构3和玻璃输送辊道4。
其中,玻璃输送辊道4包括多个水平间隔设置的用于输送玻璃片5的辊道条41,所有的辊道条41支撑在辊道支架42上,辊道支架42上设有驱动辊道条41同步转动的驱动系统,当多个辊道条41同步转动时,可带动置于其上的玻璃片5前进,实现玻璃片5的输送。为便于描述,本文中,将玻璃片5在玻璃输送辊道4上的前进方向定义为X向,在同一水平面上与X向相垂直的方向定义为Y向,在同一竖直面上与X向相垂直的方向定义为Z向。
机架1包括立柱11、上横梁12和下横梁13。本实施例中,立柱11沿Z向设置,立柱11设有四根,且两两相对地设置在玻璃输送辊道4的两侧,四根立柱11通过桁架14相连接构成一矩形框架式支撑结构,玻璃输送辊道4从该矩形框架式支撑结构内部穿过。上横梁12设有两个,两个上横梁12均沿X向支撑在立柱11的上端且分别位于玻璃输送辊道4的两侧。下横梁13设有两个,两个下横梁13均沿X向支撑在立柱11的下端且分别位于玻璃输送辊道4的两侧。玻璃输送辊道4的辊道条41沿Y向设置且位于上横梁12与下横梁13之间。
升降机构3设有两个,两个升降机构3均沿竖向(即Z向)设于机架1上,且两个升降机构3沿X向相对间隔地设置,亦即,两个升降机构3在X向上成对称布置。本实施例中,每个升降机构3靠近另一升降机构3的一侧为工作侧,每个升降机构3远离另一升降机构3的一侧为非工作侧,则两个升降机构3的工作侧呈间隔相对且位于两个非工作侧之间。
每个升降机构3均包括可转动地支撑在机架1上的从动轴31,从动轴31沿Y向设置且与玻璃输送辊道4相对,即从动轴31与辊道条41平行且间隔。从动轴31的两端均设有同步带传动组件,两个同步带传动组件分别位于辊道条41的两端部。每个同步带传动组件均包括主动带轮32、第一从动带轮33和同步带34,主动带轮32支撑在从动轴31上,第一从动带轮33沿Z向与主动带轮32间隔相对设置,且使辊道条41位于主动带轮32和第一从动带轮33之间,同步带34的两端分别与主动带轮32和第一从动带轮33相配合,且同步带34穿插于间隔设置的辊道条41之间,同步带34可绕主动带轮32和第一从动带轮33在垂直于辊道条41的竖直平面内循环运行。每个升降机构3上均固定有多个水平设置的储片杆6,储片杆6沿Y向设置,且储片杆6的两端分别固定在两个同步带34的同一侧上,储片杆6与辊道条41相平行,相邻两个储片杆6之间具有用于通过和存储玻璃片5的间隔空间,辊道条41可将玻璃片5输送至该间隔空间。每个升降机构3中,通过从动轴31的转动,可带动两个同步带34同步绕相应的主动带轮32和第一从动带轮33循环运行,从而带动储片杆6随之沿Z向上升或下降,并使储片杆6在升降机构3的工作侧与非工作侧之间来回运动。通过储片杆6的上升或下降,可以实现两储片杆6之间的玻璃片5的存放或释放。通过储片杆6在升降机构3工作侧与非工作侧之间的来回运动,则可调整升降机构3工作侧与非工作侧的储片杆6的数量,从而实现工作侧与非工作侧的储片杆6所在高度的调节。通过两个同步带传动组件同步运行并共同带动储片杆6升降,可保证储片杆6在升降过程中保持水平,防止储片杆6倾斜而对玻璃片5的通过或存储造成破坏。
驱动机构2驱动两个升降机构3中的两个从动轴31反向转动,带动同步带传动组件运行并带动储片杆6上升或下降。即在驱动机构2的驱动下,两个从动轴31同步转动且转动方向相反,使得两个升降机构3的同步带34随之以相反的方向循环运行,由于两个升降机构3相对设置,因此两个升降机构3的同步带34在工作侧的升降趋势相同,两个升降机构3的同步带34在非工作侧的升降趋势亦相同且与工作侧的升降趋势相反,由此可实现两个升降机构3工作侧的储片杆6同步升降以及非工作侧的储片杆6同步升降。
参见图7,当玻璃片5沿X向的长度小于两个升降机构3的同步带34沿X向的最大间隔距离,即当玻璃片5沿X向的长度小于两个升降机构3位于非工作侧的同步带34之间的间隔距离时,玻璃片5可以从一个升降机构3非工作侧的储片杆6之间通过并到达两个升降机构3工作侧的储片杆6上,此时玻璃片5位于两个升降机构3的非工作侧之间,非工作侧的储片杆6不会对玻璃片5随工作侧的储片杆6升降产生影响,即使非工作侧储片杆6的高度超过了辊道条41的高度,玻璃片5也能通过并在两个非工作侧之间随两个工作侧的储片杆6升降。故此,对于长度小于两个升降机构3位于非工作侧的同步带34之间间隔距离的玻璃片5,对升降机构3非工作侧与工作侧的储片杆6所在高度的调节可以不受玻璃输送辊道4自身标高的限制,因此储片杆6能够实现的储片量不受玻璃输送辊道4自身标高的限制,特别是通过在初始状态下尽量降低升降机构3工作侧位于最上层的储片杆6的高度,并在后续工作过程中逐层提升升降机构3工作侧的储片杆6,可以大大提高储片杆6能够存放的玻璃片5的数量。
当玻璃输送辊道4上出现玻璃片5堵塞的情况时,可由驱动机构2驱动两个升降机构3工作侧的储片杆6同步上升,使玻璃片5随之上升而脱离辊道条41,以将多余的玻璃片存放在两工作侧的储片杆6上;当玻璃输送辊道4上出现连线缺片的情况时,则可由驱动机构2驱动两个升降机构3工作侧的储片杆6同步下降,使储片杆6上存放的玻璃片5下降而回到辊道条41上,并由辊道条41输送至下一生产环节。由此,通过两个升降机构3工作侧的储片杆6同步升降实现了玻璃片5的存放或释放。由一个驱动机构2驱动两个升降机构3同步运行,可保证两个升降机构3中储片杆6升降的一致性和平稳性,具有结构简单且工作效果好的优点。
参见图1和图3,本实施例中,驱动机构2设于机架1一侧。优选地,驱动机构2包括驱动件21和主动轴22,主动轴22沿X向设置,在主动轴22上相对设有两个主动锥齿轮23,两个主动锥齿轮23各与一从动锥齿轮24相啮合,两个从动锥齿轮24分别固定在两个升降机构3的从动轴31上,驱动件21驱动主动轴22转动,并通过两个主动锥齿轮23的转动分别带动两个从动锥齿轮24同步转动,由于两个主动锥齿轮23相对设置,因此两个主动锥齿轮23随主动轴22的同向转动将带动两个从动锥齿轮24反向转动,从而带动两个从动轴31反向转动。优选地,驱动件21可以采用伺服电机。
进一步,本实施例中,每个升降机构3均设有同步带张紧结构,用于对同步带34进行张紧,防止同步带34松懈而影响存放和释放玻璃片5。参见图1和图4,优选地,同步带张紧结构包括张紧轴36和调节组件30,张紧轴36可转动地支撑在机架1上且与从动轴31相平行,张紧轴36的两端均设有张紧带轮37,两个张紧带轮37分别与两个同步带34相配合,使同步带34绕主动带轮32、第一从动带轮33和张紧带轮37在垂直于辊道条41的竖直平面内循环运行。调节组件30驱动张紧轴36移动,使张紧带轮37将同步带34张紧。
参见图5,优选地,张紧轴36通过轴承座301可转动地支撑在机架1上,且轴承座301可移动地设于机架1上,调节组件30包括两个相对设于轴承座301两侧的螺栓302,两个螺栓302各与一固设于机架1上的螺母303螺纹配合,即两个螺栓302分别支撑在一个螺母303上。并且,两个螺栓302分别与轴承座301的两侧相抵接,以将轴承座301夹持固定在机架1上。通过同时反向拧动螺栓302,使两个螺栓302相对运动,即可推动轴承座301在两个螺母303之间移动而改变位置,并使两个螺栓302保持对轴承座301的抵接固定,由此即可实现张紧轴36位置的调节,从而实现张紧带轮37对同步带34的张紧。
为使同步带传动组件的传动更稳定,本实施例中,优选地,参见图1,每个同步带传动组件均包括第二从动带轮38,第二从动带轮38也与同步带34相配合,使同步带34绕主动带轮32、第一从动带轮33、张紧带轮37和第二从动带轮38在垂直于辊道条41的竖直平面内循环运行。
同步带传动组件中的主动带轮32、第一从动带轮33、张紧带轮37和第二从动带轮38四个带轮的相对位置设计并不局限。在一种较佳的实施方式中,参见图1和图6,每个升降机构3中,从动轴31的两端分别可转动地支撑在机架1上端的两个上横梁12上,使主动带轮32位于辊道条41的上方,第一从动带轮33则设于辊道条41的下方。第一从动带轮33支撑在机架1上,在机架1上设有第一传动轴35,第一传动轴35与从动轴31相平行,第一传动轴35的两端分别可转动地支撑在机架1下端的两个下横梁13上,两个第一从动带轮33则分别支撑在第一传动轴35的两端。第二从动带轮38支撑在机架1上且位于辊道条41的上方,在机架1上设有第二传动轴39,第二传动轴39与从动轴31相平行且水平间隔地设置,第二传动轴39的两端分别可转动地支撑在机架1上端的两个上横梁12上,两个第二从动带轮38则分别支撑在第二传动轴39的两端。张紧轴36的两端则分别可转动地支撑在机架1下端的两个下横梁13上,且张紧轴36与第一传动轴35平行错位地设置,且张紧轴36的位置高于第一传动轴35的位置。调节组件30中的两个螺栓302沿X向相对设于轴承座301的两侧,则可通过拧动螺栓302推动轴承座301在机架1上沿X向移动,从而带动张紧轴36和张紧带轮37沿X向移动,以实现对同步带34的张紧作用。从动轴31和第一传动轴35均位于升降机构3的工作侧,且从动轴31和第一传动轴35位于同一竖直面上,第二传动轴39和张紧轴36则均位于升降机构3的非工作侧,由此可保证在张紧带轮37在非工作侧将同步带34张紧时,位于工作侧的同步带34能够带动储片杆6沿Z向垂直上下运动,进一步保证两个升降机构3工作侧的储片杆6对玻璃片5存放和释放的一致性和稳定性。
本实施例的同步带传动组件中,同步带34优选地采用同步链,主动带轮32、第一从动带轮33、张紧带轮37和第二从动带轮38四个带轮则均为与同步链相啮合的链轮。
进一步,参见图1和图2,本实施例中,每个同步带传动组件均设有同步带导向结构,用于对同步带34的运行起到导向作用,防止同步带34跑偏。优选地,同步带导向结构设于升降机构3的工作侧,以对工作侧的同步带34进行导向,由此可进一步确保两个升降机构3工作侧的储片杆6沿Z向垂直上下运动。
本实施例中,同步带导向结构设于玻璃输送辊道4的辊道支架42上,可避免同步带导向结构对同步带传动组件的运行以及辊道条41的运行产生干扰。优选地,参见图2,同步带导向结构包括导向支架71和导向件72,导向支架71设于玻璃输送辊道4的辊道支架42上,导向件72设有两个,两个导向件72相对间隔地设于导向支架71上,两个导向件72之间形成一沿Z向延伸的导向通道,同步带34从该导向通道通过,且同步带34与导向通道间隙配合。由此,两个导向件72在对工作侧同步带34的垂直运行起到较好导向作用的同时,不会干扰同步带34的运行。
以上所述仅是本发明的优选实施方式,应当指出,对于本技术领域的普通技术人员来说,在不脱离本发明技术原理的前提下,还可以做出若干改进和替换,这些改进和替换也应视为本发明的保护范围。
【申请公布号:CN108820883A;申请权利人:中国建材国际工程集团有限公司;发明设计人:申刚; 韩德刚; 倪龙珠; 张红明; 王川申; 高新刚; 潘海; 廖伟东;】
摘要:
本发明涉及玻璃深加工技术领域,尤其涉及一种玻璃储片装置,包括机架、驱动机构和两个相对间隔设置的升降机构,两个升降机构均沿竖向设于机架上,每个升降机构均包括可转动地支撑在机架上的从动轴,从动轴的两端均设有同步带传动组件,每个同步带传动组件均包括主动带轮、第一从动带轮和同步带,且主动带轮支撑在从动轴上,每个升降机构上均固定有多个水平设置的储片杆,且储片杆的两端分别固定在两个同步带的同一侧上;驱动机构驱动两个升降机构中的两个从动轴反向转动,带动同步带传动组件运行并带动储片杆上升或下降。储片杆能够实现的储片量不受玻璃输送辊道自身标高的限制,可以大大提高储片杆能够存放的玻璃片的数量。
主权项:
1.一种玻璃储片装置,其特征在于,包括机架(1)、驱动机构(2)和两个相对间隔设置的升降机构(3),两个所述升降机构(3)均沿竖向设于所述机架(1)上,每个所述升降机构(3)均包括可转动地支撑在所述机架(1)上的从动轴(31),所述从动轴(31)的两端均设有同步带传动组件,每个所述同步带传动组件均包括主动带轮(32)、第一从动带轮(33)和同步带(34),且所述主动带轮(32)支撑在所述从动轴(31)上,每个所述升降机构(3)上均固定有多个水平设置的储片杆(6),且所述储片杆(6)的两端分别固定在两个所述同步带(34)的同一侧上;所述驱动机构(2)驱动两个所述升降机构(3)中的两个所述从动轴(31)反向转动,带动所述同步带传动组件运行并带动所述储片杆(6)上升或下降。
要求:
1.一种玻璃储片装置,其特征在于,包括机架(1)、驱动机构(2)和两个相对间隔设置的升降机构(3),两个所述升降机构(3)均沿竖向设于所述机架(1)上,每个所述升降机构(3)均包括可转动地支撑在所述机架(1)上的从动轴(31),所述从动轴(31)的两端均设有同步带传动组件,每个所述同步带传动组件均包括主动带轮(32)、第一从动带轮(33)和同步带(34),且所述主动带轮(32)支撑在所述从动轴(31)上,每个所述升降机构(3)上均固定有多个水平设置的储片杆(6),且所述储片杆(6)的两端分别固定在两个所述同步带(34)的同一侧上;所述驱动机构(2)驱动两个所述升降机构(3)中的两个所述从动轴(31)反向转动,带动所述同步带传动组件运行并带动所述储片杆(6)上升或下降。
2.根据权利要求1所述的玻璃储片装置,其特征在于,所述驱动机构(2)包括驱动件(21)和主动轴(22),所述主动轴(22)上相对设有两个主动锥齿轮(23),两个所述主动锥齿轮(23)各与一从动锥齿轮(24)相啮合,两个所述从动锥齿轮(24)分别固定在两个所述升降机构(3)的所述从动轴(31)上,所述驱动件(21)驱动所述主动轴(22)转动,带动两个所述从动锥齿轮(24)反向转动。
3.根据权利要求1所述的玻璃储片装置,其特征在于,每个所述升降机构(3)均设有同步带张紧结构。
4.根据权利要求3所述的玻璃储片装置,其特征在于,所述同步带张紧结构包括张紧轴(36)和调节组件(30),所述张紧轴(36)可转动地支撑在所述机架(1)上且与所述从动轴(31)相平行,所述张紧轴(36)的两端均设有张紧带轮(37),两个所述张紧带轮(37)分别与两个所述同步带(34)相配合,所述调节组件(30)驱动所述张紧轴(36)移动,使所述张紧带轮(37)将所述同步带(34)张紧。
5.根据权利要求4所述的玻璃储片装置,其特征在于,所述张紧轴(36)通过轴承座(301)可转动地支撑在所述机架(1)上,且所述轴承座(301)可移动地设于所述机架(1)上,所述调节组件(30)包括两个相对设于所述轴承座(301)的两侧且均与所述轴承座(301)相抵接的螺栓(302),两个所述螺栓(302)各与一固设于所述机架(1)上的螺母(303)相配合。
6.根据权利要求4所述的玻璃储片装置,其特征在于,每个所述同步带传动组件均包括第二从动带轮(38),所述同步带(34)绕所述主动带轮(32)、所述第一从动带轮(33)、所述张紧带轮(37)和所述第二从动带轮(38)循环运行。
7.根据权利要求1所述的玻璃储片装置,其特征在于,还包括玻璃输送辊道(4),所述玻璃输送辊道(4)包括多个水平间隔设置的用于输送玻璃片(5)的辊道条(41),所述同步带(34)穿插于所述辊道条(41)之间,且所述储片杆(6)与所述辊道条(41)相平行。
8.根据权利要求7所述的玻璃储片装置,其特征在于,每个所述同步带传动组件均设有同步带(34)导向结构。
9.根据权利要求8所述的玻璃储片装置,其特征在于,所述同步带(34)导向结构设于所述玻璃输送辊道(4)上。
10.根据权利要求9所述的玻璃储片装置,其特征在于,所述同步带(34)导向结构包括设于所述玻璃输送辊道(4)上的导向支架(71)和相对间隔地设于所述导向支架(71)上的两个导向件(72),两个所述导向件(72)之间形成供所述同步带(34)通过的导向通道,且所述同步带(34)与所述导向通道间隙配合。
一种玻璃储片装置
技术领域
本发明涉及玻璃深加工技术领域,尤其涉及一种玻璃储片装置。
背景技术
在玻璃深加工过程中,玻璃储片装置起着非常重要的作用。当玻璃深加工生产线中出现玻璃片堵塞生产线或者出现不合格玻璃片时,玻璃储片装置通过存储架将多出的玻璃片储存起来,并在连线正常运行时自动释放存储架上储存的玻璃片。
传统的玻璃储片装置采用四个升降机联动来提供动力,驱动存储架升降,这种形式的玻璃储片装置不仅结构复杂,而且存储架上能够实现的储片量受制于玻璃输送辊道标高以及厂房高度空间的限制,无法满足大储片量的生产要求。
发明内容
本发明要解决的技术问题是提供一种储片量不受玻璃输送辊道标高限制的玻璃储片装置,以克服现有技术的上述缺陷。
为了解决上述技术问题,本发明采用如下技术方案:一种玻璃储片装置,包括机架、驱动机构和两个相对间隔设置的升降机构,两个升降机构均沿竖向设于机架上,每个升降机构均包括可转动地支撑在机架上的从动轴,从动轴的两端均设有同步带传动组件,每个同步带传动组件均包括主动带轮、第一从动带轮和同步带,且主动带轮支撑在从动轴上,每个升降机构上均固定有多个水平设置的储片杆,且储片杆的两端分别固定在两个同步带的同一侧上;驱动机构驱动两个升降机构中的两个从动轴反向转动,带动同步带传动组件运行并带动储片杆上升或下降。
优选地,驱动机构包括驱动件和主动轴,主动轴上相对设有两个主动锥齿轮,两个主动锥齿轮各与一从动锥齿轮相啮合,两个从动锥齿轮分别固定在两个升降机构的从动轴上,驱动件驱动主动轴转动,带动两个从动锥齿轮反向转动。
优选地,每个升降机构均设有同步带张紧结构。
优选地,同步带张紧结构包括张紧轴和调节组件,张紧轴可转动地支撑在机架上且与从动轴相平行,张紧轴的两端均设有张紧带轮,两个张紧带轮分别与两个同步带相配合,调节组件驱动张紧轴移动,使张紧带轮将同步带张紧。
优选地,张紧轴通过轴承座可转动地支撑在机架上,且轴承座可移动地设于机架上,调节组件包括两个相对设于轴承座的两侧且均与轴承座相抵接的螺栓,两个螺栓各与一固设于机架上的螺母相配合。
优选地,每个同步带传动组件均包括第二从动带轮,同步带绕主动带轮、第一从动带轮、张紧带轮和第二从动带轮循环运行。
优选地,还包括玻璃输送辊道,玻璃输送辊道包括多个水平间隔设置的用于输送玻璃片的辊道条,同步带穿插于辊道条之间,且储片杆与辊道条相平行。
优选地,每个同步带传动组件均设有同步带导向结构。
优选地,同步带导向结构设于玻璃输送辊道上。
优选地,同步带导向结构包括设于玻璃输送辊道上的导向支架和相对间隔地设于导向支架上的两个导向件,两个导向件之间形成供同步带通过的导向通道,且同步带与导向通道间隙配合。
与现有技术相比,本发明具有显著的进步:
当玻璃片的长度小于两个升降机构的同步带沿玻璃片前进方向的最大间隔距离时,对升降机构两侧的储片杆所在高度的调节可以不受玻璃输送辊道自身标高的限制,因此储片杆能够实现的储片量不受玻璃输送辊道自身标高的限制,可以大大提高储片杆能够存放的玻璃片的数量。
附图说明

图1是本发明实施例的玻璃储片装置的立体结构示意图。

图2是图1中A部的放大示意图。

图3是图1中示出的玻璃储片装置的俯视局部剖视示意图。

图4是图1中示出的玻璃储片装置的主视局部剖视示意图。

图5是图4中B部的放大示意图。

图6是图1中示出的玻璃储片装置的左视示意图。

图7是图1中示出的玻璃储片装置的工作原理示意图。
其中,附图标记说明如下:
1、机架 11、立柱
12、上横梁 13、下横梁
14、桁架 2、驱动机构
21、驱动件 22、主动轴
23、主动锥齿轮 24、从动锥齿轮
3、升降机构 31、从动轴
32、主动带轮 33、第一从动带轮
34、同步带 35、第一传动轴
36、张紧轴 37、张紧带轮
38、第二从动带轮 39、第二传动轴
30、调节组件 301、轴承座
302、螺栓 303、螺母
4、玻璃输送辊道 41、辊道条
42、辊道支架 5、玻璃片
6、储片杆 71、导向支架
72、导向件
具体实施方式
下面结合附图对本发明的具体实施方式作进一步详细说明。这些实施方式仅用于说明本发明,而并非对本发明的限制。
在本发明的描述中,需要说明的是,术语“中心”、“纵向”、“横向”、“上”、“下”、“前”、“后”、“左”、“右”、“竖直”、“水平”、“顶”、“底”“内”、“外”等指示的方位或位置关系为基于附图所示的方位或位置关系,仅是为了便于描述本发明和简化描述,而不是指示或暗示所指的装置或元件必须具有特定的方位、以特定的方位构造和操作,因此不能理解为对本发明的限制。此外,术语“第一”、“第二”仅用于描述目的,而不能理解为指示或暗示相对重要性。
在本发明的描述中,需要说明的是,除非另有明确的规定和限定,术语“安装”、“相连”、“连接”应做广义理解,例如,可以是固定连接,也可以是可拆卸连接,或一体地连接;可以是机械连接,也可以是电连接;可以是直接相连,也可以通过中间媒介间接相连,可以是两个元件内部的连通。对于本领域的普通技术人员而言,可以根据具体情况理解上述术语在本发明中的具体含义。
此外,在本发明的描述中,除非另有说明,“多个”的含义是两个或两个以上。
如图1至图7所示,本发明的玻璃储片装置的一种实施例。参见图1,本实施例的玻璃储片装置包括机架1、驱动机构2、升降机构3和玻璃输送辊道4。
其中,玻璃输送辊道4包括多个水平间隔设置的用于输送玻璃片5的辊道条41,所有的辊道条41支撑在辊道支架42上,辊道支架42上设有驱动辊道条41同步转动的驱动系统,当多个辊道条41同步转动时,可带动置于其上的玻璃片5前进,实现玻璃片5的输送。为便于描述,本文中,将玻璃片5在玻璃输送辊道4上的前进方向定义为X向,在同一水平面上与X向相垂直的方向定义为Y向,在同一竖直面上与X向相垂直的方向定义为Z向。
机架1包括立柱11、上横梁12和下横梁13。本实施例中,立柱11沿Z向设置,立柱11设有四根,且两两相对地设置在玻璃输送辊道4的两侧,四根立柱11通过桁架14相连接构成一矩形框架式支撑结构,玻璃输送辊道4从该矩形框架式支撑结构内部穿过。上横梁12设有两个,两个上横梁12均沿X向支撑在立柱11的上端且分别位于玻璃输送辊道4的两侧。下横梁13设有两个,两个下横梁13均沿X向支撑在立柱11的下端且分别位于玻璃输送辊道4的两侧。玻璃输送辊道4的辊道条41沿Y向设置且位于上横梁12与下横梁13之间。
升降机构3设有两个,两个升降机构3均沿竖向(即Z向)设于机架1上,且两个升降机构3沿X向相对间隔地设置,亦即,两个升降机构3在X向上成对称布置。本实施例中,每个升降机构3靠近另一升降机构3的一侧为工作侧,每个升降机构3远离另一升降机构3的一侧为非工作侧,则两个升降机构3的工作侧呈间隔相对且位于两个非工作侧之间。
每个升降机构3均包括可转动地支撑在机架1上的从动轴31,从动轴31沿Y向设置且与玻璃输送辊道4相对,即从动轴31与辊道条41平行且间隔。从动轴31的两端均设有同步带传动组件,两个同步带传动组件分别位于辊道条41的两端部。每个同步带传动组件均包括主动带轮32、第一从动带轮33和同步带34,主动带轮32支撑在从动轴31上,第一从动带轮33沿Z向与主动带轮32间隔相对设置,且使辊道条41位于主动带轮32和第一从动带轮33之间,同步带34的两端分别与主动带轮32和第一从动带轮33相配合,且同步带34穿插于间隔设置的辊道条41之间,同步带34可绕主动带轮32和第一从动带轮33在垂直于辊道条41的竖直平面内循环运行。每个升降机构3上均固定有多个水平设置的储片杆6,储片杆6沿Y向设置,且储片杆6的两端分别固定在两个同步带34的同一侧上,储片杆6与辊道条41相平行,相邻两个储片杆6之间具有用于通过和存储玻璃片5的间隔空间,辊道条41可将玻璃片5输送至该间隔空间。每个升降机构3中,通过从动轴31的转动,可带动两个同步带34同步绕相应的主动带轮32和第一从动带轮33循环运行,从而带动储片杆6随之沿Z向上升或下降,并使储片杆6在升降机构3的工作侧与非工作侧之间来回运动。通过储片杆6的上升或下降,可以实现两储片杆6之间的玻璃片5的存放或释放。通过储片杆6在升降机构3工作侧与非工作侧之间的来回运动,则可调整升降机构3工作侧与非工作侧的储片杆6的数量,从而实现工作侧与非工作侧的储片杆6所在高度的调节。通过两个同步带传动组件同步运行并共同带动储片杆6升降,可保证储片杆6在升降过程中保持水平,防止储片杆6倾斜而对玻璃片5的通过或存储造成破坏。
驱动机构2驱动两个升降机构3中的两个从动轴31反向转动,带动同步带传动组件运行并带动储片杆6上升或下降。即在驱动机构2的驱动下,两个从动轴31同步转动且转动方向相反,使得两个升降机构3的同步带34随之以相反的方向循环运行,由于两个升降机构3相对设置,因此两个升降机构3的同步带34在工作侧的升降趋势相同,两个升降机构3的同步带34在非工作侧的升降趋势亦相同且与工作侧的升降趋势相反,由此可实现两个升降机构3工作侧的储片杆6同步升降以及非工作侧的储片杆6同步升降。
参见图7,当玻璃片5沿X向的长度小于两个升降机构3的同步带34沿X向的最大间隔距离,即当玻璃片5沿X向的长度小于两个升降机构3位于非工作侧的同步带34之间的间隔距离时,玻璃片5可以从一个升降机构3非工作侧的储片杆6之间通过并到达两个升降机构3工作侧的储片杆6上,此时玻璃片5位于两个升降机构3的非工作侧之间,非工作侧的储片杆6不会对玻璃片5随工作侧的储片杆6升降产生影响,即使非工作侧储片杆6的高度超过了辊道条41的高度,玻璃片5也能通过并在两个非工作侧之间随两个工作侧的储片杆6升降。故此,对于长度小于两个升降机构3位于非工作侧的同步带34之间间隔距离的玻璃片5,对升降机构3非工作侧与工作侧的储片杆6所在高度的调节可以不受玻璃输送辊道4自身标高的限制,因此储片杆6能够实现的储片量不受玻璃输送辊道4自身标高的限制,特别是通过在初始状态下尽量降低升降机构3工作侧位于最上层的储片杆6的高度,并在后续工作过程中逐层提升升降机构3工作侧的储片杆6,可以大大提高储片杆6能够存放的玻璃片5的数量。
当玻璃输送辊道4上出现玻璃片5堵塞的情况时,可由驱动机构2驱动两个升降机构3工作侧的储片杆6同步上升,使玻璃片5随之上升而脱离辊道条41,以将多余的玻璃片存放在两工作侧的储片杆6上;当玻璃输送辊道4上出现连线缺片的情况时,则可由驱动机构2驱动两个升降机构3工作侧的储片杆6同步下降,使储片杆6上存放的玻璃片5下降而回到辊道条41上,并由辊道条41输送至下一生产环节。由此,通过两个升降机构3工作侧的储片杆6同步升降实现了玻璃片5的存放或释放。由一个驱动机构2驱动两个升降机构3同步运行,可保证两个升降机构3中储片杆6升降的一致性和平稳性,具有结构简单且工作效果好的优点。
参见图1和图3,本实施例中,驱动机构2设于机架1一侧。优选地,驱动机构2包括驱动件21和主动轴22,主动轴22沿X向设置,在主动轴22上相对设有两个主动锥齿轮23,两个主动锥齿轮23各与一从动锥齿轮24相啮合,两个从动锥齿轮24分别固定在两个升降机构3的从动轴31上,驱动件21驱动主动轴22转动,并通过两个主动锥齿轮23的转动分别带动两个从动锥齿轮24同步转动,由于两个主动锥齿轮23相对设置,因此两个主动锥齿轮23随主动轴22的同向转动将带动两个从动锥齿轮24反向转动,从而带动两个从动轴31反向转动。优选地,驱动件21可以采用伺服电机。
进一步,本实施例中,每个升降机构3均设有同步带张紧结构,用于对同步带34进行张紧,防止同步带34松懈而影响存放和释放玻璃片5。参见图1和图4,优选地,同步带张紧结构包括张紧轴36和调节组件30,张紧轴36可转动地支撑在机架1上且与从动轴31相平行,张紧轴36的两端均设有张紧带轮37,两个张紧带轮37分别与两个同步带34相配合,使同步带34绕主动带轮32、第一从动带轮33和张紧带轮37在垂直于辊道条41的竖直平面内循环运行。调节组件30驱动张紧轴36移动,使张紧带轮37将同步带34张紧。
参见图5,优选地,张紧轴36通过轴承座301可转动地支撑在机架1上,且轴承座301可移动地设于机架1上,调节组件30包括两个相对设于轴承座301两侧的螺栓302,两个螺栓302各与一固设于机架1上的螺母303螺纹配合,即两个螺栓302分别支撑在一个螺母303上。并且,两个螺栓302分别与轴承座301的两侧相抵接,以将轴承座301夹持固定在机架1上。通过同时反向拧动螺栓302,使两个螺栓302相对运动,即可推动轴承座301在两个螺母303之间移动而改变位置,并使两个螺栓302保持对轴承座301的抵接固定,由此即可实现张紧轴36位置的调节,从而实现张紧带轮37对同步带34的张紧。
为使同步带传动组件的传动更稳定,本实施例中,优选地,参见图1,每个同步带传动组件均包括第二从动带轮38,第二从动带轮38也与同步带34相配合,使同步带34绕主动带轮32、第一从动带轮33、张紧带轮37和第二从动带轮38在垂直于辊道条41的竖直平面内循环运行。
同步带传动组件中的主动带轮32、第一从动带轮33、张紧带轮37和第二从动带轮38四个带轮的相对位置设计并不局限。在一种较佳的实施方式中,参见图1和图6,每个升降机构3中,从动轴31的两端分别可转动地支撑在机架1上端的两个上横梁12上,使主动带轮32位于辊道条41的上方,第一从动带轮33则设于辊道条41的下方。第一从动带轮33支撑在机架1上,在机架1上设有第一传动轴35,第一传动轴35与从动轴31相平行,第一传动轴35的两端分别可转动地支撑在机架1下端的两个下横梁13上,两个第一从动带轮33则分别支撑在第一传动轴35的两端。第二从动带轮38支撑在机架1上且位于辊道条41的上方,在机架1上设有第二传动轴39,第二传动轴39与从动轴31相平行且水平间隔地设置,第二传动轴39的两端分别可转动地支撑在机架1上端的两个上横梁12上,两个第二从动带轮38则分别支撑在第二传动轴39的两端。张紧轴36的两端则分别可转动地支撑在机架1下端的两个下横梁13上,且张紧轴36与第一传动轴35平行错位地设置,且张紧轴36的位置高于第一传动轴35的位置。调节组件30中的两个螺栓302沿X向相对设于轴承座301的两侧,则可通过拧动螺栓302推动轴承座301在机架1上沿X向移动,从而带动张紧轴36和张紧带轮37沿X向移动,以实现对同步带34的张紧作用。从动轴31和第一传动轴35均位于升降机构3的工作侧,且从动轴31和第一传动轴35位于同一竖直面上,第二传动轴39和张紧轴36则均位于升降机构3的非工作侧,由此可保证在张紧带轮37在非工作侧将同步带34张紧时,位于工作侧的同步带34能够带动储片杆6沿Z向垂直上下运动,进一步保证两个升降机构3工作侧的储片杆6对玻璃片5存放和释放的一致性和稳定性。
本实施例的同步带传动组件中,同步带34优选地采用同步链,主动带轮32、第一从动带轮33、张紧带轮37和第二从动带轮38四个带轮则均为与同步链相啮合的链轮。
进一步,参见图1和图2,本实施例中,每个同步带传动组件均设有同步带导向结构,用于对同步带34的运行起到导向作用,防止同步带34跑偏。优选地,同步带导向结构设于升降机构3的工作侧,以对工作侧的同步带34进行导向,由此可进一步确保两个升降机构3工作侧的储片杆6沿Z向垂直上下运动。
本实施例中,同步带导向结构设于玻璃输送辊道4的辊道支架42上,可避免同步带导向结构对同步带传动组件的运行以及辊道条41的运行产生干扰。优选地,参见图2,同步带导向结构包括导向支架71和导向件72,导向支架71设于玻璃输送辊道4的辊道支架42上,导向件72设有两个,两个导向件72相对间隔地设于导向支架71上,两个导向件72之间形成一沿Z向延伸的导向通道,同步带34从该导向通道通过,且同步带34与导向通道间隙配合。由此,两个导向件72在对工作侧同步带34的垂直运行起到较好导向作用的同时,不会干扰同步带34的运行。
以上所述仅是本发明的优选实施方式,应当指出,对于本技术领域的普通技术人员来说,在不脱离本发明技术原理的前提下,还可以做出若干改进和替换,这些改进和替换也应视为本发明的保护范围。
